В книге рассмотрены пещерные церкви, расположенные в так называемых «Пещерных городах»: монастырь на южном и западном обрывах Монастырской скалы, храм Евграфия, монастырь св. Софии, скит у станции Инкерман-I, Скит в Георгиевской (Крымской) балке, скит в Троицкой балке, скит на Северной стороне, монастырь Чилтер-Мармара, церковь «Успения», храм «Трех всадников», храм «Донаторов», «Гарнизонная» церковь, Юго-восточный монастырь, пещерная церковь на «площадке со склепами», пещерная церковь в обрыве под «площадкой со склепами, алтарь в карстовой пещере, Южный монастырь, Северный монастырь, Пещерная церковь на поляне Кильсе-тубю, проблема хронологии, Челтер-коба, Качи-кальен,Тепе-кермен, Чуфут-кале, Успенский монастырь и др.
Содержание
- Инкерман
- Монастырская скала
- Загантанская скала
- Левый берег р. Черной
- Челтер-Мармара
- Шулдан
- Эски-Кермен
- Мангуп
- Комплекс сооружений на оконечности мыса Тешкли-бурун
Список литературы
Список сокращений
Иллюстрации
Введение
На территории горного Юго-Западного Крыма расположено более тысячи памятников скальной архитектуры. Среди них особый интерес представляют пещерные церкви. Это наиболее архитектурно-выразительные, однако малоизученные помещения.
Специальных историографических обзоров, посвященных пещерным церквам, не существует, тем не менее сведения об истории изучения этих значительных памятников содержатся в ряде работ.
Н. Эрнст в статье, посвященной Эски-Кермену (1929), подробно рассмотрел историографию городища, уделив внимание и церквам (с. 15—22). В 1932 г. В. Равдоникас опубликовал подробную историю изучения «пещерных городов» (с. 7—29), в которой рассматривались и проблемы пещерных храмов.
Много внимания церквам было уделено в нашей работе, посвященной пещерным сооружениям Таврики (Могаричев 1992, с. 11—32), а также в статье Ю. Воронина и В. Даниленко о проблемах пещерных монастырей (1992, с. 169—177).
Более подробно освещена историография скальных храмов отдельных поселений — Мангупа (Герцен, Могаричев 1996, с. 3—4), Качи-Кальена (Могаричев 1995, с. 102), Баклы (Петровский 1994, с. 67—68) или отдельных памятников (Могаричев 1994, с. 57—59; Могаричев, Пономарев 1995, с. 143—144).
В задачу данного исследования не входит полный анализ историографии пещерных церквей, ее мы будем рассматривать при изучении конкретных памятников. Отметим лишь исследователей, внесших наибольший вклад в изучение пещерных церквей Крыма.
Первый относительно подробный обзор ряда пещерных церквей был опубликован П. Палласом (1881; 1883). Много места им отведено в работах З. Аркаса (1879), Дюбуа де Монпере (1843), П. Кеппена (1837, с. 235—290, 309—318, 321—322).
Среди исследователей второй половины XIX в. особо выделяется деятельность Д. Струкова, который обмерил и опубликовал ряд церквей Инкермана, Мангупа, Шулдана, Тепе-Кермена (1876). Ему же принадлежит и первая попытка реставрации скальных культовых памятников.
Первым исследователем, попытавшимся на серьезной научной основе составить свод пещерных церквей, был А. Бертье-Делагард. В 1886 г. он опубликовал подробные сведения, архитектурные обмеры и анализ всех известных ему скальных храмов Инкермана, Челтер-Мармары и Шулдана. Всего исследователь выявил 21 церковь (1886, с. 245—246). И до настоящего времени его статья является наиболее полным обзором данных памятников.
Пещерным сооружениям Тепе-Кермена была по священа капитальная статья Н. Боровко (1913), Баклы — работа И. Волошинова и Н. Клепинина (1912).
Начиная с 20-х гг. в литературе чаще стали появляться исследования по отдельным «пещерным городам». В них достаточно много места уделялось и церквам.
Отдельные скальные храмы Эски-Кермена подробно проанализированы в статьях Н. Эрнста (1929, с. 26—36), Н. Репникова (1932а, с. 108—122; 1935а, с. 26—38), Ю. Могаричева (1994), Качи-Кальена — Н. Репникова (19356) и Ю. Могаричева (1995), Шулдана — В. Бабенчикова (1935), Челтер-Кобы — Е. Веймарна и Н. Репникова (1935), В. Даниленко (1993; 1994), Челтер-Мармары — Е. Веймарна и М. Чорефа (1978), а также С. Беляева и В. Бушенкова (1986), Баклы — В. Петровского (1994), Мангупа — А. Герцена и Ю. Могаричева (1996), Инкермана — В. Филиппенко (1993) и Ю. Могаричева (1993; Могаричев, Пономарев 1995). Фрески из пещерных церквей Эски-Кермена и Мангупа были исследованы О. Домбровским (1966).
Пожалуй, самой сложной проблемой в изучении пещерных церквей является их хронология.
Одной из серьезных трудностей на этом пути — это зачастую полное отсутствие в пещерных сооружениях культурного слоя, а те напластования, которые обнаруживаются, сформировались в позднейшее время, когда функционирование комплексов уже прекратилось. Разумеется, и специфика церковной жизни не способствовала накоплению как в них, так и в непосредственной близости культурно-бытовых остатков. Находки подобных артефактов чаще всего единичны и исследованы в переотложенном состоянии в напластованиях, не относящихся ко времени существования церквей.
Не могут также прояснить вопрос хронологии эпиграфические памятники: надписи граффити, рисунки, христианские символы. Практически нельзя установить — одновременно или несколько позже создания церкви появились в ней эти изображения.
Для датировки пещерных церквей Таврики можно привлекать архитектурные аналогии в других регионах. На наш взгляд, отмечается сходство ряда крымских пещерных церквей с отдельными внутрискальными храмами Болгарии (Атанасов 1984; 1989; 1990; 1991; Атанасов, Чешмеджиев 1990; Маргос 1981; 1987), Румынии (Chiriac 1988), Испании (Garai-Olaun 1988), Южного Понта (Bryer, Winfield 1985), Каппадокии и других регионов.
Однако, проблема хронологии скальных памятников там также далека от окончательного решения.
Например, в Каппадокии, где известно около 600 пещерных церквей, остро стоит вопрос датировки так называемых малых храмов с низкокачественными росписями и нескольких базиликальных. Х. Грегуар (1909, с. 90—92); Г. Миллер (1910, с. 96); Жефраньйон (1925, 1932, 1936, 1942); М. Тьерри, Н. Тьерри (1963) и ряд других авторов определили их как доиконоборческие и иконоборческие. Датировка этих церквей, основанная только на стилистическом и иконографическом анализах, в 1970—1980 гг. была подвергнута серьезной критике. А. Эпштейн датировала ряд «иконоборческих» фресок концом IX — началом X в. (1977), к этому же времени склоняется и Л. Родли (1985, p. 223). Н. Тетериатникова также считает данные церкви постиконоборческими, однако датирует их второй половиной IX в. (1992).
Нет среди исследователей и полного согласия по хронологии пещерных церквей X—XI вв. (Epstein 1986; Rodley 1985).
В связи с этим, датировка пещерных церквей Крыма, основанная только на аналогии со скальными памятниками других регионов, не всегда возможна.
С большим основанием можно привлечь для датировки фресковые композиции, поскольку их хронология по стилистическим и жанровым признакам для памятников византийского круга разработана относительно неплохо. Тем более что нет особых оснований сомневаться в том, что росписи интерьеров, прежде всего алтарных частей, выполнялись вскоре после завершения строительных работ. Во всяком случае, данная закономерность отмечается для пещерных церквей Каппадокии и других провинций Византии. Однако и здесь мы встречаемся со значительными трудностями, поскольку, во-первых, не во всех пещерных церквах имелись фрески, во-вторых, в большинстве своем они полностью или почти полностью оказались уничтоженными.
С середины 80-х гг. нами была предпринята попытка архитектурно-археологического исследования пещерных сооружений (в основном некультовых). Опираясь на такие признаки, как топографические особенности размещения комплексов, планировка помещений, технические приемы их создания, привязка к наземным постройкам, наличие аналогий с надежно датированными памятниками, удалось выявить, по крайней мере, три этапа в развитии скальной архитектуры (Могаричев 1992).
Помещения периода А. Размеры варьируют в пределах от 3 до 11 м², они имеют овальную или скругленную в плане форму; наблюдается плавный переход от пола к стенам и от стен к потолку, в результате чего потолок приобретает форму коробового свода; на стенах помещений сохранились следы вырубки, отражающие технику создания пещерных сооружений, обозначенную нами как Т. 1 (косые борозды, образовавшиеся от кирочных ударов, расположенные, как правило, в одном направлении: сверху вниз под углом 35—50°; не всегда борозды располагаются строго параллельно. Расстояние между ними не более 0,08—0,09 м). К особенностям данных сооружений можно отнести вырубленные в скале скамьи и арочные ниши.
Помещения периода А обычно располагаются в расселинах у оборонительных стен, на краю плато городищ, в основном над древними подъемными дорогами. Они имели оборонительное назначение и использовались для контроля подъемных дорог, легкодоступных расселин, в качестве наблюдательных пунктов, привратных помещений, укрытий для караульных у оборонительных стен.
Всего их известно около 100. Датируются эти памятники второй половиной VI—VII вв.
Помещения периода Б. Их размеры варьируют от 6 до 100 м². Формы разнообразны, но фактически отсутствуют выраженные углы (за исключением церквей). Потолки встречаются двух типов: реже — коробовый свод, чаще — плоский. Тип обработки Т. 2 (параллельные или перекрещивающиеся глубокие борозды, расстояние между которыми не менее 0,1 м). Подтесанные стены встречаются только в церквах. Из внутренних деталей обращают на себя внимание ясли и каменные кольца, распространенные в большом количестве. Подавляющее большинство помещений периода Б (более 80%) имели хозяйственное назначение. Всего их насчитывается 700, 86% из них составляли загоны для скота, до 17% от общего числа помещений — церкви и сопутствующие им устройства (ризницы, усыпальницы).
Датируются помещения периода Б концом X—XI — серединой XIV в.
Помещения периода В. Их отличительной чертой является прямоугольная форма, резко выраженные углы, плоский потолок, гладкая обработка стен (Т.3). Датируются они серединой XIV—XVIII вв.
В настоящей работе будут рассматриваться пещерные церкви, расположенные на так называемых «пещерных городах»: Инкермане, Челтер-Мармаре, Шулдане, Эски-Кермене, Мангупе, Челтер-Кобе, Качи-Кальене, Тепе-Кермене, Чуфут-Кале, Успенском монастыре, Бакле (рис. 1), то есть в горной юго-западной части Крымского полуострова.
За пределами этой области они практически неизвестны, кроме, вероятно, Гераклейского полуострова. Однако это тема для специального исследования.
Публикуемые архитектурные обмеры церквей выполнены Д.Ю. Пономаревым, Е. В. и А.В. Петровыми, А.В. Згурским. Фотографии сделаны Л.А. Берестовским, фоторепродукции — Л.В. Юрчишко.
В монографии использованы материалы из фондовых коллекций Крымского краеведческого музея, Бахчисарайского государственного историко-культурного заповедника и архива Института истории материальной культуры (г. Санкт-Петербург).
Автор выражает благодарность А.И. Айбабину и А.Г. Герцену за помощь и консультации при подготовке данной работы.
Инкерман
Среди крымских «пещерных городов» особое место занимает Инкерман. Близость к Севастополю и Херсонесу, легкодоступность, уникальность ряда пещерных церквей — все эти факторы способствовали тому, что скальные памятники долины р. Черной являются самыми известными из всех подобных сооружений Крыма.
В литературе их описание можно встретить уже в XVII в. (священник Иаков) (Оболенский 1850, с. 685—692).
В конце XVIII—XIX вв. относительно подробные сведения содержатся в работах П. Палласа (1881, с. 112—113), С. Сестренцевича-Богуша (1806, с. 30), П. Сумарокова (1800, с. 124; 1803, с. 214), И. Муравьева-Апостола (1823, с. 96—97), П. Кеппена (1837, с. 240), О. Шишкиной (1848, с. 154—155), Е. Горчаковой (1881, с. 56—65), Я. Ставровского (1910, с. 724—725), И. Толстого и Н. Кондакова (1891) и ряда других авторов.
Отметим исследователей, оставивших наиболее интересную информацию об Инкерманских пещерных церквах.
З. Аркас в «Описании Ираклийского полуострова и древностей его» (1879) опубликовал подробные описания ряда церквей Монастырской скалы и левого берега р. Черной. Его сведения представляются важными, так как ряд памятников — в Георгиевской и Троицкой балках (с. 28) — впоследствии был разрушен при строительстве железной дороги.
В описании известного путешественника Дюбуа де Монпере также можно найти относительно подробные сведения о ряде храмов (1843, с. 251—264). Ему принадлежат и публикации нескольких, хоть и не совсем точных, планов церквей (рис. 2; 3).
Значительный вклад в изучение пещерных церквей Инкермана внес Д. Струков, проводивший там обследование и реставрацию ряда памятников. Он опубликовал подробное описание, планы и рисунки семи Инкерманских скальных памятников (Архив ИИМК, д. 35; 87; 1876, с. 24—30) (рис. 4—5). Его сведения чрезвычайно важны, так как уже в конце XIX в. часть из них была разрушена, а в некоторых утрачены важные детали.
А. Бертье-Делагард произвел детальное обследование пещерных монастырей Инкерманской долины, результаты которого нашли отражение в капитальном труде «Остатки древних сооружений в окрестностях Севастополя и пещерные города Крыма» (1886). Он выявил 392 пещерных сооружения, разделив их на 8 групп. Среди этих памятников были отмечены и обмерены 16 церквей (рис. 6—13).
В. Чепелев в 20-х гг. обследовал и опубликовал подробное описание так называемого «храма с крещальней» в южном обрыве Монастырской скалы (1927).
В 1937 г. в Инкермане вела исследование археологическая экспедиция. Ее сотрудниками были расчищены и обмерены ряд пещерных комплексов, в том числе: монастыри св. Климента и св. Софии, храмы Евграфия «с крещальней» и Вознесения (Архив ИИМК, д. 227) (рис. 14—22).
Материалы этой экспедиции, а также данные А. Бертье-Делагарда легли в основу инкерманского раздела «Материалов к археологической карте…» Н. Репникова (Архив ИИМК, д. 1).
А. Якобсон в ряде своих трудов обратил внимание на базилику св. Георгия, датируя ее иконоборческим временем (1964, с. 50—52; 1970, с. 178).
BВ. Филиппенко, рассматривая проблемы истории Инкерманского монастыря, попытался аргументировать его раннесредневековое происхождение (1993). Им был опубликован и ряд планов памятников (рис. 23—26).
Ряд проблем, связанных с пещерными храмами и монастырями долины р. Черной был затронут в некоторых наших работах (Могаричев 1993; Герцен, Могаричев 1995). В частности, опубликовано несколько ранее не известных церквей на Загайтанской скале (Могаричев, Пономарев 1995).
В заключение историографического обзора отметим следующее: пещерные церкви и монастыри Инкерманской долины исследованы явно недостаточно, единственный свод по ним был опубликован еще в конце XIX в. Практически не разработана хронология данных памятников, их интерпретация. Остро стоит проблема дифференциации пещерных сооружений на группы, на отдельные историко-топографические комплексы, то есть выделения среди множества пещерных сооружений отдельных монастырей и скитов (монастырский характер большинства инкерманских пещер вряд ли вызывает сомнение).
Другой аспект, на который стоит указать, это неравномерность изученности памятников. Если описания и обмеры монастырей св. Климента или св. Софии встречаются в литературе, то сведения о памятниках Загайтанской скалы практически отсутствуют (Могаричев, Пономарев 1995, с. 143).
Условно все пещерные сооружения Инкерманской долины можно разделить на три большие группы, внутри которых выделяются отдельные комплексы (рис. 27).
Монастырская скала
Комплекс на южном и западном обрывах
Комплекс в восточной части, в районе храма Евграфия.
Загайтанская скала
Комплекс в юго-западной части
Комплекс в восточной части
Левый берег р. Черной
Разрушенный комплекс в Троицкой балке
Уничтоженный комплекс в Георгиевской балке
Комплекс рядом с современной железнодорожной станцией Инкерман-I
Монастырь св. Софии
Рассмотрим пещерные церкви Инкерманской долины, начав по традиции с Монастырской скалы.
Монастырская скала
Монастырь на южном и западном обрывах Монастырской скалы
На южном и западном обрывах Монастырской скалы расположено около 200 пещерных сооружений, среди которых 8 церквей, причем 3 из них предполагаемые.
Обзор начнем с так называемого монастыря св. Климента. Под этим именем известна группа пещер в западном обрыве, где в середине XIX в. разместился возобновленный монастырь. Здесь известны три пещерные церкви — самые знаменитые в Инкермане.
В настоящее время они вошли в состав воссозданного Инкерманского монастыря, что значительно затрудняет их исследование. Поэтому свои наблюдения будем основывать в основном на сведениях предшественников.
Первое подробное описание монастыря относится к 1634 г., когда его посетил русский священник Иаков: «…под городком-же в полугоре есть древняя христианская церковь, высеченная из камня, как во Пскове у Пречистой Богородицы. В церкви везде стенное письмо, от многих лет полинялое и алтарь разоренный; в ней четыре столпа, толстота вокруг 4-х пядей. Позади левого клироса стоит каменная гробница, длина 1—2 пядей, высота в пояс, широта, как двум лечь; а в гробнице земля, а под гробницею выделана конура, как у Петра митрополита, в небе у конуры писан Саваоф, а по сторонам его пророки. Над гробницею на стене написаны два святые: справа — святой ростом небольшой, одежда на нем, как на Дмитрии цесаревиче, приволока богор на золоте, испод зеленый, в руке держит меч в ножнах; слева — святой ростом великий, одежда, как на Дмитрии, мученике Солунском, верхняя риза богор с золотом, испод зеленый, верхняя пуговица застегнута, в левой руке держит выспрь крест подписки главы обурачены; стены стесаны; в гробнице лежат мощи нагие нетленные. Подле тех мощей, другие мощи, одни кости. Подле той гробницы, другая гробница, в церковном помосте, где много человеческих голов и костей. Позади правого клироса каменные перила, в человека вышиной: между перил и церковной стены гробница же в помосте ровном: — рака, как леч человекам трем или четырем, в ней семь человеческих голов и кости нагие. Двери у церкви чинаровые, а с паперти трое дверей затворных: против церковных дверей красное окошко для света, как у Пречистой во Пскове. Идя в храм, направо трапеза, что светлица, а слева два придела также разоренные, да по паперти многие каморы, что келии, а лестница на паперть, как у Благовещения» (Оболенский 1850, с. 75—76). Этот же источник сообщает, что «церковь изстари называют святым Юрьем».
Сведения эти являются уникальными — это единственный случай для Крыма столь раннего (XVII в.) и подробного описания пещерных церквей.
Относительно внимательно эти памятники осмотрели П. Паллас (1881, с. 112), миледи Кравен (1795, с. 302), П. Сумароков (1800, с. 124), И. Муравьев-Апостол (1823, с. 96), Дюбуа де Монпере (1843, с. 255), (рис. 2), П. Кеппен (1837, с. 240), З. Аркас (1879, с. 26), О. Шишкина (1848, с. 154—155).
Подробно часовню и базилику св. Георгия описывает Д. Струков (1876, с. 24—26) (рис. 4, 2, 9). Под его же руководством в 1876 г. велись работы по «реставрации» церкви, в частности, появились новые росписи, уложен (деревянный) пол.
Подробно комплекс рассмотрел А. Бертье-Делагард (1886, с. 207 217) (рис. 6). На основании архитектурного и искусствоведческого анализа он датировал базилику XIV—XV вв. (с. 212).
К этому же времени относили ее И. Толстой и Н. Кондаков (1891, с. 28).
С этими выводами не согласился Е. Иванов, удревнявший церковь (1912, с. 109—110).
Н. Репников также внимательно изучил особенности базилики и на основании анализа росписей датировал ее XIII в. (АКК, л. 35; Архив БГИКЗ, д. 2(37).
А. Якобсон, доказывая иконопочитательское происхождение пещерных монастырей, на основании базиличной формы и кресла в конхе апсиды датировал церковь VIII—IX вв. (1964, с. 50—52; 1970, с. 178).
Автор настоящей работы не согласился с выводами А. Якобсона и попытался обосновать правильность датировки А. Бертье-Делагарда (1993, с. 219—220).
Рассмотрим указанные памятники (рис. 22, 28).
Первоначально в комплекс вели три входа, два из которых были уничтожены в середине XIX в. (Бертье-Делагард 1886, с. 207). В настоящее время в комплекс снизу ведет скальная лестница. По ее ходу несколько помещений — келии и усыпальницы. На простенке последних — остатки неразборчивой надгробной надписи (Латышев 1896, с. 42—43; 1897, с. 152). С верхней площадки лестница вела на плато Монастырской скалы.
Как уже отмечалось, здесь известны три храма.
Первый — св. Мартина (рис. 22, 24.2) (название появилось после возобновления монастыря в середине XIX в. — прямоугольный в плане, перекрытый полукруглым сводом. Его первоначальная апсида в XIX в. была расширена, в результате чего утратила свой древний вид.
Второй расположен к юго-востоку от предыдущего. Это небольшая часовня размерами 6×1,9×1,9 м с прямоугольной апсидой (рис. 22, 24.1). Престол примыкает к стене. Алтарная преграда сплошная, полностью вырубленная в скале. В ней прорублены окна для установки икон. Жертвенником являлась ниша в северной стене. В южной располагалась скамья для служителя церкви.
Третий храм комплекса — самый известный в Инкермане — это базилика св. Георгия (Климента). Имя Климента она получила после возобновления монастыря в XIX в.
Церковь длинной 10,6, шириной 6,1, высотой 4 м имеет одну апсиду и три нефа, разделенные тремя парами колонн с капителями (рис. 22; 25). В апсиде выделяется двухступенчатый синтрон, в центре которого впритык со стеной возвышение — остатки горнего места. Над ним в стене вырублена ниша. В конхе апсиды вырезан большой процветший рельефный крест с расширяющимися концами и примыкающими к ним маленькими крестами в круге (рис. 29). Древняя алтарная преграда проходила по пазам современного иконостаса. В полу алтаря — углубление для установки первоначального престола. Под новым полом первоначально была вырублена гробница. Потолок между нефами выполнен в виде полуциркульных сводов.
Апсида, как уже упоминалось, была расписана фресками, среди которых уже в XIX в. можно было разобрать только изображение Спасителя (Аркас 1879, с. 26; Струков 1867, с. 26) Однако о характере росписей мы можем судить по упоминавшемуся описанию Иакова.
Что касается датировки, то несомненно, что ключом к установлению хронологии всего комплекса является определение времени сооружения базилики.
А. Якобсон датировал церковь на основании базиликальной формы (1964, с. 51) и находил аналогии среди пещерных церквей Каппадокии.
Отметим, что датировка ранним средневековьем только на основании базиликальной формы не выдерживает критики. Базилика, как тип христианского зодчества, оставалась известной в Крыму на протяжении всего средневековья (Домбровский 1986, с. 541; Бармина 1983, с. 21 22; Паршина 1988, с. 48—50).
В византийских провинциях они часто строились и в XI—XII вв. (Delvoye 1967, p. 232—233), и позднее. В Болгарии в XI—XIV вв. базилики возводились хоть и не столь часто, как в ранний период, однако встречаются не так уж и редко (Чанева-Дечевска 1988, с. 13—30). В Греции базилики сооружаются как в XI—XII вв., так и в эпоху Палеологов (Якобсон 1991, с. 500—502; Полевой 1973, с. 267). Эта традиция характерна и для других провинций Византии (Шмит 1932, с. 234).
Более того, и сама форма инкерманской базилики, ее пропорции говорят о позднем происхождении.
Среди аналогий инкерманской А. Якобсон называет пещерные церкви Каппадокии — Айналы Килисе и особенно Безир-Хане (1964, с. 161, прим. 125). Кроме того, исследователь находит еще одну пещерную церковь, «очень сходную с базиликой в Каламите» в пещерном монастыре во Фракии (1964, с. 51). Отметим, что Айналы Килисе датируется серединой — концом XI в. (Rodley 1985, p. 63), «особенно близкая по форме» Безир-Хане — XI в. (ibid, p. 33). Упоминаемый пещерный монастырь во Фракии, очевидно, относится к XIX в. (Dirimtekin 1957). В числе каппадокийских пещерных церквей известны и другие базилики XI в. (например, Селиме Килисе) (Rodley 1985, p. 235).
Таким образом, перечисленные А. Якобсоном аналогии — памятники отнюдь не раннесредневековые.
Весомым аргументом в пользу раннего происхождения базилики А. Якобсон считал процветший крест в конхе апсиды (1964, с. 51). Действительно, обычно рельефное изображение креста в православных церквах связывают или с ранним или с очень поздним (конец XVIII—XIX вв.) временем. Против поздней датировки говорит следующее: крест в конхе апсиды мог появиться только одновременно с храмом (Бертье-Делагард 1886, с. 210), следов перестроек в церкви нет. Ничего не известно о ремонтах церкви в XVIII—XIX вв., за исключением проведенного в 1867 г. Д. Струковым, но крест тогда уже был. В 1634 г., как следует из описания Иакова, храм существовал в настоящем виде, а монастырь уже практически не действовал (Оболенский 1850, с. 685—692).
Но можно ли на этом основании датировать церковь иконоборческим временем? Действительно, изображение креста в храме, особенно рельефного, довольно долго толковали как иконоборческий символ (Epstein 1977 р. 104). А. Эпштейн, проанализировав так называемые классические иконоборческие церкви, довольно убедительно датировала их концом IX — началом X в. (р. 111) Н. Тетериатникова, хоть и несколько удревняла последние, также относила их к постиконоборческому времени (1992) А. Эпштейн подчеркивала, что кресты оставались заметными в украшении зданий Средней Византии и известны в провинциальных византийских церквах в X—XII вв. (1977, с. 104). Таким образом, крест в пещерной церкви св. Георгия мог быть изображен в любой период средневековья.
Рассмотрим форму креста. На наш взгляд, А. Бертье-Делагарду удалось убедительно доказать, что такая форма крестов появилась в XI в. и получила широкое распространение в XIII—XV вв. (1886, с. 211), что согласуется с его совершенно «новым» видом (вряд ли крест VIII—IX вв. мог так хорошо сохраниться). К периоду после XI в. относятся и другие типы крестов, изображенные в храме (там же, с. 211—212).
Выскажем еще одно предположение. Действительно, наличие рельефного креста, особенно в апсиде, не получило широкого распространения в средне- и поздневизантийских церквах Но подобные изображения широко известны в армянских. Отметим, что кресты, аналогичные инкерманскому, имеются на армянских памятниках XI—XV вв. (там же. с. 211)
Представляется, что вышесказанное снимает многие противоречия и соединяет воедино позднюю форму церкви, позднюю форму креста и факт его изображения в конхе апсиды.
Конечно, маловероятно, чтобы храм св. Георгия первоначально принадлежал армянам, хотя последние проживали в инкерманских монастырях еще в XVII в. (Оболенский 1850, с. 689) и у них, вероятно, была своя церковь (см. ниже). Более реально, на наш взгляд, создание базилики армянским мастером, который соединил в ней черты провинциально-византийской и армянской архитектуры.
Попытаемся установить более точную дату возникновения церкви. Несомненно, что за нижнюю хронологическую границу надо принять XI в. Верхняя, по всей видимости, ограничивается 1475 г., то есть временем захвата Крыма турками, после которого прекратилось крупное строительство христианских памятников на полуострове.
При рассмотрении монастыря св. Климента и его трех пещерных храмов становится очевидным, что они составляли один комплекс и, вероятно, возникли на одном узком хронологическом этапе.
Монастырь построен по одному плану, соединен с Каламитой и, вероятно, имел богатых ктиторов. Значительный объем скальных работ (один из самых больших пещерных храмов в Крыму), фресковая роспись, редко встречающаяся в пещерных церквах Таврики, требовали больших материальных затрат, которые могло позволить себе только лицо состоятельное или принадлежащее к верхам относительно сильного государственного образования. Непосредственная связь монастыря с Каламитой наводит на мысль, что таким лицом мог быть один из правителей Феодоро. Таким образом, храм св. Георгия и весь монастырь, скорее всего, можно датировать XIV—XV вв., на чем настаивали А. Бертье-Делагард (1886, с. 214), И. Толстой и Н. Кондаков (1891, с. 28). Эту дату подтверждает и наличие внутреннего архитектурного декора в церкви, который почти отсутствует в пещерных храмах XI—XII вв. (например на Эски-Кермене), но имеется в памятниках времени Феодоро (см. ниже).
В связи с вышеизложенным не такой уж маловероятной представляется гипотеза А. Бертье-Делагарда, что за образец для инкерманской базилики был взят главный храм княжества — мангупская базилика (с. 212).
Возрождение правителями Феодоро Каламиты как символа мощи государства и выхода к морю требовало отражения этого факта в церковной архитектуре: основании нового храма или монастыря. Таким монастырем, по-видимому, и стал комплекс в Монастырской скале. Отметим, что в Болгарии в это время базилики строились как главные храмы в провинциальных центрах и как царские церкви (Чанева-Дечевска 1988, с. 211). Не исключено, что как раз таким «царским» храмом правителей Феодоро. и стала базилика в Инкермане.
Церкви в основании Монастырской скалы. В основании Монастырской скалы между базиликой св. Георгия и южным углом расположены остатки двух средневековых храмов и одного, относящегося к XIX в.
Сведения о первой церкви содержатся в отчете Инкерманской экспедиции 1937 г., где говорится, что одна из пещер под балконом храма св. Климента (Георгия) является церковью. Ее с середины XIX в. использовал под жилье архимандрит монастыря (с. 6). Подобная информация содержится и в «Археологической карте» Н. Репникова (с. 36).
Мы рассмотрели помещение и произвели его архитектурные обмеры (рис. 30—34).
Пещера прямоугольной в плане формы, размерами 7,5×2,8×2,1 м. Вдоль восточной стены высечена скамья высотой до 0,76 м. Выше скамьи вырублена алтарная ниша 1,7×1,2×0,5 м, а в ней углубление для установки престола (рис. 31; 34). В южной стене — дверной проем, шириной 1 м, ведущий в соседнее помещение. В северной стене — две ниши: первая (размерами 0,98×0,4×0,24 м) находится на высоте 1,3 м, вторая (0,7×0,4×0,1 м) — на высоте 0,2 м. Западная стена сохранилась частично (реконструируется по потолку), в ней было два дверных проема — 1,14 м и 0,96 м. В XIX в. эта стена была заложена каменной кладкой (АКК, с. 36). Если верно предположение Н. Репникова о том, что это церковь, то перед нами пример храма с поперечным расположением нефа, где в длинной восточной стене в нише был устроен алтарь (рис. 31—34).
Сведения о второй церкви содержатся в работе Д. Струкова: «В той же скале на низу угла скалы… по очистке оказался свод, под коим в нише изсечен престол высотою 1 аршин (1,06 м. — Ю.М.). На верхней стороне престола впадина удобная для вложения части св. мощей, налево от престола жертвенник высотой 1 арш. 5 верш. И направо седалище для священнослужащего» (1876, с. 28) (рис. 4, 5).
А. Бертье-Делагард обнаружить данную церковь не смог (1886, с. 218). Наше обследование также ее не выявило. Скорее всего она была заполнена грунтом во время восстановления монастыря во второй половине XIX в.
Третья церковь, вернее апсида ее, вырубленная в скале, появилась здесь в 1888 г., когда в честь спасения Александра III в железнодорожной катастрофе был сооружен полупещерный храм св. Пантелеймона (Крым христианский 1996, с. 83). Учитывая новейшее происхождение данной церкви, мы ее рассматривать не будем.
Храм с крещальней «Атка». Данный храм, как и базилика св. Георгия, — один из наиболее известных в Инкермане. Он расположен в южной части Монастырской скалы, выходящей в Гайтанскую балку (Первого мая), на высоте 25—30 м от подошвы скалы.
Сведения о ней содержатся в работах П. Палласа (1881, с. 112), З. Аркаса (1879, с. 25), И. Муравьева-Апостола (1823, с. 96—97), П. Кеппена (1837, с. 240) и ряда других авторов.
Д. Струков опубликовал план церкви и описание к нему (рис. 4, 8) «I. Храм юго-восточная часть отломана каменоломцами. II. Алтарная преграда со стеною до потолка, имеющая (царскую дверь) вход в алтарь по средине. III. Вход в алтарь к жертвеннику. IV. Алтарь. V. Престол у стены, имеющий вверху впадину, пред престолом две ступени: сопрестолие по стене полукругом около престола, высотою 1 арш. 6 в., а ниже скамья для священнослужащих, высотою 10 верш. VI. Жертвенник. VII. Место впадины, где могло быть седалище архиерейское, или престол, устроенный после, согласно обычаю, устроенному литургиями св. Василия и св. Иоанна Златоуста. В этом храме есть крестильня для детей, в северной стене гроб и над ним надпись греческими буквами» (1867, с. 26).
Детально эту церковь рассмотрел А. Бертье-Делагард (1886, с. 218—220, рис. 10—12) (рис. 9.1) Он не согласился со Струковым о месте первоначального престола, справедливо полагая, что тот был в полу алтарной части. Была исследователем упомянута и надпись. Датировал церковь Бертье-Делагард татарским временем (с. 221).
В Латышев опубликовал и перевел надпись: «Упокоились рабы Божьи Аврамий сын (?) Афка комит месяца первого (?) дня… и Косьма Афка комит месяца марта 6329 (?)» (1896, с. 40—42; 1897, с. 151). Он считал невозможным датировать ее как 821 годом. («Весь характер письма надписи …препятствует отнести ее к столь отдаленному времени» (1896, с. 41),) так и 1821 годом и указал, что сама надпись нуждается в детальном рассмотрении. Ученый видит аналогии в написании фамилий и имен, встречающихся в «храме с крещальней» с именами из приписок XII—XV вв. на полях Судакского синаксаря (1896, с. 42).
«Храму с крещальней» была посвящена отдельная статья В. Чепелева (1927). Автор приводит подробное описание церкви, делая при этом свои замечания. В частности, он сомневался в наличии сплошной алтарной преграды, на чем настаивал Д. Струков, и считал, что она, по аналогии с храмом южного монастыря Мангупа, была высотой 1 м (с. 44). Опровергал В. Чепелев и предположение, что крещальня использовалась исключительно для крещения детей (с. 44).
Роспись храма, по мнению автора, аналогична росписям церкви «Успения» Эски-Кермена. Видит он сходство с Шулданом, а также гротом Леонарда в Апулии (с. 45—46).
Детально храм был обследован экспедицией 1937 г. (Отчет, с. 9—11), тогда же были выполнены и архитектурные обмеры (рис. 21).
Н. Репников видел аналогии фрескам данной церкви среди росписей храмов «Успения» и «Трех Всадников» Эски-Кермена, которые он датировал XIII в. (АКК, с. 38).
В. Филиппенко, на основании, как он полагает, мнения В. Латышева, датирует церковь 821 г. (1993, с. 114—115).
Автор настоящей работы также рассмотрел проблемы хронологии данного храма, нашел архитектурные аналогии с храмом южного монастыря Мангупа и, основываясь на выводах В. Латышева, датировал его XIII—XIV вв. (1993, с. 218).
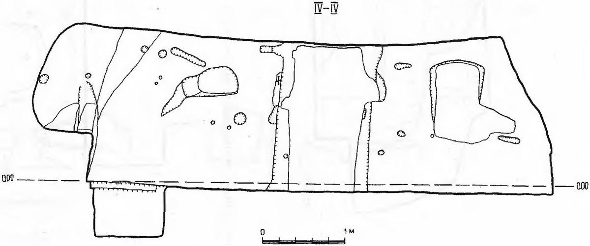
Настоящее описание церкви составлено на основании обследования 1937 г. Памятник частично разрушен: сохранились лишь апсида и северная часть с баптистерием (рис. 21; 35).
Храм одноапсидный. Конха апсиды опирается на три глубоко высеченные в скале ниши. Алтарное полукружие имеет высокий двухступенчатый синтрон, тщательно обработанный зубаткой. В полу — прямоугольное углубление 0,35×0,32 м для установки престола.
Пол алтаря, равно как и примыкающий с севера жертвенник с нишей в стене, на 0,1 м выше остальной части храма. По этой линии проходила алтарная преграда. Последняя или доходила до потолка, или была высотой 1 м (по Чепелеву).
Из храма в боковое помещение вел дверной проем размером 1,6×0,6 м. Эта пещера неправильной в плане формы, в углу ее баптистерий с маленькими колоннами, вырубленными в скале. Слева от последнего, с северной стене, проем, ведущий в большую усыпальницу с пониженным потолком. В ее полу высечена гробница, над которой вырублены гнезда для устройства деревянного перекрытия. На северо-восточной стене — ниша, рядом с которой и обнаружена упоминавшаяся шестистрочная греческая надпись.
Храм оштукатурен слоем без примеси соломы и расписан фресками в углублении апсиды и на своде над синтроном: «На боковой стене алтаря контуры фигур святителей в рост, по низу панель из параллельных зигзагообразных линий красного и черного цветов, образующих треугольники» (АКК, с. 38). В центре — росписи фигуры из Деисуса (Чепелев 1927, с. 45).
Датировка. По устройству апсиды и другим параметрам церковь имеет больше всего сходства с храмом южного монастыря Мангупа и главной церковью Шулдана (рис. 140, 242). Фрески близки к росписям церкви «Успения» Эски-Кермена. Особое сходство О. Домбровский отмечал между орнаментами данных памятников. Эти орнаменты, по аналогии с росписями церквей западной Болгарии, датируются XIV в. (1966, с. 46). Фамилии и имена, упоминаемые в надписи, совпадают с именами из приписок на полях Судакского синаксаря, в частности умерший в Сугдее в 1312 г. Андроник Апка (Байер 1995, с. 66) и Косьма Афка из «храма с крещальней», вероятнее всего являлись представителями одной фамилии.
Все перечисленные факторы позволяют ограничить время сооружения церкви XIII—XV вв., однако, вероятнее всего, она была сооружена в XIV в.
Предполагаемая церковь в комплексе «Анфилады». Кроме помещений, которые несомненно интерпретируются как церкви, и помещений, определяемых с большей долей вероятности, там имеются памятники, вопрос о функциональном назначении которых в настоящий момент окончательно не решен. Таким помещением является предполагаемый храм в комплексе, обозначенном Н. Репниковым как «Анфилады» (АКК, с. 38), под бровкой Монастырской скалы (рис. 27.8).
З. Аркас считал его церковью (1879, с. 25). Д. Струков полагал, что это общественное здание дохристианских времен (1879, с. 6). Детально его обследовал А. Бертье-Делагард: «Я согласен с Аркасом, считая это помещение церковью: такому предположению вполне отвечает свод в потолке, который во всех пещерных городах встречается лишь в церквах и нигде больше: возвышение пола внутренней части есть церковная солея, а выступ задней стены с впадиной был вероятно престолом… Алтарной преграды не приметно, но это произошло от сильного выветривания и разрушения камня…» (с. 224). Что касается ориентировки алтаря не на восток, а на север, то, по мнению ученого, этому способствовал целый ряд конструктивный особенностей. Он видел аналогии данному помещению в церкви с баптистерием (Тепе-Кермен) и с храмом Успенского монастыря (с. 223—224).
Н. Репников не согласился с выводами Бертье-Делагарда: «группа в целом являлась рядом складочных помещений» (АКК, с. 39).
Мы обследовали помещение (рис. 36—39). Пещера в настоящее время сильно разрушена, сохранилась лишь северная стена. В плане она неправильной формы размерами 9×4×2,7 м. В центральной части потолок выполнен в виде коробового свода. Пол же здесь повышается. В нем имеется много углублений и вырубок. В северной стене вырублена ниша, по форме близкая к арочной. Обработка помещения Т.2, хотя и сильно выветрившаяся. Вход вел сверху скалы. В полу сохранился люк, соединяющий данную пещеру с нижней.
Из всего изложенного можно сделать вывод, что достоверных признаков — могилы в полу, апсида, кресты на стенах и так далее, позволяющих говорить об этом помещении как о церкви, — нет. Несомненно, здесь прослеживается несколько строительных периодов. В частности, свод, который действительно может быть признаком церкви, есть только в центральной части потолка. Возможно, первоначально это и была церковь, но впоследствии (в турецкое время) ее перестроили и использовали под хозяйственное помещение (учтем непосредственную связь с крепостью). Однако в настоящее время данный памятник настолько разрушен, что однозначно интерпретировать его не представляется возможным.
«Армянская» церковь. Расположена севернее монастырского оврага на противоположной (от монастыря Климента) его стороне (рис. 27.4). О ней упоминает Д. Струков (1876, с. 29) (рис. 4.3), подробно описывает А. Бертье-Делагард, который интерпретировал ее как армянскую (с. 229—230) (рис. 8.1). С этими выводами соглашается и Н. Репников (АКК, с. 32).
Церковь расположена на отдельном выступе скалы. Снизу в нее ведут 18 ступеней (рис. 40). Помещение вытянутой прямоугольной формы, размерами 5,3×4,3×2,5 м (рис. 41). Апсида полукруглая. Алтарь примыкал к стене. Стены в настоящее время оштукатурены, там, где последняя отслоилась, видна обработка типа Т. 3. В настоящее время выделяются три слоя штукатурки: нижний известковый, затем слой, состоящий из синих масляных красок, сверху — слой штукатурки черного цвета (скорее всего закопченный). Последние два слоя, как и зацементированный в настоящее время пол, появились в начале XX в., когда храм «подновлялся монастырем» (АКК, с. 32). Апсида выделяется из остального пространства аркой (рис. 41, III).
Западная стена в настоящее время отсутствует. Во времена Бертье-Делагарда она была сложена из камня (с. 229). Не исключено, что первоначально стена была все же скальной, а когда она обрушилась, ее заменили на каменную.
В северной стене, рядом с апсидой, — арочная ниша, которая ранее закрывалась деревянной дверцей (видны следы крепления последней). К западу от указанной ниши есть еще одна маленькая, стрельчатой формы.
В южной стене церкви имеется дверь, ведущая в небольшое помещение неправильной формы со стрельчатым сводом. А. Бертье-Делагард и Н. Репников считали, что это притвор.
В комплексе прослеживаются следы нескольких перестроек. В частности, на площадку, где вырублен храм, ведут несколько лестничных спусков Не исключено, что первоначально вход был и с западной стороны, а южное помещение являлось ризницей, хотя и точка зрения Бертье-Делагарда имеет право на жизнь.
На основании архитектурных особенностей церкви — отсутствие алтарной преграды, стрельчатые арки и свод ризницы — Бертье-Делагард сделал предположение, что данный храм принадлежал армянской общине (с. 230). Такая точка зрения заслуживает внимания т. к. во-первых, церковь расположена в отдалении от монастыря, хотя и рядом с ним; во-вторых, по письменным источникам, армяне в Инкермане действительно жили (Оболенский 1850, с. 689); в-третьих, существуют архитектурные особенности (например стрельчатые своды в других пещерных церквах не известны); в-четвертых, в других церквах (базилика Георгия) есть детали, которые можно отнести к армянскому влиянию (см. выше).
Что касается датировки памятника, то наличие стрельчатых форм и обработки Т.3 вряд ли позволит сомневаться в его датировке ранее XIV—XV вв.
По всей видимости, одна церковь находилась на плато Монастырской скалы, в восточном борту крепостного рва, к северо-западу от башни № 4 (рис. 42.1; 43). Назовем ее «церковь в Каламите».
А. Бертье-Делагард, опубликовавший детальное описание крепости, считал, что ров и все пещеры в нем появились в турецкое время (1886, с. 196).
Однако, как показали работы Е. Веймарна, указанный ров является одним из самых ранних сооружений в крепости и возник, очевидно, в раннем средневековье (19586, с. 61—62; 1963, с. 74—82).
В настоящий момент внутри помещения видны следы перестроек, образовавшиеся, очевидно, в турецкое время. Однако, на наш взгляд, в пещере присутствуют черты, характерные именно для церквей.
Помещение (рис. 44—48) имеет овальную в плане форму и размеры 6,4×3,4×1,9 м. Алтарь (2,3×1,3×0,7 м) расположен в юго-восточной стене на высоте 0,58 м. Ориентирован он на восток. В полу вырублено углубление округлой формы диаметром 0,37 м, глубиной 0,14 м, очевидно, позднее.
На стыке алтаря и наоса, в полу, видна вырубка 0,96×0,82×0,67 м, возможно, гробница.
В центре юго-западной стены находится дверной проем, шириной 0,8 м. В его простенках вырублены пазы для крепления деревянных конструкций. На восточном простенке высечен крест с расширяющимися концами (рис. 42.2). К западу от входа видно частично разрушенное окно 0,9×0,5 м. Рядом еще одно окно — 0,5×0,34 м, образовавшееся, вероятно, в результате вывала скалы. В северо-восточной стене на высоте 0,36 м — прямоугольная ниша 2,48×0,75 м. В боковых ее стенах имеются пазы, очевидно для деревянной перегородки.
В северо-западной стене вырублена арочная ниша 0,9×0,72×0,12 м. Потолок помещения коробовый. На внешней стене прослеживаются вырубки под установку деревянных навесов.
Видимо, данная церковь была привратной и располагалась у въезда в крепость. Аналогичные храмы имеются на Эски-Кермене (Могаричев 1994) и Мангупе (Герцен, Могаричев 1996, с. 14—16), с последним прослеживаются и архитектурные аналогии (см. ниже).
Возникает она, очевидно, в XIV—XV вв., в период строительства Каламиты князьями Феодоро (Бертье-Делагард 1918; Якобсон 1964, с. 121—122) и прекращает функционировать после захвата Крыма турками. Не исключено, что рассматриваемый храм мог быть связан также и с монастырем, по крайней мере, подчиняться ему в организационном плане.
Заканчивая изучение монастыря в южном и западном обрывах Монастырской скалы, позволим высказать предположение, что его ранняя часть находилась на южном краю, то есть в районе «храма с крещальней». По крайней мере, как нам представляется, по архитектурным параметрам храм с крещальней является более древним, чем базилика св. Георгия. К тому же очевидно, что пещеры монастыря св. Климента вырублены по одному плану и, возможно, единовременно, в то время как размещение остальных пещер носит более неплановый характер.
Помещения монастыря св. Климента скорее всего связаны уже с сооружением крепости. Таким образом, по нашему мнению, первые монахи в данном месте появились на южном (закрытом и более теплом) краю скалы, впоследствии монастырь переходит на ее западную часть, когда на средства состоятельных ктиторов по единому плану и в короткий срок высекаются три храма и сопутствующие им помещения.
Храм Евграфия
Небольшой скит находится в восточной части Монастырской скалы (рис. 27.9), где расположен так называемый храм Евграфия. На карте И. Батурина (1773 г.) данное место обозначено как храм География. Вероятно, стоит согласиться с исследователями, считавшими, что в карту вкралась ошибка и церковь была названа в честь Евграфия (АКК, с. 40).
В начале XX в. церковь, как и монастырь св. Климента, стала вновь действующей: с лицевой стороны появилась стена, сложенная из камня, скальные стены были побелены.
В настоящее время церковь засыпана грунтом, образовавшимся в результате работы карьера. Поэтому мы будем основываться на описаниях и обмерах, составленных предшественниками (рис. 4).
Д. Струков опубликовал схематичный план и краткие сведения о храме: «В той же скале, по той же балке, под вершиною скалы встречаем храм… по сторонам его есть скамьи, высотою 9 верш. Алтарная преграда до потолка, в ней по середине вход в алтарь. В алтаре у стены престол со впадиною вверху: над престолом по стене надпись и остатки фресковых изображений святых в архиерейских облачениях. В северо-западном углу алтаря — жертвенник со впадиною, удобною для хранения священных сосудов, и в юго-западном углу — седалище для священнослужащего» (1876, с. 28) (рис. 4.7).
А. Бертье-Делагард подробно остановился на данной церкви (1886, с. 221—223, рис. 15—16) (рис. 8.2). Он отмечал, что в архитектурном плане она похожа на часовню св. Мартина (с. 221). На основании анализа живописи и планировки памятник был датирован временем не ранее XVII в. Касаясь расположенной здесь надписи, исследователь замечает, что та «оказалась весьма поздней и безграмотно написанною» и в ней нет точного указания на дату (с. 223).
В. Латышев, проанализировав надпись, убедительно датировал ее 1272 г. (1896, с. 37—40; 1897, с. 150—151; 1898, с. 228—229).
Описание остатков фресок опубликовали И. Толстой и Н. Кондаков: «В другой церкви, по закруглению алтарной абсиды еще заметны фигуры восьми святых в рост, от пола до потолка, с венцами, писанными желтой краской, а по сторонам венцов — надписи имен святых белою, фон серый, краски грубые малярные. Над алтарем, в виде запрестольного образа — поясное изображение, вероятно Спасителя. Как у этого изображения, так и у других, уже невозможно разобрать ни ликов, ни цвета одежд, ни надписей — видны только отдельные греческие буквы» (1891, с. 29).
Подробно церковь изучалась сотрудниками Инкерманской экспедиции (Отчет, с. 12—13) (рис. 20).
Ее детальное описание приведено также у Н. Репникова (АКК, с. 40—41), который считал, что дата надписи не вызывает сомнений и находится в полном соответствии с чертами росписей, композицией и стилем.
Один из вариантов обмеров можно встретить у В. Филиппенко (1993, рис. 6.1) (рис. 26.1).
В настоящей работе мы публикуем описание и план на основании материалов Инкерманской экспедиции, являющихся, по нашему мнению, наиболее подробными и точными.
«Храм состоит из двух помещений. Западная стена в настоящее время обрушилась, но ранее была высечена в скале, сохранилась лишь верхняя часть над бывшим входом с вырубленными крестом и проемом под ним, а также часть простенка к северу, от входа в котором вырублено окно.
Храм слегка вытянутой прямоугольной в плане формы, грубоватой выработки со скамьями по длинным сторонам. Алтарь слегка приподнят над уровнем остального помещения. Он от наоса отделялся нетолстой скальной алтарной преградой. В ней небольшой проем «царских врат», по сторонам два просвета для установки икон. Преграда разрушена. Престол, вырубленный впритык со стеной в скале, имеет углубление для хранения мощей. У северной стены вырублен жертвенник, имеющий углубление наверху, размерами 0,4×0,24×0,22 м, в южной — сиденье для священнослужителя.
Второе смежное помещение — небольшая пещера. В стенах последней — ниши. В северной стене маленькая, треугольная, в западной — четырехугольная. В полу пещеры три гробницы. Все три заключали захоронения XX столетия. Из-под побелки усматриваются фигуры восьми святителей в рост (по четыре с каждой стороны) на синем фоне в крещатых одеждах с желтыми нимбами. Надписи белой краской. Над престолом — изображение Христа в чаше. Надпись хорошей сохранности. Она датирована. По низу изображения над престолом длинная полоса серого цвета, обтянутая черною рамкой — моление раба божьего Сотика с женою и детьми, лета 5780(1272 г.)». (Архив ИИМК, д. 227).
В заключение отметим, что церковь Евграфия по ряду признаков — устройству алтаря, алтарной преграды, расположению наоса — имеет аналогии с храмом «Донаторов» неподалеку от Эски-Кермена.
Загантанская скала
Скальные сооружения Загайтанской скалы, в отличие от других пещерных комплексов Инкермана, практически полностью выпали из поля зрения исследователей. Труднодоступность (в некоторые помещения невозможно попасть без специального снаряжения), плохая сохранность привели к тому, что они осматривались поверхностно.
Первые конкретные сведения встречаются только у А. Бертье-Делагарда. Он опубликовал краткое описание и план «на глаз» храма «Вознесения» на юго-западном мысу (1886, с. 227—228), упомянул о скальной апсиде (без публикации плана) в восточной части комплекса (с. 228) и сообщил о какой-то недоступной церкви. Исследователь предположил существование еще нескольких церквей, которые не смог обнаружить.
Н. Репников в «Материалах к археологической карте» (с. 41—42) и в отчете о работе Инкерманской экспедиции (с. 14—15) также приводит схематичный план храма (рис. 18) и повторяет выводы Бертье-Делагарда. Им замечено, что из 96 пещер Загайтанской скалы доступны лишь около 30 (АКК, с. 41).
Нами в 1995 г. были рассмотрены и опубликованы три церкви (ранее неизвестные) (Могаричев, Пономарев 1995).
На плане-схеме Загайтанской скалы видно, что ее помещения разделяются на два комплекса: в юго-западной и восточной частях (рис. 50).
Комплекс в Юго-западной части
Он насчитывает 25 помещений (Бертье-Делагард 1886, с. 225), из них 2 церкви. Часть комплекса ныне срезана каменоломней, но П. Бабенчиков в 1937 г. успел составить схему фасадов пещер ныне разрушенной части (Отчет, с. 14—15) (рис. 15—16).
Церковь № 1. Храм «Вознесения». По сведениям источников, он сильно пострадал во время обвала в 1794 г. (Паллас 1881, с. 86; Бертье-Делагард 1886, с. 228) и в настоящее время разрушен. Ниже приводим описание А. Бертье-Делагарда и планы, выполненные им (рис. 11.2) и П. Бабенчиковым (рис. 18).
«…Издали заметны остатки редкой по типу церкви: это подражание плоскому купольному перекрытию на четырех арках, опирающегося на углы среднего квадрата, от которого, кажется, в три стороны, восточную, северную и южную вделаны три полукруглые абсиды, лицевая выходная (западная) была вероятно прямая. Доступ к этой церкви почти невозможен и весь низ ее обрушился, так что потолок с арками и столбами висит не поддержанный снизу; точный ее обмер, по недоступности я не мог сделать, посему… даю ее с приблизительным обмером, на глаз. Направление алтаря 40°Е: алтарная преграда состояла из трех арок, средняя была, конечно, царской дверью, а боковые, вероятно, были сплошные, на некоторую высоту от пола… На карте Батурина описанная пещерная церковь названа церковью Вознесения Господня» (с. 227—228).
А. Якобсон считал храм «Вознесения» мемориальной церковью, близкой к «херсонским раннесредневековым» постройкам» (1964, с. 51).
И если с первым выводом можно согласиться, то второй не выдерживает критики, так как конхиальные церкви подобного плана не редкость на Балканском полуострове и в XI—XIV вв. (Чанева-Дечевска 1988, с. 134—155).
Церковь № 2 расположена восточнее храма «Вознесения» в одном из уступов скалы (рис. 50.2). В настоящее время она почти разрушена: сохранились восточная и северная стены и часть потолка у алтарной ниши (рис. 51—53).
Наос был прямоугольный, длина сохранившейся части 3,7 м, ширина 2,6 м. Потолок был выполнен в виде коробового свода. Алтарная часть 1,7×0,97×0,64 м, ориентация 120° ЮВ, расположена в восточной стене. В северной стене в нише размерами 1,64×2,2×0,8 м вырублена гробница. Здесь же еще одна ниша 0,42×0,38×0,2 м, очевидно, для размещения икон.
Комплекс в восточной части Загайтанской скалы
Расположен в 300 м к востоку от предыдущего, состоит из 96, в основном сильно разрушенных, помещений (рис. 50). Нам удалось выделить здесь 8 церквей.
Церковь № 3 (рис. 50.3), так называемая «апсида Бертье-Делагарда», который сообщал: «Мне удалось (в восточной части Загайтанской скалы. — Ю.М.) найти только одну алтарную апсиду, полукруглую диаметром до 4 аршин. Небольшой выступ в глубине ее был престолом: на апсиде ее уцелела штукатурка и следы росписи красками. Штукатурка уже носит совершенно временный характер: сделана не тонким слоем одной извести на гладкой скале, как в других церквях, а слоем около полу-дюйма толщиною, известью с песком и сама скала наклевана, для того, чтобы к ней приставала штукатурка» (рис. 228).
В настоящей работе мы публикуем план (рис. 54—55) и более подробное описание памятника.
Апсида полуовальной формы размером 3×1×1,5 м. Ее ориентация — 30°СВ. Практически в центре стены имеется прямоугольный скальный выступ 0,7×0,34 м. Под ним и частично сбоку вырублена ниша. По всей видимости, это остатки престола. Поверхность скалы в апсиде имеет обработку Т. 3. Бертье-Делагард еще видел следы фресок. К сожалению, в настоящее время сохранились лишь насечки для нанесения штукатурки. Пол помещения засыпан скальной крошкой и натечной землей до 9,4 м. По обеим сторонам к апсиде примыкают различные пещерные сооружения. Вероятнее всего эта алтарная часть являлась частью разрушенной церкви, наос которой был скальным, а затем разрушился или, скорее всего, он был каменный. Такие примеры известны в средневековом Крыму, например на Качи-Кальене (Могаричев 1995, с. 105).
Церковь № 4 (рис. 50,4) расположена в 4-м ярусе пещерного комплекса в 20 м к востоку от № 3, напротив котельной тепличного хозяйства. Подверглась сильной эрозии в настоящее время сохранились лишь апсида и примыкающая к ней часть наоса. Кроме того, в центре лежит скальная глыба 2×4×3 м — обрушившаяся часть потолка. Поверхность потолка сильно эрозирована, пол засыпан скальной крошкой. Размеры сохранившейся части храма 5,8×7,32×2,28 м. Апсида овальной формы, ориентирована 30°СВ. Здесь по всему периметру расположен синтрон высотой до 0,6 м, шириной до 0,55 м (рис. 56—60).
Арочная ниша 1,08×0,93×0,48 м (рис. 60), вырубленная в восточной части апсиды над синтроном, ориентирована на 60°. В ее основании сооружено прямоугольное углубление 0,37×0,27×0,17 м (престол). К северу от нее в синтроне вырублено еще одно прямоугольное углубление 0,33×0,1 м. Скорее всего, это остатки первоначального престола. Это предположение подтверждается тем, что последнее углубление расположено в центре апсиды. Этот первоначальный престол ориентирован на север, и, вероятно, поэтому впоследствии появляется новая алтарная ниша с более точной ориентацией на восток.
В южной стене апсиды вырублена прямоугольная ниша (рис. 57) размерами 2,4×0,74×0,4 м, вероятно, жертвенник.
В северной части храма на стыке апсиды и наоса сохранились остатки алтарной преграды (рис. 57). В центре наоса в полу вырублена прямоугольная яма 1×2×0,8 м, вероятнее всего, это гробница.
Рядом с храмом и выше расположено несколько пещерных сооружений.
Судя по сохранившейся части пещерной церкви, первоначально храм был относительно больших размеров, однако определить их точно из-за разрушения не представляется возможным.
Церковь № 5 (рис. 50,5). Комплекс из трех помещений и церкви расположен в 3-м ярусе пещер под церковью № 4. Общие размеры 10,4×4,5 м. Все помещения с юга соединялись галереей шириной 2 м (рис. 61—70).
Церковь размерами 4×1,9 м (в сохранившейся части) имеет прямоугольную в плане форму. Апсида подковообразная шириной 1,68 м. Справа от апсиды в стене вырублена ниша (0,8×0,78×0,1 м). У северной стены наоса сохранились остатки скамьи высотой до 0,5 м. Потолок наоса коробовый. В западной части потолка вырублена проушина для подвешивания светильника. Южная стена отсутствует Весь пол покрыт слоем скальной крошки мощностью до 0,4 м.
Помещение № 1 размерами 2,64×1,98 м неправильной в плане формы. Вход в него со стороны галереи, во всю ширину южной стены. В западной и северной стенах на высоте 0,8 м имеются вырубки, очевидно, для установки деревянной лежанки.
Помещение № 2 — прямоугольной формы, размерами 1,88×2,06 м. Дверной проем шириной 0,76 м расположен со стороны галереи. Потолок коробовый, постепенно понижающийся в сторону входа. Рядом с последним сохранились следы скальной ступени. В потолке устроены проушины для подвешивания светильников На южной стене у дверного проема сохранились фрагменты греческой надписи (рис. 68).
В стене между помещениями № 1 и 2 вырублен крест в круге с расширяющимися концами размерами 0,25×0,27 м (рис. 68; 69).
Помещение № 3 — прямоугольной в плане формы, размерами 2,3×2.3 м (реконструкция по потолку). Потолок коробовый.
По всей видимости, данные пещеры в период функционирования монастыря являлись комплексом, состоящим из церкви и трех келий.
Церковь № 6 находится в 3-м ярусе пещер, в 25 м к югу от храма № 4. К настоящему времени сохранились северная и восточная стены и часть пола наоса. Размеры сохранившейся части 3,9×4×2,3 м (рис. 50.6; 71—75).
Алтарь был выполнен в виде ниши. Потолок коробовый. В северной стене устроена гробница 1,66×0,96 м. На наружной стене вырезан крест с расширяющимися концами (рис. 71; 73).
Церковь № 7 (рис. 50.7, 76—80) расположена в 3-м ярусе, в 30 м к югу от храма № 6. В настоящее время сохранились алтарь и большая часть наоса.
В плане алтарь прямоугольный, размерами 2,2×4×1,9 м. Ориентация 62°ЮВ. Пол вырублен на одном уровне с наосом. В восточной стене две ниши 0,66×0,42×0,33 м и 0,5×0,38×0,3 м (очевидно, жертвенник). По периметру последних сохранилось изображение трех крестов-граффити — стилизованного всадника и человека с поднятыми руками (рис. 79.3—6, 80). В центре восточной стены высечен крест в круге диаметром 0,32 м. Алтарная преграда, высеченная в скале, сохранилась на высоту до 0,4 м.
Наос прямоугольный размерами 3,8×2,2×2 м. От него сохранилась незначительная часть пола. В южной стене две ниши 0,84×0,60×0,22 м и 1,06×0,9×0,32 м. В последней устроена детская гробница. Вход в церковь, шириной 1,7 м, располагался в западной стене.
Церковь № 8 (рис. 50,8; 81—83) расположена в основании Загайтанской скалы. В настоящее время сохранились часть апсиды, частично северная и западная стены. Потолок полностью разрушен. Пол завален натечным грунтом.
Апсида полуовальной формы шириной около 3 м, глубиной 1 м. Ориентация 120°ЮВ. Наос прямоугольный, 4,9×4 м. В северной стене вырублена ниша 0,96×0,18×0,3 м. Перед ней 5 углублений, расположенных в ряд сверху вниз. Очевидно, это пазы для крепления алтарной преграды. В западной стене вырублена скамья шириной 0,2 м, высотой (от уровня натечного грунта) 0,22 м.
Церковь № 9 (рис. 50,9; 84—88) расположена в восточной части комплекса. В настоящий момент полностью отсутствует южная стена.
Церковь прямоугольной формы длиной 9,38 м, шириной до 3,5 м. Апсида полуовальной формы, размерами 2,7×0,9×2,1 м, в южной стороне частично разрушена. Алтарная преграда, вероятно, была деревянной, высотой 0,9 м, в центре — царские врата шириной 0,7 м.
Наос трапециевидный — 2,7×3×2 м. У северной стены в полу высечена гробница 1,76×0,96×0,4 м, которая, судя по 4-м пазам, перекрывалась деревянным настилом. В северной стене вырублена ниша 0,3×0,5×0,22 м. Потолок коробовый, в нем — два кольца для крепления светильников. К западу от наоса расположено еще одно помещение, очевидно нартекс. В его северной стене — две гробницы в нишах.
Церковь № 10 (рис. 50, 10; 89—91) расположена на скальном выступе в основании Загайтанской скалы. Собственно скальной является нижняя часть апсиды, а верхняя, очевидно, была сложена из камня (об этом свидетельствует наличие «постелей» шириной 0,32 м под каменную кладку над скальной частью апсиды).
Апсида подковообразная 1,3×1,7 м. Высота сохранившейся части 1,2 м. В глубине апсиды скальное возвышение до 0,14 м, в котором вырублено гнездо для престольного камня 0,4×0,5 м.
Наос в плане прямоугольный, размерами 3,64×2,5 м. Пол углублен в скалу до 0,1 м. Между апсидой и наосом сохранились пазы для алтарной преграды, которая, очевидно, была выложена из камня. В 1,5 м к северу от храма — гробница глубиной более 2 м, овальной формы. В ее восточной стене высечен крест (рис. 90). К храму с севера вела лестница из 7 ступеней, проходящая мимо двух склепов.
Таким образом, церковь № 9 являет собой образец «полупещерного» храма. Подобные известны на Качи-Кальене, Мангупе и ряде других мест.
Церковь № 11 расположена отдельно, территориально примыкая к комплексу в восточной части скалы (рис. 50,11).
Она расположена в центральной части основания Загайтанской скалы рядом с железнодорожным полотном. Размеры церкви 6,4×3×2 м. Церковь прямоугольной формы с закруглением в алтарной части и северо-западной стене (рис. 92—95). В настоящее время сохранились лишь три стены помещения — южная полностью разрушена. Судя по подрубкам в скале, она была сложена из камня, хотя не исключено, что в первоначальном варианте могла быть скальной.
Апсида, размерами 1,7×2,4×2 м, полуовальной формы, приподнята над остальной частью помещения на 0,2 м (рис. 92). Она ориентирована на ЮВ. В центре в полу имеется подрубка круглой формы для установки престола диаметром 0,2 м, глубиной 0,08 м. В потолке северной стены видны углубления для крепления алтарной преграды. В апсиде и западной части наоса в потолке имеются проушины для светильников.
Вдоль северной стены вырублена скамья шириной до 0,75 м и высотой до 0,7 м. В северной стене также имеется арочная ниша 0,35×0,3 м, возможно, для установки икон.
В северной части к церкви примыкает помещение прямоугольной формы размерами 3,2×1,25×1,7 м (рис. 92). Прямоугольный вход в него вырублен в северной стене храма. Судя по пазам, он перекрывался деревянной дверью. Вероятнее всего данная пещера была ризницей.
По местонахождению церкви и различным вырубкам можно сделать вывод, что в позднее время она использовалась как хозяйственное помещение.
Таким образом, на Загайтанской скале насчитывается 11 церквей. Не исключено, что первоначально их могло быть больше: часть пещер разрушилась, а часть в настоящее время недоступна. Обращает на себя внимание тот факт, что большинство церквей здесь подверглось сильному разрушению. Это может объясняться, с одной стороны, мягкостью скальной породы, по сравнению, скажем, с Монастырской скалой, с другой стороны, на наш взгляд, здесь присутствует и временной фактор.
По своим архитектурным особенностям большинство церквей Загайтанской скалы выделяется из комплекса храмов Инкермана, да и всего Юго-Западного Крыма, «архитектурным аскетизмом» (за исключением храма «Вознесения»): в них отсутствует декор; апсидами, как правило, служат алтарные ниши, они не совсем четко выделяются из основного пространства, как это имеет место в церквах, например, св. Георгия, Софии или Евграфия.
С другой стороны, как отмечалось, в храмах много следов перестроек, что указывает на относительно длительное их функционирование. Обработка большинства церквей Загайтанской скалы — Т.2, — в отличие от остальных, где она типа Т.3.
Следовательно, надо думать, что церковный комплекс Загайтанской скалы в основном сформировался до середины XIV в., а его древнейшая часть находилась в восточной части. Это подтверждается и тем, что архитектурно-выразительный храм «Вознесения» расположен в юго-западной части, то есть на ближней к Монастырской скале, где, как отмечалось, архитектурное решение церквей уже иное.
Все приведенные аргументы: степень сохранности помещений, их архитектурные особенности, топографическое расположение — позволяют сделать вывод, что первоначально возник монастырь в восточной части Загайтанской скалы, который. вероятнее всего, является древнейшим в Инкерманской долине. Впоследствии от него мог отделиться монастырь (или скит) в юго-западной части.
В ряде церквей Загайтанской скалы на стене вырублены и процарапаны кресты и другие изображения.
По своим формам, стилистике, характеру расположения кресты из церкви № 7 ближе всего к подобным знакам в Челтер-Мармаре (Веймарн, Чореф 1978, рис. 4, 6, 7, 8) (рис. 116—120) в частности кресту, вырезанному под надписью 1403 г. Такой же крест есть на перстне XIV—XIV вв. из Мангупа (устное сообщение А. Герцена). Аналогичные знаки известны на арке из Баклы XII—XIII вв. (Соломоник 1991, с. 176, рис. 3), метках на черепице (Паршина 1974, с. 27), в пещерном монастыре Аладжа в Болгарии (Атанасов 1990, рис. 7). Как отмечал Г. Атанасов, подобные кресты в Болгарии известны с IV до XII в. (1990, рис. 136). Такой же крест есть в церкви 21 из долины Гореме (Каппадокия) (Jolivet-Levy 1991, pl. 79, fig. 3), датирующейся XI—XII вв. (с. 128).
Знак, аналогичный крестам № 4, 5, есть в церкви № 27 долины Гореме, относимой к XI в. (Ibid, p. 85, pl. 136).
Таким образом, кресты, аналогичные крестам № 3—5 из церкви № 7 известны во всем средневековье, но наиболее распространены в XI—XIV вв.
Кресты из церквей № 5, 6 датируются также широко. Они есть и в Челтер-Мармаре (Веймарн, Чореф 1978, рис. 8), на надгробиях различного времени (от раннего средневековья до XIII в.) (Зубарь 1991, рис. 6; Бабенчиков 1958, рис. 14; Рудаков 1984, с. 51; Соломоник 1986, с. 210—215, рис. 1, 5; Кропоткин 1958, с. 211), в пещерных церквах Каппадокии различных периодов (Thierry 1987, рис. 68; Jolivet-Levy 1991, pl. 153).
Что касается изображений из церкви № 7, то их аналогии также имеются в Челтер-Мармаре (Веймарн, Чореф 1978, рис. 4, 7) и среди меток на черепице XII—XIII вв. (Якобсон 1964, с. 93).
Рассматривая хронологию скальных монастырей Загайтанской скалы нельзя не упомянуть о других памятниках в ее округе. На плато выше пещер известны кизил-кобинское и средневековое поселения (Савеля 1994, с. 59), а еще одно средневековое поселение площадью 5 га расположено у ее подножия (Веймарн 1963, с. 63—74). Возникло оно в IV—V вв. и просуществовало до XIII—XV вв., расцвет его приходится на IX—X вв. (Савеля 1994, с. 59).
Данное обстоятельство никоим образом не противоречит нашим выводам, а лишь подтверждает существующую традицию территориальной близости между монастырями и светскими поселениями. Учтем, что при кажущейся близости это два изолированных объекта. Подняться из долины к пещерам монастыря и сегодня довольно сложно. Поэтому появление на Загайтанской скале монастыря нельзя хронологизировать с возникновением или угасанием сельского поселения. Учтем, что Инкерманская долина во все времена была густо заселена (Кацур 1963).
Примеры сосуществования монастырей и сельских поселений известны в Крыму. Наиболее яркий — Успенский монастырь и Мариамполь. Жизнь на последнем продолжалась с VIII—IX вв. до конца XVIII в., монастырь же появился не ранее XIV—XV вв. (Герцен, Могаричев 1993, с. 26, 50). Отметим, что расстояние между Успенским монастырем и Мариамполем гораздо меньшее, чем между памятниками Загайтанской скалы, а добраться до Успенского монастыря гораздо легче, чем к пещерам в Инкермане. Сельские поселения известны под обрывами, где расположены Шулдан и Челтер-Коба, поселение располагалась также ниже южного монастыря Мангупа.
Левый берег р. Черной
Монастырь св. Софии
Монастырь расположен на западной стороне Каменоломного оврага (рис. 27.3; 97). В нем известно 22 помещения (рис. 7). Комплекс находится рядом с дорогой, включает несколько пещерных церквей, и поэтому упоминания о нем часто встречаются в литературе.
На карте И. Батурина здесь отмечен храм св. Софии (Бертье-Делагард 1886, с. 233), очевидно, это имя носил и весь монастырь. На момент присоединения Крыма к России комплекс был заброшен. До Крымской войны здесь находились пороховые склады (Струков 1876, с. 29). Недалеко отсюда 24 октября 1854 г. развернулось знаменитое Инкерманское сражение, унесшее жизни около 20 тыс. человек. К пятидесятилетию обороны Севастополя, по желанию Великого князя Алексея Михайловича, храм был восстановлен (Протопопов 1905а, с. 37). Эта «реставрация», произведенная в 1905 г. архитектором А. Вейзеном, привела к значительному искажению первоначального облика. Сильно пострадал монастырь и в период Великой Отечественной войны.
Описания комплекса встречаются уже у П. Палласа (1881, с. 113), он же первым сообщает о разрушениях в главном храме. Подробные сведения о монастыре оставил З. Аркас. Он подробно характеризует вход в комплекс, главную церковь и часовню. Интересно его сообщение, что в малой церкви «весь плафон и алтарь расписаны были масляными красками, но лики образов теперь различить невозможно, с боков заметны надписи на греческом языке, которые истерлись» (1879, с. 27 28). Таким образом, З. Аркас пишет о двух монастырских церквах — главной и часовне.
Интересные данные содержит описание Д. Струкова: «На противоположной стороне Инкерману, чрез Черную речку, на углу скалы, есть три долбленные храма. Один устроен в боку лестницы, ведущей во внутренность скалы: далее по коридору другой храм, имеющий потолок в форме правильного свода, квадратной формы, но к сожалению алтарь отвалился от скалы. Третий храм рядом с предыдущим к югу, меньший, имеющий престол у стены, под отверстием окна: жертвенник изсечен в нише северной стены алтаря отделенного алтарною преградою, которая судя по сохранившимся остатками была высотою 1 арш. 6 верш, с одним отверстием для входа в алтарь» (1867, с. 29).
Следовательно, художник сообщает о трех храмах — одном, расположенном по ходу коридора, и двух во втором ярусе.
Подробно монастырь св. Софии рассмотрел А. Бертье-Делагард. Он опубликовал описание комплекса и его архитектурные обмеры (1886, с. 233—234, рис. 21—24) (рис. 7). Исследователь упоминает две церкви, а существование еще одной предполагает. Датирует он монастырь XIV—XV вв., а надписи в часовне — еще более поздним временем (с. 234). Главный храм монастыря, по мнению ученого, один из древнейших среди пещерных храмов.
Не обошли вниманием монастырь И. Толстой и Н. Кондаков, которые отметили, что главный «храм выдолблен в виде греческого креста, перекрытого плоским куполом» и является самым большим и роскошным из всех пещер (1891, с. 29—30).
Обратил внимание на данный монастырь и Н. Репников. В «Материалах к археологической карте…» он описывает три храма в верхнем ярусе, причем главную церковь датировал XIII, «а может быть даже XII в.» (с. 45).
В. Латышев кратко упомянул ряд греческих надписей в часовнях (1896, с. 43—44).
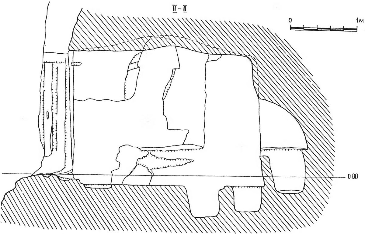
В настоящий момент видно, что в первоначальный комплекс вели два входа. От одного со стороны реки осталась только часть лестницы. Другой, ныне сохранившийся, вел из Каменоломного оврага. По обе стороны его вырублены кельи и хозяйственные помещения. В них еще в конце XIX в. жили люди (Бертье-Делагард, с. 232; Архив ИИМК, д. 21, л. 1, 2). Из коридора имелся выход на верх скалы.
На наш взгляд, в монастыре, в период его функционирования, церквей было четыре.
Главный храм № 1 (рис. 96; 99—101) расположен во втором ярусе. Он крестового в плане типа, размерами 10,4×8,7×5,5 м с плоским куполом, в центре которого вырублен рельефный крест. Алтарная часть храма и часть северной стены обрушились (Паллас 1881, с. 113), вероятно, еще в древности. После обвала, к моменту присоединения Крыма к России, под церковью уже успели построить наземную, отмеченную И. Батуриным.
После ремонта 1905 г. в церкви появились каменные кладки и новый пол (рис. 101), скрывшие части древнего декора.
Алтарная часть храма была полукруглой, 4×3,8×4,2 м, с тремя окнами. Росписи уже во времена Бертье-Делагарда не были заметны (с. 233).
В настоящее время в полу церкви сохранилась одна вырубленная в скале гробница, хотя надо думать, первоначально их было больше.
Храм № 2 (рис. 96.2; 102) — скорее всего, надмогильная часовня, размерами 8,5×2,7×4 м. Северная стена храма в настоящее время сложена из камня, хотя первоначально она могла быть скальной. У южной стены в полу вырублены две гробницы, над ними следы неясной греческой надписи (Латышев 1896, с. 44). Алтарная часть в настоящее время заложена каменной кладкой — это, очевидно, следы ремонтов начала XX в.
Вход в храм находился в восточной стене креста главного храма. Свод коробовый. Из южной стены данной часовни имелся выход в притвор храма № 3.
Храм № 3 (рис. 96.3; 102—103) размерами 5×3,2×4,3 м сохранился лучше остальных, хотя и он частично перекрыт каменными кладками. Поэтому мы посчитали возможным в качестве описания привести выдержку из «Археологической карты» Н. Репникова: «Широкий проход ведет в притвор третьего храма — часовню. Вдоль западной стороны притвора две вырубные гробницы, одна из них в подбое стены. Сама часовня небольших размеров, вытянутой прямоугольной формы, перекрыта коробовым сводом. Направление алтаря в 65°Ю. Апсида полукруглая, с окном посередине, под ним престол впритык со стеной, вырубленный в камне. По сторонам его, на высоте 1 м от пола, в стенах апсиды вырублено по нише, левая — жертвенник, правая, быть может, для хранения церковной утвари. Пол алтаря приподнят на одну ступень над уровнем пола часовни. Алтарная преграда, по-видимому, была высотой до 1,10 м, вырубленная в целом камне. В полу часовни 5 вырубных гробниц, из них две детские. На северной стене, над гробницей, надмогильная надпись (неразборчивая. — Ю.М.) (Латышев 1896, с. 43—44). Стены часовни был расписаны фресками, от которых сохранились лишь закопченные фрагменты» (с. 47).
Причем следы фресок и надписи невозможно было уже разобрать в конце XIX в. (Бертье-Делагард 1886, с. 333).
Добавим, что на стенах часовни видны кресты-граффити (рис. 104), а на высоте 2,8 м на северной и южной стенах сохранился скальный карниз (рис. 105), очень похожий на карниз в пещерном храме южного монастыря Мангупа (Герцен, Могаричев 1996, рис. 44, 45) (рис. 242).
Храм № 4 (рис. 96—108) расположен в конце коридора, ведущего из Каменоломного оврага (рис. 19). Он практически неизвестен в литературе. О его существовании сообщал лишь Д. Струков (см. выше), А. Бертье-Делагард отрицал наличие здесь церкви (с. 232). Очевидно, он не мог внимательно рассмотреть помещение, так как уже отмечалось, что в его бытность там жили люди. Ничего не сообщает о церкви и Н. Репников. Это кажется тем более странным, что и на плане Бертье-Делагарда (рис. 7) и на плане, составленном Инкерманской экспедицией (рис. 19), данная церковь несомненно видна.
В настоящее время помещение сильно разрушено, частично почти отсутствует, а частично каменной кладкой заложена северная стена, южной же вообще нет.
Церковь представляла собой обычный одноапсидный храм, размерами 10×3×3,5 м. Алтарная часть приподнята над наосом. Вверху алтарь отделен от остальной части аркой (рис. 106—107), в полу имеется гнездо для установки престола. В северной стене вырублены две ниши. Потолок очевидно, был выполнен в виде коробового свода.
Хочется отметить, что поверхность стен церкви, как и всего комплекса, имеет обработку Т.3.
Если судить по плану монастыря, храм № 4 является наиболее ранним в комплексе. По крайней мере, выглядит логичным, что первоначально монастырь развивался из Каменоломного оврага и лишь в пору наивысшего расцвета появился выход со стороны реки.
По своей планировке: туннель, вырубленный в скале, расположение храмов, обработка — данный монастырь ближе всего к монастырю св. Климента и, может быть, к Успенскому в первоначальном виде, и частично, к Шулдану (рис. 140). По внутренним пространственным объемам главный храм (высокие потолки) напоминает большую церковь Шулдана.
По своим архитектурным особенностям крестообразная церковь св. Софии не имеет аналогов в скальной архитектуре Крыма. С другой стороны, подобная планировка известна в церквах Херсона. Здесь выделяются пять крестообразных храмов (Романчук 1991; 1986, с. 160). Однако их датировка в литературе получила неоднозначное толкование. Например, храм № 9 (с ковчегом) А. Якобсон датировал VI в. (1959, с. 200), О. Домбровский —XI—XII вв. (1960, с. 40). К этой дате склоняется и А. Романчук (1986, с. 160). Нет ясности и с датировкой храма № 27 (там же, с. 168), загородного крестообразного храма (Домбровский 1993).
Однако совершенно очевидно, что большинство этих сооружений продолжали существовать до конца жизни в Херсоне (Романчук 1986, с. 158—176).
Кроме Херсона, подобные церкви известны под Мангупом (Мыц 1984) и Баклой (Рудаков 1984). Последняя датируется XI—XII вв. (с. 46). Что касается мангупской, то В. Мыц относит ее строительство к IX в. (1984, с. 61), Ю. Лосицкий — к XI—XII вв. (1988, с. 29).
По мнению Ю. Лосицкого, крестообразные храмы наиболее характерны именно для XI—XII вв. (1988, с. 29).
Подобные культовые постройки были широко распространены в византийских провинциях. В Греции они строятся в XI—XII вв. (Полевой 1973, с. 158), в Болгарии относятся к XI—XIV вв. (Чанева-Дечевска 1988, с. 68—133). Близкая инкерманской, церковь конца XIII—XIV вв. известна в Боломан-Кале в Понте (Bryer, Winfield 1985, p. 114—115, pl. 19, fig. 43,45).
Для эпохи Палеологов подобное архитектурное решение также не редкость (Якобсон 1991).
Часовня № 3, служившая местом погребения, является типичной для византийской церковной архитектуры (Teteriathikov 1984), в частности для пещерных монастырей Каппадокии (Rodley 1985, p. 86, 15—16).
Как уже отмечалось, карниз часовни № 3 аналогичен карнизу храма южного монастыря Мангупа.
Таким образом, среди архитектурных аналогий монастырю св. Софии встречаются в основном памятники XII—XV вв. Учитывая, что монастырь расположен на открытом месте и практически не защищен, а также значительные его объемы, для сооружения которых требовались немалые средства и влиятельные покровители, скорее всего его, вслед за Бертье-Делагардом, следует датировать XIV—XV вв., по крайней мере, основную часть, хотя не исключается и XIII в.
Сценарий развития данного монастыря следующий: возникнуть он мог в XIII в. как небольшой скит в Каменоломном овраге. Его древнейшей частью является комплекс вокруг храма № 4. Впоследствии, получив влиятельных покровителей, скит превращается в крупный монастырь. Тогда сооружается главный храм, образцом архитектуры которого, вероятно, мог быть один из храмов Херсона, а наиболее поздней, скорей всего, была часовня № 3. Если наше предположение о сходстве внутреннего декора с мангупским верно, то она была высечена не ранее начала XV в.
В процессе существования монастыря его монахи основали три скита — у станции Инкерман-I, в Георгиевской и Троицкой балках.
Скит у станции Инкерман-I
Пещерный комплекс, вероятнее всего, скит, расположен на левом берегу р. Черной, рядом с современной железнодорожной станцией Инкерман-I (рис. 27.2), в 10 м от железнодорожной линии. Он состоял из 10 помещений, большая часть которых в настоящее время засыпана и разрушена.
Описание и схематичный план церкви приведены у А. Бертье-Делагарда (1886, с. 234, фиг. 25—27) (рис. 13.1). Он отмечал, что «работа церкви очень грубая… стены сильно выветрились» и что для ее устройства «воспользовались существовавшей естественной пещерою» (с. 234). Следов перестроек внутри помещения он не выделял.
Церковь (рис. 109—112) неправильной формы, размерами 16,5×5,3×4,3 м. Стены сильно выветрились, северная частично разрушена, на полу большой слой мусора.
Апсида прямоугольная, 4,1×4,3×4 м. В восточной части к стене примыкает вырубленный в виде выступа престол 1,3×0,7×0,9 м. В южной стене сохранились две ниши — прямоугольная (0,66×0,6×0,62 м) и сводчатая (0,48×0,7×0,38 м), по мнению Бертье-Делагарда, являющаяся жертвенником.
У северной стены апсиды сохранились следы скальной скамьи высотой 0,32 м. Над ней в стене две вертикальные прямоугольные ниши 1,64×0,26×0,44 м. В потолке апсиды отверстие, сообщающееся с поверхностью скалы, — очевидно, остатки дымохода, сооруженного после переоборудования церкви в хозяйственное помещение. В настоящее время пол помещения завален мусором, однако А. Бертье-Делагард видел, что в апсиде он приподнимался над остальной частью на одну ступеньку.
На стыке апсиды и наоса сохранились пазы для крепления алтарной преграды шириной 0,12 м, высотой 1,5 м. Скорее всего алтарная преграда была деревянной.
Наос церкви можно разделить на две части — раннюю (собственно наос первоначального храма) и позднюю, вырубленную после превращения храма в хозяйственное сооружение (рис. 109).
Наос был прямоугольный, размерами 7,6×4,1×4 м. Потолок коробовый. В северной стене высечена скамья (полка?) высотой 1,4 м. Над ней в стене вырублены три ниши. Здесь же, восточнее, был первоначальный вход в храм шириной 1,65 м, высотой до 2 м.
Ранняя часть выделяется по перепадам в уровне потолка, а также по вырубкам в стенах.
Поздняя (хозяйственная) часть неправильной формы 5,3×6×4 м была прирублена к южной и западной стенам первоначального помещения. В южной прирубке, в скамье, вырублены шесть хозяйственных ям диаметром горловин от 0,46 до 0,76 м. Потолок пристройки коробовый. В северной стене два входа. Восточный реконструировать невозможно, так как он сильно разрушен, а западный шириной 1,1 м.
В западной стене вырублена ниша 1,1×0,7×0,84 м.
Хронология. Ярко выраженных хронологических признаков в данной церкви нет. По своим архитектурным особенностям (квадратная апсида, устройство престола) она ближе всего к малой церкви Шулдана (рис. 153), одной из церквей Челтер-Мармары (рис. 134), где сохранилась надпись с датой — 1403 г. (Веймарн, Чореф 1978, с. 147) и церкви «Успения» на Эски-Кермене, датирующейся XIV в. (Домбровский 1966, с. 42—50).
Таким образом, учитывая все вышеперечисленное, а также расположение скита в легкодоступном, незащищенном месте, можно предположить, что его хронологические рамки ограничиваются XIV—XV вв., когда данная территория надежно контролировалась владетелями Феодоро через свой форпост — Каламиту.
Скорее всего данный скит является дочерней частью монастыря св. Софии, рядом с которым он расположен.
Скит в Георгиевской (Крымской) балке
Один из комплексов, состоящий из 6 помещений, в том числе одной церкви, находился на левом берегу р. Черной, на западной стороне Георгиевской балки (рис. 27.1). Он был уничтожен при прокладке железной дороги в XIX в. (Струков 1876, с. 30), и к концу столетия на этом месте сохранились лишь следы нескольких помещений (Бертье-Делагард 1886, с. 235), которые видны и до настоящего времени (рис. 113).
Пещеры были расположена прямо у дороги на Севастополь, поэтому сведения о них часто встречаются в литературе. Они есть у Монтандона (1834, p. 1993), Дюбуа де Монпере (1843, с. 243, pl. 5, ф. 4) (рис. 3), З. Аркаса (1879, с. 28).
Подробно комплекс и церковь исследовались Д. Струковым. Учитывая, что художник произвел расчистку помещений и, потому, его описание является наиболее полным, мы посчитали возможным привести его.
«В бухте Севастопольской, в южной стороне, в четырех верстах от моря, на углу скалы находился храм, замечательный своим входом и некоторою разницей от прежде описанных. …Внизу скалы выдолблен вход в помещение квадратной формы, шириною и длиною по 2 аршина. При входе по наружной стене скалы выдолблены впадины, служащие ступенями для подъема в другое отверстие, находящееся выше первого. Войдя в отверстие, находим комнату шириною 6 арш. и глубиною 7 арш. Из нее ведет правильно высеченная лестница вверх, где довольно обширное помещение с двумя выходами: одним в комнату, удобную служить трапезною и другим в храм, шириною 6 арш. 5 верш., имеющую один вход по средине. Налево в алтаре отверстие окна, под окном в северной стороне прислонен к преграде жертвенник; восточная часть алтаря полукруглой формы и в стене выдолблен престол, имеющий впадину вверху, удобную для вложения мощей, по бокам сопрестолие и ниже его седалище для священнослужащих. Над престолом в стене впадина, в ней изображен Иисус Христос на престоле, с благославляющею правою рукой, в левой закрытое Евангелие и на коленях подобие небольшого четырехугольного ящика (подобного изображения мне нигде не приходилось видеть). По правую сторону изображена Богоматерь, а по левую св. Иоанн Предтеча. Над престолом изсечен свод, на коем изображено Вознесение Господне: по арке над сводом изображен в кругу по пояс св. Муч. Лаур, по сторонам арки к северу Сошествие св. Духа на Апостолов, к южной стороне явление ангела св. Пахомию Великому: и ближе к окну на северной стене сохранилось изображение не полное, а только нижняя часть, напоминающая св. Иоанна Богослова и ученика его Прохора» (с. 30—31).
А. Бертье-Делагард, описывая данную церковь, уже ссылался на сведения предшественников (1886, с. 235). Ценным в его работе является публикация плана комплекса (фиг. 52—53) (рис. 10.2).
По его мнению, с которым можно согласиться, данная церковь имеет аналогии с «храмом с крещальней» (рис. 21) и главной церковью Шулдана (с. 235). В этот же ряд, по нашему мнению, можно поставить и храм южного монастыря Мангупа (рис. 242).
Так как церковь к настоящему времени не сохранилась, сложно говорить о каких-то хронологических признаках. Но расположение комплекса рядом с дорогой, а также архитектурные аналогии, которые ограничиваются XIV—XV вв., позволяют датировать комплекс этим временем.
Как и в случае с пещерами у станции Инкерман-I, данные помещения являлись небольшим скитом, основанным выходцами скорее всего из монастыря св. Софии.
Скит в Троицкой балке
Комплекс из 3-х помещений (одна церковь) (рис. 10.1) находился на левом берегу р. Черной в Троицкой балке, приблизительно в 450 м к западу от комплекса в Георгиевской балке. Он также был полностью уничтожен при сооружении железной дороги, а его подробного описания не сохранилось.
Об этих пещерах сообщает Дюбуа де Монпере (1843, с. 241), а краткое описание приводит З. Аркас: «В 200 саженях от означенной церкви (в Георгиевской балке. — Ю.М.) на том же берегу Ктенусского залива находится часовня, коей длина 3, ширина 2,5, высота 1,1/3 сажени, по правую сторону имеет комнату в две сажени длины и 2,5 аршина ширины: входов два — с северной стороны и восточной» (с. 89).
А. Бертье-Делагард считал, что Аркас видел не часовню, а притвор разрушенной церкви (с. 236), им также был опубликован план комплекса (рис. 10.1).
Топографически, как нам представляется, хорошо прослеживается процесс основания скитов, отпочковавшихся от монастыря св. Софии, — комплекс у станции Инкерман-I (10 помещений), комплекс в Георгиевской балке (6 помещений), комплекс в Троицкой балке (3 помещения), то есть чем дальше от монастыря, тем более мелким был скит. Возможно, в округе были и другие отдельные келии отшельников, которые еще или не выявления или абсолютно разрушены.
Скит на Северной стороне
Он невелик, вероятнее всего связан с инкерманскими монастырями, находился на северном берегу Севастопольского рейда в Мартыновской балке. Сведения о нем встречаются только в «Археологической карте» Н. Репникова: «В балке Мартыновской (или Трещинной), к востоку от стоящего на дне балки здания 3-го кордона Севастопольского лесничества, в правом берегу балки, выдается скала, в которой глубокая пещера естественного происхождения, но обработанная человеком (пазы и гнезда в стенах). В дальнем, восточном углу пещеры подобие апсиды, вверху которой высечен на стене крест «осьмиконечный» с тростями. В скале, рядом и под этой большой пещерой остатки малых пещер, некоторые в виде слабо заметных остатков (выветривание): еще видны во многих местах гнезда для строения прискальных деревянных построек. Эти следы определяют наличие здесь в древности небольшего монастыря, На осыпи под пещерами, в распаханной земле мелкие обломки глиняных сосудов, типов позднего средневековья» (с. 51).
Судя по описанию, данный монастырь имеет сходство с юго-восточным монастырем Мангупа (Герцен, Могаричев 1996, с. 19—20).
Таким образом можно заключить, что в районе Инкерманской долины выделяются следующие монастырские комплексы:
I. Монастырская скала.
I.1. Монастырь на южном и западном обрывах насчитывает более 200 помещений, из них 9 церквей (три предполагаемые: «в Каламите», «жилище архимандрита», в комплексе «Анфилады»), «Церковь в Каламите» расположена отдельно, однако топографически примыкает к данному монастырю и, возможно, была с ним связала. Поэтому мы условно включили ее в указанный комплекс.
Не исключено, что часть помещений комплекса «Анфилады» не была монастырской, а служила хозяйственными помещениями гарнизона крепости. Это предположение может заслуживать внимания, так как там нет церквей (одна предполагаемая). Однако, многочисленные следы перестроек и то, что в турецкое время помещения использовались как хозяйственные, говорят о том, что этот вопрос еще нуждается в дальнейшем исследовании. Пока же мы включили их в комплекс монастыря.
I. 2. Скит в районе храма Евграфия (I церковь) скорее всего был основан монахами из монастыря на Загайтанской скале. По византийским монастырским традициям, отдельные, наиболее заслужившие это монахи получали право самим основывать скиты в некотором отдалении от основного монастыря (Соколов 1894, с. 316).
II. Загайтанская скала.
II.3. Небольшой монастырь (25 помещений, 2 церкви) на юго-западном краю.
II.4. Монастырь, состоящий из 96 помещений, в том числе 9 церквей в восточной части.
III. Левый берег реки Черной.
III.5. Монастырь св. Софии (22 помещения, 4 церкви).
III.6. Скит (10 помещений, 1 церковь) напротив станции Инкерман-I.
III.7. Скит в Георгиевской балке (6 помещений, 1 церковь).
III.8. Скит в Троицкой балке (3 помещения, 1 церковь).
IV. Вероятно, с инкерманскими монастырями был связан и скит в Мартыновской балке.
Собственно в Инкерманской долине насчитывается 8 комплексов монастырского типа, в которых имелось 28 (в том числе 3 предполагаемые) церквей, с монастырем в Мартыновской балке соответственно — 9 и 29.
Наличие в Инкерманской долине большого числа пещерных монастырей и церквей позволяет сделать вывод о нахождении здесь в период развитого средневековья монашеского центра, подобно Афону, Олимпии, Метеоре, Вулканической долине (Rodley 1985, с. 81).
При определении хронологии памятников необходимо учитывать архитектурные особенности церквей, историческую обстановку, топографию памятников.
В стороне и относительном удалении от дорог расположены комплексы Загайтанской скалы и храм Евграфия. Памятники левого берега р. Черной, равно как и монастырь св. Климента, находятся рядом с проезжими путями.
Анализ архитектурных особенностей церквей, эпиграфических и искусствоведческих данных позволяет сделать следующие выводы.
Наиболее ранней из надежно датированных является церковь Евграфия (XIII в.), вероятно, XIV—XV вв. можно датировать «храм с крещальней» и монастырь св. Климента. Не ранее XIII в. возникает и монастырь св. Софии. Храм в Георгиевской балке, судя по устройству апсиды, (двухступенчатый синтрон, похожие престолы), близок, как справедливо полагал А. Бертье-Делагард, к «храму с крещальней» и главной церкви Шулдана.
Надо думать, что в более раннее время возникли монастыри на Загайтанской скале.
Политическая ситуация XI—XV вв. позволяла создавать в Инкермане церкви и монастыри (Якобсон 1964, с. 76—130; Могаричев 1992, с. 95, 103—106, 108—109). Однако наиболее вероятное время сооружения большинства их — XIV—XV вв.
Период XI—XIII вв. хотя и характеризуется определенным экономическим подъемом Таврики (Могаричев 1992, с. 95), однако назвать его спокойным нельзя. Отсутствие политической стабильности, единой власти, существование сначала половецкой, а затем и татарской угрозы способствовали появлению в Таврике новых укреплений (Мыц 1987, с. 15) и специализации хозяйства на более безопасное при набегах скотоводство (Могаричев 1992, с. 105). С появлением и укреплением в XIV—XV вв. княжества Феодоро наступает определенная стабильность: на части Юго-Западного Крыма устанавливается власть правителей, поощрявших сооружение церквей и монастырей.
На поселениях, расцвет которых приходится на XI—XIV вв., — Эски-Кермене, Тепе-Кермене и Бакле (Якобсон 1970, с. 19; Веймарн 1982; Талис 1977, с. 93—103; 1971, с. 251; Рудаков 1984, с. 53; Могаричев 1992, с. 100) известны пещерные церкви. Однако они, как правило, небольших размеров, а часть вообще датируется XIV в. (см. ниже). С другой стороны, пещерные церкви, возникшие в период Феодоро, по декору и размерам превосходят более ранние.
Расположение большинства пещерных монастырей, причем самых крупных, в пределах границ Феодоро (см. ниже) также предполагает их хронологию.
В Инкермане монастыри св. Климента и св. Софии расположены рядом с дорогами и практически не защищены. Вероятнее всего они могли появиться в период, когда в Инкерманской долине установилась стабильная власть, которая могла их защитить. С другой стороны, в этих комплексах были проведены значительные скальные работы: здесь церкви самые большие по объемам, а их архитектурные формы — базиликальная и крестообразная — резко выделяют данные памятники из остальных, в основном однонефных церквей. Мы уже отмечали, что базилика в этот период считалась «царским» храмом. Церковь же св. Софии вообще самая большая из всех вырубленных в Крыму.
Все это указывает на то, что ктиторами и покровителями данных церквей была весьма состоятельные и облаченные властью люди, которые могли принадлежать лишь правящей элите Феодоро.
На основании вышесказанного, историю возникновения и развития монастырей в Инкермане можно представить следующим образом.
Первоначально группы монахов или отдельные отшельники появились на восточной части Загайтанской скалы, в наиболее удаленном и труднодоступном месте Инкермана. Скорее всего это были выходцы из Херсона, произойти это могло в X—XI вв. Со временем жизнь монастыря все более развивается, основываются новые скиты. В XIII в. появляется церковь Евграфия и, возможно, отдельные отшельники осваивают Каменоломный овраг и, вероятно, Монастырскую скалу. В XIV—XV вв. создаются монастыри на южном и западном обрывах Монастырской скалы и св. Софии, не исключено, что на месте более ранних келий. По крайней мере такие примеры известны в Византии. Например, так называемые монастыри с трапезными в долине Гореме в Каппадокии возникли в процессе посещения богатыми ктиторами святых мест, в том числе и келий известных отшельников (Rodley 1985, с. 253). Монастырь св. Софии дает жизнь трем скитам на левом берегу р. Черной.
Остается неясным — все ли монастыри возникли из одного центра (Загайтанской скалы) или таких центров было несколько. Скорее всего комплексы юго-западной части Загайтанской скалы и скит Евграфия возникли из первоначального центра, монастыри же в Монастырской скале и св. Софии могли также основываться выходцами оттуда, однако толчок к их появлению и развитию, как отмечалось, был получен извне.
Челтер-Мармара
Пещерный монастырь Челтер-Мармара расположен в 1,5 км к северо-западу от с. Терновка (бывшее Шули) в обрыве скалы Челтер-Кая. Последняя нависает над Кара-Кобинской и Шульской долинами (рис. 123).
В историографии сведения о Челтере встречаются редко, но, тем не менее, ему были посвящены отдельные, относительно подробные публикации.
Первые полные сведения о монастыре были опубликованы лишь А. Бертье-Делагардом (1886), который отметил здесь 50 помещений, из которых 3 являлись церквами. Главным храмом исследователь считал большую естественную пещеру длиной свыше 30 м, в восточной части которой вырублена апсида (с. 240, фиг. 48—49) (рис. 11.1). Им также была подробно изучена церковь в третьем ярусе (с. 240—241, фиг. 45—47), аналоги которой Бертье-Делагард видел в малом храме Шулдана и церкви скита у Станции Инкерман-I. Опубликовал он и сведения о церкви в четвертом ярусе, правда, без архитектурных обмеров (с. 241—242), а также о культовой пещере в пятом ярусе, которую определил как маленькую часовню или жилье схимника (с. 242).
В. Латышев рассмотрел ряд фрагментов надписей из Челтера, датируя одну из них, из церкви в 4-м ярусе, 1403 годом (1896, с. 125—127).
В 1935 г. на территории монастыря проводил археологические исследования В. Бабенчиков. Им были расчищены главная церковь и несколько помещений второго яруса (1941). Датировал В. Бабенчиков монастырь XI—XV вв. В ходе указанных работ выяснилось, что собственно церковью являлся не весь грот, а только его восточная часть.
Сведения о трех церквах Челтер-Мармары (без часовни в 5-м ярусе) привел Н. Репников в «Археологической карте» (с. 62—66).
Самое подробное описание монастыря с архитектурными обмерами было составлено Е. Веймарном и М. Чорефом (1978) (рис. 114—122). Датировали они монастырь VIII—IX вв., не приведя при этом никаких серьезных аргументов (с. 144) (наличие на стене вырезанного равноконечного креста и гробницы, вырубленной в скале, с точки зрения современных данных, никак не может являться признаком для определения узкой даты).
В 1970-х гг. на Челтере проводила архитектурные обмеры Херсонесская экспедиция ИА АН СССР, результаты работы которой были опубликованы С. Беляевым и В. Бушенковым (1986). К сожалению, авторы статьи в качестве иллюстраций использовали лишь фотографии, не приведя ни одного плана, что значительно снижает ценность публикации.
В ходе работ было выявлено 56 сохранившихся помещений и 30 сильно разрушенных (с. 184). Церкви монастыря — главная и в 3-м ярусе — были охарактеризованы кратко, храм же 4-го яруса интерпретирован авторами как хозяйственное помещение (с. 187), хотя там присутствуют все элементы культового помещения. Без всяких серьезных аргументов, только на основании иконопочитательской гипотезы, монастырь был ими датирован VIII—IX вв.
Таким образом, в Челтер-Мармаре выделяются четыре церкви.
Церковь № 1 (рис. 124—129) расположена во 2-м ярусе пещер, в восточной части большого естественного грота размерами 32×8×2,9 м (№ 27 по Е. Веймарну или № 19 по С. Беляеву). Южный край грота поддерживался шестью скальными столбами, один из которых в настоящее время разрушен, но его остатки видел еще А. Бертье-Делагард (фиг. 50) (рис. 111). В настоящее время в церкви отсутствуют южная и западная стены, которые, очевидно, были сложены из камня.
Храм — прямоугольной формы, размерами 9×5,3×2,5 м. Апсида — полукруглая, полуциркульная, размерами 2×3 м, возвышается над наосом на 0,1 м. В середине пола апсиды вырубка (0,39×0,25 м) для основания престола и, как пишет В. Бабенчиков, «с маленьким подбойным углублением для мощей в восточной части» (1941, с. 285). К стене апсиды на высоте 0,55 м примыкал скальный синтрон.
От наоса апсида отделялась алтарной преградой, которая была, вероятно, деревянной. Подрубка от основания последней просматривается в полу (рис. 127).
В северо-восточной стене вырублена маленькая шина, вероятнее всего жертвенник (Бертье-Делагард, с. 240). В восточной стене сквозная вырубка, а в ней окно. Не исключено, что оно образовалось в результате вывала скалы при высекании ниши. С внешней стороны окна к апсиде примыкают две могилы (рис. 124). В северной стене, рядом с апсидой, прирубка 2,5×1,7 м, с могилой в северо-западной части пола.
Вдоль северной стены расположена скамья, а в полу наоса вырублено 5 могил.
В западной и южной частях церкви видны постели для укладки каменных стен. В. Бабенчиковым были расчищены основания кладки, состоявшие из бутового камня 0,4×0,55 м (1941, с. 285). Потолок в помещении был плоским.
Возможно, с запада к церкви примыкал нартекс, по крайней мере, там в полу просматриваются какие-то подрубки под каменные стены.
На западе, рядом с храмом, находилось несколько хозяйственных сооружений, в том числе тарапан и два бассейна для сбора воды; здесь же в 1935 г. был обнаружен пифос, накрытый каменной крышкой (Бабенчиков 1941, с. 286).
Не исключено, что хозяйственные приспособления в гроте проявились в период позднего средневековья, когда, после прекращения жизни в монастыре, его помещения могли использоваться жителями деревни Шули.
Церковь № 2 расположена в 3-м ярусе (№ 39 по Е. Веймарну или № 42 по С. Беляеву) (рис. 130—133) с южной стороны порубленной там галереи.
Все 15 помещений 3-го яруса соединялись между собой, образуя единый комплекс (Веймарн, Чореф 1978, с. 142).
Уже во времена Бертье-Делагарда алтарная часть церкви была разрушена (1886, с. 241), сохранившаяся же имеет неправильную в плане форму, размерами 4,7×3,4 м.
От алтарной части в северо-восточной стене сохранились подрубки, судя по которым глубина алтаря была 2 м. Под потолком, над местом алтарной преграды, вырублен крест.
В северо-западной части помещения — две вырубленные в полу могилы, сориентированные по оси храма. Над ними остатки неразборчивой греческой надписи (Латышев 1896, с. 127). В северной стене имеется ниша, а в южной находится хорошо обработанный вход в галерею, над которым снаружи вырублен крест (рис. 131).
Скорее всего, как и предполагал Бертье-Делагард, данный храм являлся небольшой часовней.
Церковь № 3 (рис. 134—136) находится в 4-м ярусе. Вход в него, ранее располагавшийся над алтарем храма № 1, в настоящее время разрушен и попасть в него можно только с помощью специального оборудования. Е. Веймарн считал, что помещения 4-го яруса представляют собой обособленный культово-бытовой комплекс, состоящий из небольшой церкви и сопутствующих ей жилых и хозяйственных помещений (1978, с. 147).
Церковь (помещение № 43 по Веймарну или № 33 по Беляеву, который считал ее хозяйственным помещением) размерами 5,27×3,2×2,1 м имеет в плане прямоугольную форму. Южная стена почти полностью разрушена. Алтарная преграда была деревянной, видны следы ее крепления. Престолом является ниша, размерами 0,9×0,9×0,4 м, в восточном углу, вырубленная на высоте 0,7 м от уровня пола (рис. 135).
На стене алтаря, слева от престола, высечены две площадки для надписей, в одной вырезан крест и надпись «раб божий… 6911-й» (1403 г.) (Латышев 1896, с. 125—126) (рис. 136, 117.11). Справа от престола, в квадратной впадине, также виден крест и остатки неразборчивой надписи (там же, с. 125). По мнению Н. Репникова, жертвенник находился на месте рухнувшего участка южной стены (АКК, с. 65). Вдоль северной части восточной стены вырублена скальная скамья. Потолок в помещении плоский.
Церковь № 4 (№ 49 по Веймарну) расположена в 5 ярусе, у входа в карстовую пещеру (рис. 137; 138; 118). В плане она неправильной формы размерами 2,85×2,15×1,8 м. Престол (0,46×0,44×0,5 м) высечен в скале и примыкает к восточной стене (рис. 138). Слева он него вырублена ниша. В южной стене произошел вывал в обрыв. Вход в помещение был с запада. На стенах много граффити (Веймарн, Чореф 1978, рис. 7) (рис. 118) и следы неразборчивой надписи (Латышев 1896, с. 126; 1897, с. 152—153).
Рядом с церковью, к северу от входа в нее, в боку карстовой пещеры вырублен алтарь 1,2×0,75×0,35 м, аналогичный алтарю в карстовой пещере Мангупа (Герцен, Могаричев 1996, с. 20—21).
Нет сомнений, что А. Бертье-Делагард и Е. Веймарн были правы, интерпретировав церковь № 4 как небольшую часовню у входа в карстовую пещеру. Учитывая большое число крестов и граффити на стенах часовни и нахождение рядом алтаря, можно предположить, что это место было особо почитаемо.
Е. Веймарн и М. Чореф связывали создание здесь часовни с культом воды (с. 151). На наш взгляд, этот комплекс может иметь и другое объяснение. Не исключено, что один из первых особо почитаемых отшельников мог поселиться в карстовой пещере, а уже в память о нем во время сооружения монастыря могли высечь часовню.
К Челтеру, вероятно, относился и небольшой комплекс, выявленный разведками 1935 г. Он расположен над Шульской долиной, в 1 км от монастыря. Здесь в скале вырублен дверной проем и лестница из 14 ступеней, ведущая на площадку перед естественным гротом 20×5 м. «В его восточном конце в стене — подобие апсиды и жертвенника. Вдоль задней стены ряд гнезд для деревянных стропил» (АКК, с. 60—61).
Данный комплекс очень напоминал скит в Мартыновской балке и являлся скорее всего небольшим скитом или келией, подчиненной Челтеру.
Хронология. Учитывая большое число помещений и следы перестроек в них, а также разрушенность ряда пещер, можно сделать вывод, что монастырь существовал довольно длительное время. Верхней хронологической границей, вероятнее всего, является последняя четверть XV в., после которой жизнь здесь если и теплилась, то новое строительство вряд ли велось. В начале XV в. монастырь несомненно существовал (надпись в церкви № 3). Возможно, в память о неизвестном «рабе божьем», умершем в 1403 г., и был вырублен данный храм.
Вероятно, монастырь возник раньше. Датировка VIII—IX вв. на основании крестов, как отмечалось, не выдерживает критики. Такие знаки, как было показано выше, известны на протяжении всего средневековья.
С. Беляев отмечал, что весь склон под монастырем был террасирован, а «собранный материал датируется VIII—IX вв. (?)» (с. 187), то есть сам автор не уверен в датировке найденных им невыразительных фрагментов.
Архитектурные особенности церквей: № 1, обычная однонефная церковь, с плоским потолком, без всяких архитектурных излишеств. Прямых аналогий ей найти не удалось. Надо думать, что по своим параметрам она древнее ряда инкерманских.
Церкви № 2 и 3, как отмечалось, более позднего происхождения и связаны уже с расширением монастыря. Хронологические признаки для датировки церкви № 4 отсутствуют.
В. Бабенчиков относил монастырь к XI—XV вв., основываясь на обнаруженных им археологических материалах из главного храма — креста-элколпиона с удлиненной нижней частью, красноглиняного сосуда с одной ручкой, орнаментированного параллельными горизонтальными реброобразными полосками с налепом в виде цепочки (1941, табл. XIV). Н. Репников сообщает еще об одном красноглиняном сосуде, покрытом зеленой поливой (АКК, с. 63), а В. Чепелев в одном из помещений в могиле обнаружил плоские стеклянные браслеты синего цвета (Архив БГИКЗ, д. 15/28). Данный комплекс материала может вряд ли датироваться ранее XII—XIII вв., что, вероятно, и указывает на время основания монастыря. Надо думать, что первоначально, в XIII в. (может быть, в XII в.), могла возникнуть церковь № 1, врубленная в естественный скальный грот, и, возможно, часовня № 4, если верно наше предположение по ее интерпретации. В период Феодоро (конец XIV—XV вв.) монастырь расширяется, появляются пещеры 3—4-х ярусов, в том числе церкви № 2—3.
Таким образом, монастырь, скорее всего, функционировал с XII—XIII до конца XV в. Однако это не исключает, что отдельные отшельники могли поселиться здесь и ранее, облюбовав карстовую пещеру.
Шулдан
Монастырь Шулдан расположен в обрывах скалы Шулдан, нависающей над Шульской долиной (рис. 1.10). Он состоит из двух пещерных храмов и сопутствующих им помещений общим числом до 20.
Первые подробные сведения о монастыре привел Д. Струков. Он опубликовал описание главной церкви и план ее алтарной части (рис. 5.3) «В скале близ селения Шули, в пятнадцати верстах от Инкермана, в вершине скалы изсечен ряд малых помещений, соединяющихся с храмом. Храм 6 арш. шириной и 10 арш. длины: над стенами изсечен свод: алтарь отделен от храма преградою, высотою 1 арш. 5 верш, с одним входом по средине, следов жертвенника не видно, но из алтаря есть выход к югу, в особое помещение, где у восточной стены в нише выдолблено помещение, высотою 1 арш. 5 верш., удобное служить жертвенником, куда есть еще отдельный выход из помещения комнат. Престол высотою 1 арш. 6 верш., шириною 14 верш., в верхней стороне углубление, удобное для вложения св. Мощей; по сторонам престола по полукругу сопрестолие, высотою 1 арш. 4 верш.: ниже — седалище для священнослужащих высотою 9 верш.
На северной стене храма сохранилась фресковая живопись, изображающая Богоматерь с Предвечным младенцем и напоминающая икону, именуемую Ржевской, и двое святых во весь рост». (1876, с. 31).
Обратил внимание на Шулдан и А. Бертье-Делагард (1886, с. 237—239, фиг. 39—45) (рис. 12.1; 13.2). Главный храм он справедливо считал похожим на «храм с крещальней» в Инкермане (с. 238), а малую церковь — «одной из наиболее простых», близкой церкви у ст. Инкерман-I.
Детально Шулдан был обследован В. Бабенчиковым (1935), проводившим здесь зачистки помещений. Им было составлено подробное описание монастыря, особенно главного храма, и выполнены архитектурные обмеры (рис. 139). Характер фресок, по мнению В. Бабенчикова, аналогичен росписи храмов «Трех всадников» и «Успения» на Эски-Кермене, которые он датировал концом XII—XIII вв. (с. 95). Причем, по мнению исследователя, фрески в храме Шулдана имели несколько слоев (с. 98).
При зачистке комплекса была раскопана могила, по мнению В. Бабенчикова, переделанная из хозяйственной ямы (с. 98—100) (об интерпретации ее см. ниже). Причем, перед тем как яму превратили в могилу, в ней была произведена подсыпка грунтом. Учитывая, что данная вырубка расположена как раз на входе в храм (с юга) и крещальню (с запада) (рис. 140, 141), то представляется возможным связать засыпь ямы с сооружением крещальни и, возможно, с созданием или ремонтом церкви. В засыпи были найдены «обломки сосудов неполивных тонкостенных красной глины, поздних, и поливных, типа широких и плоских плошек на узкой подставке в 1,5—2 см с поливной ярко-зеленой, желтой и темной зелено-коричневой с рисунками. Наиболее любопытен фрагмент зеленого блюдца с отогнутыми наружу плоскими краями, с поливой, положенной на белой обмазке, на которой процарапан рисунок. Рисунок нанесен грубыми штрихами толщиной 0,003 м. По краю блюда — «елочка» между двумя параллельными линиями: в середине что-то вроде человеческой фигуры до пояса, держащей в правой руке возможно бубен» (с. 99—100).
Сведения о монастыре, основанные на данных В. Бабенчикова, приведены и в «Археологической карте» Н. Репникова (с. 71—74).
В последующее время специальных работ, посвященных Шулдану, не было.
Как отмечалось, на территории комплекса выделяются две церкви.
Церковь№ 1 (главный храм) (рис. 140—152). В плане представляет собой вытянутый прямоугольник, перекрытый полуциркульным сводом. Алтарная часть подковообразной формы, размерами 3×2,55×3,65 м, приподнята над уровнем пола на 0,15 м. Апсида отделялась от основного помещения преградой, вырубленной в скале шириной 0,12 м и возвышающейся на 1,4 м над уровнем пола. В настоящее время сохранилась лишь часть ее у стен на высоту 0,85 м. Над алтарной преградой остались пазы для установки деревянного иконостаса, который достигал 2,5 м высоты. В полу видны подрубки для установки царских врат. В полу апсиды вырублено прямоугольное углубление для установки престола, а в нем подрубка для вложения мощей. В настоящее время от основании престола сохранились два камня. В основании апсиды стен, на высоте 1 м, помещался двухступенчатый синтрон (рис. 145—146). В центре синтрона находились «горнее место» и ниша на высоте 1,5 м для установки запрестольного образа, которые в настоящее время сильно повреждены.
Наос прямоугольный, размерами 4×3,3×3,65 м. В северной стене вырублена скамья. На стыке последней с алтарной преградой высечена гробница в виде аркосолии 1,8×0,4×0,65 м, а под ней в полу могила. Наос от апсиды отделялся полуциркульной аркой. В южной стене — дверной проем на площадку над обрывом, рядом с ним в стене — ниша с окном, а под ней гробница. Всего на данной площадке найдены три могилы. Над западной была ниша для иконы.
Вход в нартекс со стороны наоса плохо сохранился, его приблизительные размеры 2,6×3,2×2,6 м. Кроме двери в нартекс, из наоса имелись выходы на южную площадку и в часовню, расположенную к северу.
В нартексе вдоль северной стены вырублена скамья, в южной имелся выход на балкон, нависавший над пропастью (АКК, с. 71).
Как видно из работ Д. Струкова, А. Бертье-Делагарда, В. Бабенчикова, на северной стене храма еще в 30-е гг. были видны остатки фресковой росписи, фигуры в рост на синем фоне, обрамленные красной каймой. Бертье-Делагард видел среди фресок Богоматерь (с. 228).
Часовня размерами 4,1×2,1×1,95 м, неправильной в плане формы, расположена к северу от церкви (рис. 140; 143; 150). В нее вели два входа — арочный с запада (с нартекса) и уже упоминавшийся из наоса. Над первым вырублена ниша для установки иконы. В северной стене часовни расположена усыпальница, под ней в полу гробница. А. Бертье-Делагард сообщал о каких-то полустертых надгробных надписях на стенах часовни.
Крещальня прямоугольная, с закруглением в восточной части, размерами 2,1×2,05×2 м (рис. 140; 143; 144; 151; 152). Арочный вход (1,95×0,73 м) с двумя ступенями вел из алтаря храма. В восточной стене расположена ниша, в основании которой вырублена купель, перекрывавшаяся деревянным щитом (Бабенчиков 1935, с. 100) В южной части на высоте 0,55 м вырублено окно (1,2×0,65×0,8 м), на подоконнике которого А. Бертье-Делагард помещал жертвенник (с. 238).
К западу от крещальни видны остатки какого-то помещения и упоминавшейся вырубки (рис. 140; 141) — круглой ямы с прямоугольной подрубкой размерами 1,6×1,1×1,2 м, которую Бабенчиков считал могилой, переделанной из хозяйственной ямы. Действительно, на последнем этапе жизни монастыря здесь была могила. Но первоначально, по нашему мнению, это была ранняя крещальня. По крайней мере, наличие следов помещения над ней, подрубки в виде ступеньки и расположение прямо у входа в церковь позволяют предполагать именно это.
Вообще в полу и стенах церкви вырублено много углублений, гнезд, желобов, которые, по мнению Бабенчикова, появились в позднее время, после того, как помещения монастыря стали использоваться для хозяйственных нужд (с. 100—101). Однако эти выводы лишь частично верны. Судя по подрубкам в скале, настоящий храм не был первоначальным, а возник на месте более раннего и меньшего по размерам. Его апсида очевидно заканчивалась на линии современной алтарной преграды. Из алтаря имелся выход в первоначальную крещальню. Затем церковь расширяется, строится новый баптистерий, а старый переоборудывается в могилу.
Конечно, для такого предположения мало доводов, учитывая, что следы первоначального храма сохранились лишь частично, однако некоторые детали все же позволяют его сделать: подрубки в полу, наличие нескольких входов, двух крещален. Отметим, что возможность перестройки храма допускал и В. Бабенчиков.
Церковь № 2 (рис. 153; 154), расположена во втором ярусе, над восточным входом в монастырь. В него попадали из естественного грота, по лестнице, ныне частично разрушенной. Храм имел неправильную в плане форму и размеры 9,6×4,7×1,9 м. Его престол выполнен в виде небольшой арочной ниши, вырубленной в восточной стене пещеры. Жертвенник размещался на выступе южной стены. Вдоль северной находится скамья, заходящая в алтарь, который отделялся от наоса деревянной алтарной преградой: от нее сохранились подрубки в стене. Южная стена частично разрушена, в ней расположены три окна — два рядом с алтарем и одно недалеко от входа.
Возможно, в церкви, в западной части, имелся нартекс. Форма храма и вырубки в полу (рис. 153) дают основания для такого предположения.
Хронология. В настоящее время комплекс Шулдана выглядит цельным и единовременным, однако в нем видны следы скальных вывалов: обрушилась часть лестничных переходов, следы крупного обвала есть и в соседнем (к западу) с монастырем скальном гроте. Возможно, в результате этого обвала была уничтожена часть помещений монастыря. По крайней мере лестница, ведущая к главному храму с запада, резко обрывается именно там.
Главная церковь монастыря по форме и устройству апсиды имеет аналогии с храмом южного монастыря Мангупа (рис. 242) и с «храмом с крещальней» в Инкермане (рис. 211) (в последнем, как и в Шулдане, имеется баптистерий). По своим пропорциям (значительная высота — 3,65 м) церковь ближе всего к главному храму монастыря св. Софии (5,5 м) и базилике св. Георгия (4 м) в Инкермане, Вообще рост объемов церквей вверх характерен именно для палеологовского времени (Якобсон 1991, с. 486). Отметим, что в базилике св. Георгия имеется и двухступенчатый синтрон. Фрески в церквах Эски-Кермена датируются не XII—XIII вв., как считал В. Бабенчиков, а концом XIII—XIV вв. (Домбровский 1966, с. 42—49).
Таким образом, среди архитектурных аналогий церкви Шулдана — памятники XIV—XV вв.
Важными для датировки являются и упомянутые находки из засыпи первоначальной крещальни. Наличие их в слое позволяет датировать время засыпки не ранее XIV—XV вв. Следовательно, главный храм Шулдана и современная крещальня могут датироваться XIV—XV вв.
Вторая церковь по своей форме напоминает церковь в 4-м ярусе Челтера (рис. 134), храм у станции Инкерман-I и часовню в оконечности Тешкли-буруна на Мангупе (рис. 227), то есть памятники, также появившиеся не ранее XIV в.
Таким образом, история монастыря в обрыве скалы Шулдан представляется в следующем виде. Первоначальный монастырь мог здесь возникнуть в XIII—XIV вв. Скорее всего, он был небольших размеров, а часть комплекса находилась в гроте к западу от современного и была уничтожена в результате обвала. На месте современной главной церкви находилась более ранняя с примыкающей к ней с юга крещальней, от которой сохранилась лишь купель со ступенькой, вырубленной в полу. В период Феодоро, вероятно не ранее конца XIV—XV вв., монастырь перестраивается, храм расширяется, появляется новый баптистерий. Учитывая пропорции храма и наличие горнего места, монастырь, скорее всего, был не последним в церковной иерархии. Не исключено, что он был одной из резиденций митрополита. Напомним, что Шулдан расположен в нескольких километрах от столицы Феодоро. По-видимому, в XIV—XV вв. сооружаются и остальные помещения монастыря. С конца XV в., вероятнее всего, комплекс практически не функционировал, а его помещения использовались жителями соседней деревни для содержания скота.
Эски-Кермен
Одним из важнейший памятников для реконструкции этапов истории церковного пещерного строительства является городище Эски-Кермен (рис. 155—156). Поданным археологических исследований, крепость здесь возводилась по инициативе византийских властей в конце VI в. для защиты подступов к Херсону. Гарнизон ее состоял из местных жителей — гото-алан — федератов империи.
Предположительно, в конце VIII в. Эски-Кермен попадает под власть хазар. Не исключено, что жители крепости принимали участие в антихазарском выступлении, известном в литературе как восстание Иоанна Готского. Некоторые исследователи (Н. Репников и Е. Веймарн) связывали с этим событием и разрушения оборонительных стен. Однако, по данным новейших исследований, для таких выводов нет серьезных оснований. Со второй половины — конца X в. на территории поселения начинает формироваться город. К XII—XIII вв. площадь Эски-Кермена была застроена прямоугольными кварталами, разделенными улицами шириной до 2 м.
В конце XIII—XIV вв. поселение подверглось разрушению. Обычно его связывают с походом золотоордынского темника Ногая на Крым в 1299 г., хотя окончательно город был уничтожен в конце XIV в., очевидно после похода Едигея (Айбабин 1991).
История изучения Эски-Кермена подробно была изложена Н. Эрнстом (1929, с. 15—22), рассматривались ее проблемы и В. Равдоникасом (1932).
Автор настоящей работы также затрагивал историографию скальных памятников городища (1992, с. 11—32). Большинство исследователей, освещавших вопросы истории городища, в той или иной степени касались и его пещерных храмов.
Краткие сведения о церквах «Успения» и «Судилище» можно найти у П. Сумарокова (1805, с. 47—50). Ф. Козен сообщает о церкви «Успения», считая, что качество ее росписей сделало бы честь самому Чимабуе (1828). Информация о скальных храмах городища содержится в работах П. Кеппена (1837, с. 258), Дюбуа де Мон-пере(1843, с. 289—295), О. Шишкиной (1848, с. 129), В. Кондараки (1875, с. 116—120), Е. Маркова (1898, с. 255; 1902, с. 423), Я. Ставровского (1910, с. 709), Д. Косцюшко-Валюжинича (1915).
Д. Струков сведения о церквах Эски-Кермена не публиковал, однако в архивных материалах сохранилась информация, что они им обследовались (Архив ИИМК, д. 87). Подробно комплекс «Судилище» был рассмотрен Г. Карауловым (рис. 157—160). Он, по мнению автора, церковью не являлся (1872, с. 56—60). Ю. Кулаковский осмотрел церкви «Трех всадников» и «Успения», им были проведены мероприятия по их охране (Архив ИИМК, д. 90).
Первый краткий свод по скальным храмам Эски-Кермена был составлен Н. Эрнстом (1929, с. 26—34) (рис. 167), который датировал их не ранее XII в. В конце 20-х — начале 30-х гг. на городище работала Эски-Керменская экспедиция. В ходе ее работ были расчищены и обследованы все скальные храмы городища и округи (Репников 1932, с. 108—112, с. 118—127; 19326, с. 190—191; 1935а, с. 26—31).
О. Домбровский в монографии «Фрески средневекового Крыма» провел подробный анализ росписей в храмах «Успения», «Трех всадников» и «Донаторов» (1966). Уделяли внимание церквам Эски-Кермена в своих работах А. Якобсон (1964, с. 100—102), А. Айбабин (1991, с. 47—49), А. Герцен. Автор настоящей работы в ряде публикаций также касался этой темы (Герцен, Могаричев 1991; 1995, с. 4—9; Могаричев 1994) (подробно см. ниже).
На Эски-Кермене известно шесть пещерных церквей, они расположены в районе подъемной дороги (№ 1 и № 2). У главных ворот (№ 3 — «Судилище»), на восточном краю плато (№ 4 — «Успения»), на восточном склоне под обрывом плато (№ 5 — «Трех всадников») и в верховьях балки Черкес-Кермен (№ 6 — «Донаторов») (рис. 155, 156).
Церкви в районе подъемной дороги
Уникальность данных памятников заключается в том, что они расположены в комплексе с погребальными сооружениями, раскопанными в конце 20-х — начале 30-х гг. сотрудниками Эски-Керменской экспедиции (Репников 1932а, 1935а). Это пока единственный случай, когда для датировки пещерных церквей, наряду с архитектурным и искусствоведческим анализом, можно использовать и непосредственно связанный с ними археологический материал. К тому же, городище Эски-Кермен — относительно хорошо изученный памятник (Айбабин 1991), что в значительной степени помогает нашим исследованиям.
Рассматриваемые памятники расположены в обрыве плато юго-западной части городища, недалеко от главных ворот, над третьим маршем подъемной дороги (Репников 1935а, с. 26—37) (рис. 162). Церкви находятся на видном месте и хорошо известны авторам конца XVIII — начала XIX в. Однако отсутствие фресок и выделяющегося архитектурного декора стали причиной того, что в историографии этого времени они не получили достаточного освещения, в отличие, например, от храмов «Трех всадников», «Донаторов» или «Судилища».
В 1929 г. Н. Эрнст в обширной статье «Эски-Кермен и пещерные города Крыма» опубликовал небольшое научное описание (с. 26—27) и планы рассматриваемых памятников (с. 31) (рис. 161). Как отмечалось, по его мнению, «пещерные города», а следовательно, и церкви на них, появляются не ранее XII в. (с. 41), а традиция их создания была занесена в Крым из Малой Азии (с. 43).
В 1928—1933 гг. район подъемной дороги попал в поле деятельности Эски-Керменской экспедиции. Тогда были расчищены от земли пещерные церкви и раскопаны расположенные рядом с ними гробницы и усыпальницы (Репников 1932а, с. 118—120, 19326, с. 190—191). Автор раскопок — Н. Репников датировал предметы, найденные в последних, VIII—X вв. (1932а, с. 118). На основании этого и церкви были датированы концом VIII X в. (1932б, с. 209). В работе «Подъемная дорога Эски-Кермена» (1935а) ученый опубликовал подробные описания храмов (с. 26—31, 36) и полученный при исследовании этого района археологический материал.
Детальное описание памятников представлено и в «Материалах к археологической карте юго-западного нагорья Крыма» этого же автора (Архив ИИМК, Ф. 10, д. 1, л. 116—118).
Е. Веймарн в работе, посвященной оборонительным сооружениям Эски-Кермена, основываясь на материалах Н. Репникова, уточняет датировку церквей и усыпальниц — IX в. (1958, с. 26).
Д. Талис, проанализировав материалы из усыпальниц, отметил недостаточную аргументированность узкой датировки. По его мнению, можно определить лишь верхнюю хронологическую границу их появления — не позднее X в. (1961, с. 244).
Детально изучив упомянутые находки, А. Айбабин пришел к выводу, что храмы и усыпальницы могли вырубить не ранее конца IX в. (1991, с. 47). Правда, затем, в этой же работе, он уже убедительно датирует их концом IX в. (с. 48).
В нашей статье, посвященной дискуссии о скальной архитектуре Крыма, рассматриваемые памятники предположительно были отнесены к XI—XII вв., хотя не исключался и X в. (1993, с. 218).
«Большой пещерный храм», по Н. Репникову (1932а, с. 118; 1935а, с. 36), или «церковь № 1», по Н. Эрнсту (1929, с. 26—27) (рис. 163—166), расположен в самом начале третьего марша подъемной дороги (рис. 162.3). Уровень его пола находится приблизительно на 2,5 м выше уровня последней. Первоначально из-под обрыва в него вела сложенная из камней лестница (Репников 1935а, с. 26).
Размеры церкви (по уровню пола) — 4×4,7×2,3 м. В плане она имеет форму трилистника (конхиальную). В настоящее время здесь отсутствует западная стена. Однако наличие пазов и гнезд для балок позволяет предполагать, что она была деревянной. Не исключено также, что первоначальная стена все же была скальной (по аналогии с другими пещерными церквами), а после разрушения ее заменили на деревянную.
Апсида полукруглой формы, размерами 1,7×2,3 м и ориентирована на северо-восток. Вдоль ее стены расположено сопрестолие, которое к середине понижается. В стене конхи имеется углубление, возможно, для запрестольного образа. В середине сопрестолия и в центре апсиды в скале имеются углубления. Это, по всей видимости, основания для престолов, что позволяет говорить о нескольких строительных периодах церкви. Апсида отделяется от стен храма скальными простенками, которые, поднимаясь к потолку, образуют арочный карниз. Н Эрнст не находил здесь следов алтарной преграды (1929, с. 26), в то же время Н. Репников считал, что наличие гнезд для крепления балок в простенках, потолке и полу может указывать на го, что алтарная преграда (иконостас, по Репникову) была деревянной (19—35а, с. 27).
Вдоль северной и южной стен церкви вырублены скамьи. На южной стене, над скамьей, рядом с апсидой имеется вырубка, которую Н. Репников определял как жертвенник (1935а, с. 27). В западной части южной стены, над потолком, вырублена ниша размерами 1,2×4,7×0,4 м. В полу храма имеется водосток. Стены тщательно обработаны. Причем первоначальная обработка Т.2 сверху была подтесана «зубаткой». Вероятно, разрушение западной стены после прекращения функционирования храма и беспрепятственное проникновение ветра также способствовали сглаживанию стен.
В комплексе с церковью расположены усыпальницы № 32, 35—37, 104 и гробницы (вырубленные в скале могилы с заплечиками, перекрытые каменными плитами) (№ 33, 34, 38, 102, 103) (рис. 162, 164), (Репников 1935а, рис. 8).
«Пещерный храм у городских ворот», по Н. Репникову (1932а, с. 119—120; 1935, с. 36), или «церковка № 2», по Н. Эрнсту (1929, с. 27), расположен в том же обрыве, к югу от «большого храма» (рис. 162.4, 167—171). Он прямоугольной формы, размерами (по полу) 4,1×4,7×2 м. Неф вытянут с севера на юг. Западная стена церкви представляет собой скальную перегородку с входом, в настоящее время частично разрушенную.
Апсида полукруглой формы, размерами 1,7×2,3 м, ориентирована на восток — север — восток. От остального помещения она отделена так же, как и в «большом храме», однако более грубо. В простенках Н. Репников выделял пазы для установки деревянной алтарной преграды (1935а, с. 36). Престол первоначально был вытесан из скалы и составлял одно целое с церковью. Его изображение можно увидеть на гравюре из неизданного альбома А. Уварова (рис. 169). В 20-х-30-х гг. нашего века он был уже сбит и опрокинут (Репников 1935а, с. 36) К югу от апсиды в полу вырублена могила с заплечиками. В северной стене высечена скамья, в углу которой, рядом с апсидой, по мнению Н. Эрнста, находился боковой предел (1935а, с. 27). Н. Репников же считал, что это была лежанка с изголовьем (1935а, с. 36). В восточной стене к югу от апсиды вырублена ниша. В западной части пола церкви у входа имеется вырубка подковообразной формы (рис. 167). Не исключено, что это остатки тарапана, который могли соорудить после прекращения функционирования церкви По крайней мере, подобные случаи в Крыму известны.
Обработка стен помещения аналогична обработке «большого храма».
В южной стене храма прорублен вход со ступенькой в небольшое помещение трапециевидной формы с окном в западной стене. Н. Эрнст видел в нем ризницу (1929, с. 27), хотя, на наш взгляд, более вероятно, что это келья причетника церкви, о чем говорит наличие окна и лежанки.
Рядом с церковью расположены три усыпальницы (рис. 162) (Репников 1935а, рис. 8).
Рассмотрим архитектурные особенности помещений. При их сопоставлении выявляется, что, несмотря на разные формы, эти церкви имеют между собой много общего, а именно: сходство пропорций. Во-первых, очень близки размеры (см. выше) храмов; во-вторых, аналогичны размеры апсид; в-третьих, похожи формы апсид; в-четвертых, одинаково решение выделения апсиды из общего объема (см. выше), хотя несомненно, что в «большом храме» это сделано более качественно; в-пятых, аналогичен характер обработки стен помещений; в-шестых, в обоих храмах — поперечное расположение нефов. Отметим, что на Эски-Кермене больше ни одна церковь (ни пещерная, ни наземная) не имеет подобного решения. Вообще в Таврике, кроме этих, известны всего несколько подобных церквей — например, в Инкермане, в комплексе «Анфилады» (см. выше) и на Тепе-Кермене (церковь с баптистерием) (см. выше). К тому же, в данном случае мы сталкиваемся не с попыткой облегчения конструктивного решения (церковь с поперечным нефом рубить в отвесной скале, естественно, легче), а с осознанными архитектурными канонами; все остальные пещерные церкви Крыма, создававшиеся в аналогичных условиях, имеют продольное расположение нефа.
В-седьмых, одинаково функциональное назначение храмов — без сомнения, это кладбищенские часовни. На это указывает большое число расположенных рядом гробниц и усыпальниц, полностью опровергающих предположение, что эти церкви были семейными усыпальницами. Важным в данной аргументации представляется то, что, кроме указанных, в районе подъемной дороги известны еще две часовни (наземные) с окружающими их погребальными сооружениями (Репников 1935, с. 22—26, рис. 8) (рис. 162.). Отметим, что у самого въезда на городище выявлены еще две часовни, погребения совершались в «Судилище» (Эрнст 1929, с. 27—29; Репников 1932а, с. 124—127) (см. выше), а в комплексе с последним, в ответвлении подъемной дороги, расположены пять усыпальниц (Репников 1935, с. 40—41, рис. 8). Таким образом, не вызывает сомнений, что в районе подъемной дороги и въезда в городище находился некрополь.
Учитывая вышеизложенное, можно заключить: рассматриваемые церкви близки хронологически и, возможно, сделаны одним мастером или одной артелью. Вряд ли случайны очень близкие пропорции и размеры храмов, устройства нефов, а также сходство археологического материала из их усыпальниц. Видимо, исключается подражание в архитектурном решении, так как формы церквей резко отличаются. С другой стороны, все перечисленное может быть только отражением одной традиции и школы, когда при различии форм основные архитектурные параметры и пропорции остаются неизменными. Таким образом, разница «в возрасте» памятников составляет не более 20—30 лет. При этом еще раз отметим, что «большой храм» вырублен более качественно.
Попытаемся уточнить датировку памятников. Для этого обратимся к археологическому материалу из усыпальниц.
Вряд ли стоит сомневаться в датировках конкретных вещей, предложенных А. Айбабиным (1991, с. 46—47). Однако хронология всего комплекса, на наш взгляд, требует некоторого уточнения. Для этого рассмотрим таблицу сочетания циклов вещей из усыпальниц, составленную на основе датировок А. Айбабина (рис. 172). Из обнаруженных вещей X—XI вв. датируются деревянные гребни, серьги и височные кольца из гладкой бронзовой проволоки с сомкнутыми концами. Бронзовые бубенчики датируются X—XV вв., бронзовые пуговицы — VII—XI вв., браслеты из синего стекла — концом IX в. — поздним средневековьем, перстень из двух бронзовых проволок — XII в. Следовательно, датировка А. Айбабиным храмов концом IX в. основана только на браслетах из синего стекла, которые известны даже в слоях XIV—XV вв. (например, Мангуп). Теоретически браслеты могли оказаться в усыпальницах и в конце IX в., и в X в., и в XI в., и в XII в. Поэтому абсолютная датировка, основанная только на указанных браслетах, вряд ли правомерна. Анализ же циклов вещей (рис. 172) показывает, что IX в., как время сооружения храмов, исключается, в противном случае придется признать, что хоронили тогда только с браслетами (другие вещи из усыпальниц в IX в. не бытовали), а это маловероятно.
Корреляция датировок показывает, что все указанные вещи вместе бытовали только в X—XI вв., за исключением упомянутого перстня, датирующегося XII в. Таким образом, появление храмов в районе подъемной дороги можно датировать X—XI вв. Функционировали они и в XII в. Данный вывод подтверждается и материалом из гробниц, датируемых А. Айбабиным X—XI вв. (1993, с. 128). Как известно, обычаи захоронения в усыпальницах и гробницах являются составной частью одного обряда (там же, с. 128—129), и поэтому время их функционирования должно совпадать.
Более узкую датировку, основываясь только на археологическом материале, предложить нельзя без приведения других аргументов — анализа исторической ситуации на Эски-Кермене и его топографических особенностей.
Учитывая, что в районе подъемной дороги в X—XI вв. находился некрополь, перспективно определить его связь с некрополем, расположенным на юго-восточном склоне городища. Последний возникает в конце VI в., а первоначальные захоронения в нем производились в склепах и подбойных могилах (Айбабин 1991, с. 45). С конца IX — начала X в. в связи с окончательной победой христианства обряд захоронения меняется: вырубаются гробницы и склепы по типу усыпальниц (там же, с. 48). Причем это характерно не только для Эски-Кермена. По данным А. Айбабина, с конца IX—X вв. в Готии были заброшены почти все раннесредневековые грунтовые могильники, рядом с которыми возникли церковные плитовые некрополи. С X в. в гробницах и усыпальницах стали хоронить на Мангупе, Бакле, в Судаке, Херсоне (1993, с. 129).
Видимо, не позднее середины X в. некрополь Эски-Кермена был заброшен, уже в XI—XII вв. здесь были разбиты виноградники и огороды (Айбабин 1991, с. 49). Так как у нас нет никаких оснований говорить о смене населения Эски-Кермена в X в., то между прекращением функционирования некрополя и использованием его территории под сельскохозяйственные культуры должно было пройти определенное время, приблизительно лет 30—50. Если даже допустить, что виноградники были разбиты в самом начале XI в., то функционирование некрополя могло прекратиться где-то с середины второй половины X в. (учтем, что захоронения X в. присутствуют) (Айбабин 1991, с. 48).
Логично предположить, что кладбище в районе подъемной дороги приходит на смену старому могильнику. На наш взгляд, нет оснований утверждать, что они долго сосуществовали (там же, с. 49). Ведь, по данным А. Айбабина, во многих местах церковные плитовые могильники, приходя на смену грунтовым, располагались рядом с последними. Видимо, аналогичная ситуация наблюдалась и на Эски-Кермене, когда на смену некрополю на юго-восточном склоне приходит церковный некрополь на юго-западном (район подъемной дороги). Данному предположению не противоречит и археологический материал (там же, с. 48—49).
Таким образом, даже если допустить, что пещерные храмы возникают сразу после первых захоронений на новом некрополе (как упоминалось, здесь известны еще две наземные часовни), логично было бы предположить, что кладбище развивалось снизу, от часовен, вверх к пещерным храмам, начало их сооружения, вероятнее всего, относится ко времени не ранее середины — второй половины X в. А если принять во внимание, что между сооружением храмов мог пройти определенный период (по нашим представлениям, не более 30 лет), время создания пещерных церквей в районе подъемной дороги следует определить серединой X — началом XI в.
Настоящая датировка не противоречит и современным представлениям об истории городища. Надежно датированные строительные остатки IX—X вв., как и более раннего времени (за исключением оборонительных стен и оборонительных пещерных сооружений конца VI—VII вв.) (Айбабин 1991, с. 48; Могаричев 1992, с. 72), на Эски-Кермене не известны, хотя захоронения и керамика этого времени имеются. Исследования базилики показали, что массовый материал и инвентарь погребений относятся к X—XII вв. (Паршина 1988, с. 48), а в XI в. она существенно перестраивается (там же, с. 50). К XII—XIII вв. территория городища уже была прочно застроена усадьбами (Веймарн 1982; Айбабин 1991, с. 49).
Можно сделать вывод, что с X в. на Эски-Кермене начинается процесс зарождения городской жизни (до этого мы можем говорить о городище только как о крепости), который получает дальнейшее развитие в XI—XIII вв. (Могаричев 1992, с. 100). С этим можно связывать появление нового некрополя с 4—6 часовнями, вокруг которых группировались погребальные сооружения. По всей видимости, каждая из часовен обслуживала какую-то часть населения или несколько семей.
Скорее всего, в районе подъемной дороги находились захоронения не самых знатных и богатых жителей. Напомним, что в указанный период захоронения производятся также в главном храме Эски-Кермена — базилике — и в большой и, вероятно, важной (учитывая наличие горнего места) церкви — «Судилище».
Надо думать, что рассматриваемые памятники являются одними из самых древних пещерных церквей горного Юго-Западного Крыма.
Исследуя Эски-Керменский могильник, Н. Репников предположил, что способ захоронения в усыпальницах с последующим перезахоронением в костницах (гробницах) заимствован из Сирии и Малой Азии (1932в., с. 180). Этот вывод был поддержан А. Айбабиным (1991, с. 48; 1993, с. 129). В связи с этим интересно поперечное расположение нефов рассматриваемых памятников. Как известно, такое архитектурное решение характерно именно для византийского востока (Брунов 1935, с. 459—465; Якобсон 1983, с. 76—77; Rodley 1985, p. 216). Эти факторы, а также гипотеза Ф. Шмита о восточновизантийском происхождении Эски-Керменской базилики (1932, с. 240—241), на наш взгляд, позволяют поставить вопрос о наличии в X—XI вв. на Эски-Кермене группы выходцев из восточных областей империи. Работа в этом направлении кажется перспективной.
«Судилище»
Пещерный храм «Судилище» расположен в восточной части скального проезда у главных ворот Эски-Кермена (рис. 155.5). Он представляет собой комплекс смежных пещер. Значительный участок потолка западной части обрушился во второй половине XIX в. В 1929 г. церковь зачищена (Репников 1932а, с. 124—126). Обработка стен по техническим приемам различна. Северо-восточная и южная части имеют обработку Т. 2, средняя часть в апсиде — Т. 3.
В плане комплекс имеет сложную асимметричную конструкцию размерами 15×17, 5×2 м (по диаметрально противоположным точкам) (рис. 173—184). Выделяются несколько строительных периодов.
С запада в него ведут три двери, пороги которых возвышаются над уровнем скалы. Дверные проемы имеют гнезда для деревянных дверных коробок. В западной стене вырублено окно, а под ним ниша. Потолок северной части опирался на четыре столба. Вдоль северной стены, разделенной четырьмя аркосолевидными углублениями, вырублена скамья. В основании ее и полу вырублены могилы, в том числе две незаконченные. В северо-восточной части — резервуар для сбора воды (по Н. Репникову) или остатки крещальни. Вода по желобку в стене стекала вниз через потолок в резервуар. Отсюда она по вырубленным в полу желобкам вытекала в квадратный баптистерий, высеченный в толще скалы над уровнем пола (рис. 175; 181). В древности крещальня имела четыре угловые колонны, упиравшиеся в потолок (Репников 1932а., с. 125). В северо-западном углу в потолке — горло древней, очевидно раннесредневековой, зерновой ямы (Могаричев 1992, с. 103), с поверхности заложенной камнями.
Апсида подковообразная размерами 3×2, 3×2 м. В восточной ее части к стенке примыкает синтрон с горним местом посередине. К западу от него в полу квадратное углубление — место престола. Алтарь отделялся от наоса алтарной преградой, вырубленной в скале. В настоящее время сохранилось ее основание. В средней части алтарной преграды — порог «царских врат», по бокам пазы для установки частей деревянного иконостаса, упиравшегося в потолок. В древности апсида была расписана фресковой живописью (Марков 1902, с. 423). «Из-под копоти выступает ографление нимба и силуэт поясного изображения Предтечи от Деисуса» (Репников 1932а, с. 126). Рядом с алтарной преградой в полу вырублены могила и база опорного обломанного столба.
Южная и юго-восточная части комплекса проходят вдоль обрыва плато. Рядом со скругленной стеной юго-западной части вырублена скамья. В юго-западном углу в сторону обрыва имеется дверной проем, некогда выводивший на навесной балкончик (Репников 1932а, с. 126). Восточная часть южной половины комплекса представляет собой три смежных помещения (рис. 175; 176). Первое со скамьями по северной и южной сторонам скругляется на востоке, где пробита дверь во второе помещение. Здесь также вырублен дверной проем в сторону обрыва. На пороге его видны подрубки для установки еще одного навесного балкона (там же). С площадки последнего вниз шла деревянная лестница. В полу данной пещеры имеются две вырубные гробницы, а на стенах пазы для установки деревянных конструкций.
Третье помещение является часовней подпрямоугольной формы, размерами 3×2,5 м (рис. 175; 184). В нее ведут две ступеньки. Вдоль длинных сторон расположены скамьи. В восточной части — апсида со скальным порогом, который, вероятно, являлся основанием деревянной алтарной преграды. Престол примыкал к стене. К югу от него вырублена ниша жертвенника. Н. Репников считал, что первоначально на месте современного «Судилища» был трехапсидный храм, появившийся после гибели оборонительных сооружений. Позднее он был расширен к северу за линию колонн, которые возникли при этом из толщи скалы. В южной половине боковой апсиды была пробита дверь (1932а, с. 126).
Нам ситуация представляется несколько иначе.
Первоначально комплекс состоял из двух отдельных культовых сооружений: церкви и часовни. Церковь, судя по очертаниям современного «Судилища», имела конхиальную форму (трилистника), а не три апсиды, как считал Н. Репников. То есть по форме она была близка большому храму над подъемной дорогой и храму «Трех всадников» (см. ниже). В северной части была устроена крещальня, отгороженная от остального пространства церкви стеной алтарной преграды. Наличие баптистерия объясняет, почему алтарная преграда была вынесена к западу, а не проходила по западному краю закругления апсиды, как это было в большинстве других церквей. Ближайшая аналогия такому расположению — «церковь с баптистерием» на Тепе-Кермене (см. ниже), где алтарная часть также была вынесена внутрь наоса. Близко данное архитектурное решение и к «храму с крещальней» в Инкермане (рис. 21), хотя там апсида выполнена в другой традиции.
Граница первоначальной церкви, по нашему мнению, проходила по линии: южная граница северного входа — западная часть резервуара для воды — западная часть первого помещения комплекса часовни.
Второе культовое помещение представляло собой часовню, вход в которую вел по упоминавшейся лестнице от подножия плато. Там в основании скалы вырублен ряд усыпальниц (Репников 1935а., с. 39—40).
При расширении первоначального храма его соединили с часовней.
Создание первоначальной церкви несомненно связано с зарождением на Эски-Кермене городской жизни и, вероятно, это событие стоит в одном ряду с реконструкцией базилики в XI в. (Айбабин 1991а., с. 49); (Паршина 1988, с. 46—49).
Форма апсиды часовни похожа на форму апсид церквей у подъемной дороги. Этот фактор, а также наличие под часовней усыпальниц позволяют поставить их в один ряд, хотя, на наш взгляд, указанная часовня возникла несколько позже. По крайне мере логичным выглядит развитие церковно-погребального комплекса у главных ворот — от подъемной дороги к восточным обрывам плато.
Таким образом, сооружение первоначального храма и часовни вероятнее всего относится к XI—XII вв. Расширение церкви и создание одного комплекса с часовней, надо думать, произошло не ранее конца XII—XIII вв. В этот период городище уже было плотно застроено шестьюстами усадьбами, в которых проживало до 3000 человек (Веймарн 1982, с. 69—85). Рост населения требовал и увеличения объема и количества храмов. Как будет показано ниже, на поселении и в окрестностях в XIII—XIV вв. создаются три новые пещерные церкви, к базилике была пристроена часовня (Паршина 1988, с. 50), вероятно, сооружаются и другие культовые помещения. Скорее всего, именно в это время у въезда в город и проводятся работы по реконструкции храма, который в расширенном виде стал соответствовать новым условиям. В прорубленной части помещаются могилы. Вероятно, в северо-восточном углу была сделана попытка устройства нового баптистерия, расположение которого более соответствовало новым пространственным характеристикам. Однако по каким-то причинам старую купель сохранили. Учитывая, что скальный потолок был слишком тонким для новых размеров, в помещении оставили подпорные столбы.
Церковь «Успения»
Церковь «Успения» (рис. 155; 10; 185—189) является самым загадочным культовым сооружением Эски-Кермена. Это объясняется тем, что на различных этапах своей истории помещение выполняло различные функции. Поэтому среди многочисленных вырубок, образовавшихся на скальной поверхности, не всегда удается выделить единовременные и, следовательно, полностью реконструировать все этапы жизни пещеры. Ввиду того что в церкви сохранились фресковые росписи, она довольно часто упоминается в литературе.
Н. Эрнст подробно охарактеризовал храм, остановившись на внутренних деталях и плохой сохранности росписей (с. 29—30). Однако им был допущен ряд неточностей, которые отметил Н. Репников (1932а, с. 147—148). Датировал Н. Эрнст церковь, как и остальные пещеры, XIV—XV вв. (с. 34).
В 1928 г. храм «Успения» был археологически исследован эски-керменской экспедицией. Выводы Н. Репникова, руководителя работ, таковы: «Совершенно очевидны три строительные периода пещеры. Здесь первоначально в толще скалы имелась цистерна, в которую вело отверстие с поверхности скалы, замкнутое боевыми стенами… По обрыву скалы затем прошли вырубки «постелей» для кладки крепостной стены. Когда боевые стены утратили смысл и были насильственно разобраны до скалы, с площадки к вырубкам основания стены нарубили лесенки для сообщения с нижней террасой, служившей основанием боевой стены, использовали ее как подход-спуск к месту обрыва, где задумали вырубить пещерный храм. Быть может, даже не предполагали, что в данном участке толщи скалы имеется древняя засыпанная цистерна. В подходе к двери пещерного храма устроена вырубная гробница, заключавшая два потревоженных костяка. При дальнейшей работе встреча цистерны облегчила вырубку храма. В результате работ явилась правая половина пещеры, причем цистерну вырубили. Верхнее же отверстие, горло цистерны, заложили плитой. Впоследствии, когда храм пришел в запустение, пещеру сильно расширили в левом направлении. Выбрали упомянутую нишу для тарапана, устроили резервуар для стока виноградного сока. Ясно, что цистерна возникла вместе с боевой стеной, храм после разборки стены в данном участке, расширение храма для хозяйственных надобностей, устройство тарапана и резервуара есть явление позднейшего времени» (1932а, с. 111).
Сооружение храма, по мнению исследователя, относится к концу XII—XIII вв. (с. 112).
К западу от церкви Н. Репниковым были зачищены усыпальница и келья, которые, по мнению автора раскопок, возникли одновременно с храмом (с. 112).
По-иному виделась последовательность строительных периодов О. Домбровскому: «Сначала в скале была выдолблена «цистерна», вернее зерновая яма, отверстие которой было перекрыто каменной плитой. Затем было устроено обычное для Эски-Кермена и других городов хозяйственное помещение. В его полу глубокий выруб, своего рода подвал, в котором стояли большие пифосы (судя по высеченным для них углублениям. Подвал перекрывался деревянным настилом (сохранились сделанные для него пазы и углубления по краю выруба). В западном углу помещения, у северо-западной стены имелся высеченный из скалы каменный тарапан — обычного типа давильня для винограда. Впоследствии тарапан был полностью и весьма небрежно стесан в связи с переделкой данного помещения под храм. О том, что это было именно так, можно судить по необычному и иначе не объяснимому положению алтаря. Если бы имела место предложенная Н.И. Репниковым переделка упраздненного храма под давильню (сама по себе невероятная), то в западном углу не осталось бы в запасе куска скалы» (1966, с. 43—44).
Исследователь считал, что церковь «Успения» являлась храмом при оборонительной стене (с. 44) и датировал ее концом XIII—XIV вв. (с. 49).
Храм расположен на восточном краю плато Эски-Кермена (рис. 155; 10). Он подпрямоугольной формы, размерами 5,7×3×2,25 м (рис. 185). В него с юго-востока ведет вход размерами 1×1,5 м, направо от которого в углу находится ниша апсиды 1×0,7 м со скальным престолом, размерами 0,5×0,55 м, примыкающим к стене (рис. 186). В престоле имеется углубление для вложения мощей. К северу от апсиды жертвенник в виде ниши, а к югу — окно, по предположению О. Домбровского, диаконник (1966, с. 43). В древности алтарь был отделен от остального помещения деревянным иконостасом, поставленным на деревянных брусьях: в полу и стенах сохранились гнезда для их установки.
В центральной части северо-западной стены пещеры существует ниша, где на уровне пола вырублен тарапан размерами 2,1×1 м (рис. 187). На стенах этой части пещеры имеются гнезда и пазы для установок деревянных конструкций. По мнению О. Домбровского, в период функционирования храма тарапан был перекрыт деревянной скамьей (с. 44). В полу восточной половины помещения, ближе к центру, — нижняя половина квадратной цистерны. Потолок в восточной части сравнительно ровный, в западной более грубо обработанный.
В церкви сохранились фрагменты фресковых росписей. Вот как их описывает Н. Репников: «Сохранилась она в фрагментарном состоянии… На простенках апсиды — Благовещение. В конце — Деисус в рост с огненными шестикрылыми херувимами. Ниже, остатки фриза святителей в рост. Над престолом — младенец Христос в чаше и два ангела с рипидами. По низу проходила орнаментальная панель из параллельных зигзагообразных линий красного и черного цветов, образуя треугольник. В нише жертвенника — пояснение изображения Одигитрии. Рядом во всю высоту фигурка воина мученика с копьем в руке и закинутым за плечо круглым щитом, рядом такая же фигура, Святителя. Далее до угла стены занята вверху композицией Сретения, внизу тремя фигурами ветхозаветных пророков со свитками в руках. По низу всех изображений шла орнаментальная полоса — панель из треугольников. Участок стены против апсиды занят крупной композицией Успения, перевода с Афонием Ниже идет полотенце и фриз из треугольников. На потолке две большие композиции — Крещение и рождество Христово. Первая с фигурой Иордана, льющего воду, и плавающими рыбами: вторая на фоне горного пейзажа, сильно пострадавшая. Кроме этих композиций, на притыке потолка и апсиды сохранился фрагмент медальона с бюстом Христа. Стилистически росписи относятся к XII веку» (АКК, с. 128—129) (рис. 188—189).
По нашему мнению, в гипотезах как Н. Репникова, так и О. Домбровского имеются неточности.
Вероятно, прав О. Домбровский, считавший церковь «Успения» храмом у боевой стены, не связанным с разрушением последней. Данный тезис был им достаточно обоснован Другие же выводы данного исследователя — неубедительны.
Один из главных аргументов, по мнению Домбровского, указывающих, что под церковь было приспособлено хозяйственное помещение, — ненормальное расположение алтаря — строго на восток (а не по оси храма) в углу помещения.
Как было показано выше, в ряде церквей Инкермана, Челтера и Щулдана алтари представляют собой небольшую нишу, вырубленную в углу помещения, а не по оси церкви. Ближайшая аналогия — малый храм Шулдана (похожий даже по форме) (рис. 153). Поэтому расположение алтаря не может быть аргументом, подтверждающим предположения О. Домбровского.
Противоречит указанной гипотезе и расположение тарапана в нише. Нет сомнений, если бы помещение вырубалось для размещения в нем тарапана, то последний не пришлось бы помещать в нишу. Отметим близкий случай на Качи-Кальене, когда тарапан разместили в углу усыпальницы (Репников 1935б, с. 105; рис. 64). В пользу позднего происхождения тарапана говорит то, что на Эски-Кермене тарапанов мало. Отметим, что во время раскопок усадеб на восточном краю плато был раскопан и тарапан, появившийся, как и в нашем случае, на руинах часовни (Веймарн 1982, с. 74). Скорее всего, тарапан был вырублен уже после гибели городища одним из жителей соседней деревни Черкес-Кермен.
Рядом с церковью «Успения» находится удобный подъем на городище.
Нет сомнений, что жители Черкес-Кермена использовали плато Эски-Кермена для своих хозяйственных целей.
История церкви «Успения» нам представляется в следующем виде. Первоначально была вырублена цистерна. Затем, в XIV в., создается храм, возможно, в память об одном или двух погибших здесь защитниках (напомним, что рядом с пещерой имелась могила с двумя костяками) (Репников 1932а, с. 111). Некоторое время храм функционировал как молельня и Мартирий защитников Эски-Кермена. После гибели поселения один из жителей Черкес-Кермена или один из последних обитателей пришедшего в запустение Эски-Кермена приспосабливает помещение церкви для хозяйственных целей: в северо-западной стене вырубает нишу, а в ее основании — тарапан, расширяет резервуар в восточной части, оставшийся от основания цистерны. Вероятно, данное помещение привлекло хозяйственного крестьянина своим выгодным расположением (удобный спуск в долину, нахождение у края плато) и наличием вырубки в полу, которую можно было использовать.
Скорее всего, тарапан функционировал недолго, так как фрески хотя и были исцарапаны воинственными мусульманами (Эрнст 1929, с. 29), но все же не были сбиты.
Храм «Трех всадников»
Расположен на юго-восточном склоне под церковью «Успения» (рис. 155; 11). Церковь высечена в отдельном камне, вероятно когда-то отколовшимся от останца Эски-Кермена. Свое название храм получил от фрески, где изображены три всадника.
Известны упоминания о церкви в литературе XIX в. Подробно ее опубликовал Н. Эрнст (1929, с. 31—32). На росписи, по его мнению, изображены «вероятно Георгий Победоносец или Федор Стратилат, Дмитрий Солунский и Федор Тирон. Вернее всего два Федора и Георгий» (с. 32). Последний вывод основывается на том, что в «Камеральном описании Крыма» (1783 г.) в соседней деревне Черкес-Кермен упоминается церковь двух Федоров. Датировал исследователь храм XIV XV вв., отметив, что росписи подновлялись и в XVIII в.
Не обошел вниманием памятник и Н. Репников (1932а, с. 108—110). Со ссылкой на В. Латышева и В. Григоровича (последний видел на фреске надпись с датой 12… (1874, с. 12), он относил создание храма к XIII в. (с. 110). Исследователь обошел проблему характера изображений на фресках, отметив, что имен не сохранилось.
А. Якобсон упоминает о церкви и публикует при этом ее план (1964, с. 101). Он считал, что росписи изображают Георгия, а сами они «выполнены рукой большого мастера» (с. 101).
О. Домбровский детально рассмотрел фреску храма (1966, с. 34—42). Он интерпретировал изображенных: в центре Георгий Победоносец, а по бокам от него местные воины, павшие в боях, над могилой которых и был сооружен Мартирий. Распространенное предположение о том, что на фреске во всех изображениях надо видеть Георгия, О. Домбровский считал необоснованной.
Гипотеза Домбровского подверглась критике со стороны Е. Овчинниковой, которая считает, что на росписях присутствует Георгий, представленный в сценах «Чудо со спасенным из плена пафлагонским отроком», «Поражения копьем дракона» и «Надежного защитника, готового прийти на помощь» (левый всадник) (1976, с. 230—232).
А. Мальгин посчитал возможным вернуться к предложению Н. Эрнста, правда, не упомянув почему-то о своем предшественнике (1993).
Рассмотрим архитектурные особенности церкви.
Храм (рис. 190—191), размерами 5,5×3,5×2,7 имеет форму трилистника (конхиальную). Апсида, частично разрушенная в восточной части, полукруглая (2,6×2,4 м), отделена от наоса скальным основанием преграды, в которую вставлялись деревянные части иконостаса. В верхней части апсида выделяется каменными столбами с аркой. В центре алтаря в полу вырублено основание для престола. В стене апсиды имеется сиденье и ниша.
В южной стене наоса, по предположению Н. Репникова, находился жертвенник (1932а, с. 108). Вдоль стен вырублена скамья 0,4×0,4 м. В полу находятся две могилы — у северной стены для взрослого, у южной, напротив входа, — детская. Обработка церкви — Т. 3. В южной и северной стенах вырублены два квадратных окна.
В церковь вели два входа. Один, с четырьмя ступеньками, с северо-запада, размерами 1×2 м, другой, размерами 0,8×2 м, размещался с юга.
На северной стене расположена фреска размерами 1,85 м. В связи с тем, что вопрос о толковании ее образов не решен окончательно, приводим описание Н. Репникова, который отметил только изображения, воздержавшись от выводов: «На северной стене, над гробницей, фресковое изображение трех воинов-мучеников. По карнизу под ним, греческая надпись, по белому полю черной краской «Изсечены и написаны святые мученики Христовы для спасения души и отпущения грехов…» (Латышев 1896, с. 47—48 — Ю.М.), ниже орнаментальная панель из параллельных зигзагообразных линий красного и черного цветов, образующих треугольники.
Изображения написаны на синем фоне, сильно пострадали от намеренного повреждения. Имена изображенных не сохранились. Всадники в кирасах с закинутыми за левое плечо щитами и развевающимися плащами, с копьями в руках, едут по направлению к алтарю. Средний поражает змия, боковые держат копья остриями вверх. Ближайший к алтарю имеет на крупе коня фигуру мальчика, держащегося за лук у седла. Сбруя лошадей богатая, хвосты завязаны. Возникает вопрос, был ли храм расписан полностью или роспись ограничивалась описанным изображением. Утверждаем последнее на основании следующего соображения. Грунт изображения заготовлен враз, не имеет ни разрывов, ни швов, был по сырой штукатурке расписан сразу. На стенках нет ни малейшего намека на штукатурку, гладкая их поверхность, выровненная зубаткой, не удержала бы известкового намета. Позднейших переделок в храме нет, приведенный текст надписи говорит, что роспись одновременна устройству самого храма. К сожалению, дата надписи в настоящее время утрачена, но В.М. Григорович в 1873 г. видел окончание ее «67—12.. г.» (АКК, с. 131) (рис. 192—196).
К западу от храма в отдельном камне вырублено небольшое помещение 1,8×2×1,7 м, с обработкой Т. 2. Н. Репников считал его усыпальницей (с. 110). Однако, по нашему мнению, его можно интерпретировать и как ризницу.
В вопросе датировки церкви следует согласиться с Н. Репниковым, А. Якобсоном и О. Домбровским — XIII в. (если сведения Григоровича верны). Хотя в росписях, как отмечал О. Домбровский, присутствуют и черты XIV в. (с. 42).
Разумную гипотезу об изображенных на фресках, по нашему мнению, выдвинул Н. Эрнст, который предполагал, что это Федор Стратилат, Георгий Победоносец и Дмитрий Солунский. Однако, как отмечалось, из-за наличия в Черкес-Кермене церкви двух Федоров, исследователь заменил Дмитрия на Федора Тирона. По нашему мнению, принадлежность храма «Трех всадников» деревне выглядит сомнительной. Последняя находилась в соседней балке (рис. 156), а ближайшей к ней пещерной церковью был храм «Донаторов». К тому же наша церковь закрыта от деревни останцом Эски-Кермена. Поэтому, скорее всего, в Черкес-Кермене был свой наземный храм двух Федоров.
Подтверждают наше предположение и росписи соседнего храма «Донаторов», где присутствуют все три перечисленные персонажа, очевидно, популярные в округе Эски-Кермена. Нет сомнений, что церковь «Трех всадников» — это Мартирий. Отметим, что она расположена на территории некрополя. В связи с этим рассмотрим предполагаемую связь между «Большим храмом» в районе подъемной дороги и храмом «Трех всадников». Обращает на себя внимание сходство планов (конхиальные формы) и функционального назначения (часовни). С другой стороны, отличаются их пропорции, формы апсид, датировки. Учитывая, что подобный тип церквей редок в Крыму, можно предположить, что при создании «Трех всадников» (которому предстояло стать часовней над могилой знатного жителя Эски-Кермена) за архитектурную основу был взят «Большой храм» — самая большая в это время часовня поселения.
Храм «Донаторов»
Храм «Донаторов» получил свое условное название по сюжету росписей, изображающих семью донаторов, или ктиторов, церкви.
В литературе он упоминается не часто. Пишет о нем Е. Марков (1902, с. 423). Первое же подробное описание опубликовано Н. Эрнстом (1929, с. 32 34). Исследователь отметил хорошую сохранность росписей и то, что они, в отличие от других храмов, выполнены по более толстому слою штукатурки. План церкви, по мнению Эрнста, подражает двухнефной базилике.
Подробно церковь была исследована Н. Репниковым (1932а, с. 120—122), который датировал ее сначала второй половиной XIV в. (с. 122), а затем конкретизировал — 80-е гг. XIV в. (АКК, с. 77).
Фрескам посвящен раздел в книге О. Домбровского «Фрески средневекового Крыма» (1966, с. 22—34). Автор привел подробный анализ фрагментов росписей и внес некоторые коррективы в их трактовки (см. ниже). Исследователь считал, что фрески были многослойными: появились они в конце XII — начале XIII в. (росписи конхи апсиды, изображение всадника), а остальные композиции создавались до конца XIV в. (с. 33), и ктитором выступал сам местный князь (с. 34).
Обратил внимание на церковь и А. Якобсон, который, сославшись на мнение Н. Репникова, считал роспись созданием столичного художника (1964, с. 101). Храм расположен к западу от Эски-Кермена, в верховьях балки Черкес-Кермен (рис. 156; 4), на плато скалистого мыса, нависающего над ущельем (рис. 197; 207). Подход к нему через расселину в скале, где сохранились следы лестницы. Рядом с храмом вырублены два помещения, по Н. Репникову (1932а, с. 120) — гробница и усыпальница, гробница и склеп — по О. Домбровскому (с. 23). Не исключено, что их можно трактовать как усыпальницу и келью причетника. Такое предположение также имеет право на жизнь.
Церковь (рис. 198—204) подпрямоугольней формы, размерами 5,1×3,2×2,5 м. Апсида подковообразная (1,5×1,8×2,2 м), расположена не по центру наоса, но смещена к югу. К апсиде примыкает синтрон шириной 0,22 м, высотой до 0,45 м, в который «встроен» престол трапециевидной формы высотой 0,65 м, шириной до 0,55 м. В северной стене вырублены две ниши 0,59×0,5×0,14 м нижняя и 0,66×0,54×0,18 м верхняя. По мнению Н. Репникова, одна из них — жертвенник (АКК, с. 75). К востоку от последней есть еще одна ниша 0,37×0,3×0,19 м. В южной стене на высоте 0,52 м находится сиденье.
Апсида отделялась от наоса алтарной преградой, сохранившейся на высоту до 0,35 м. По предположению О. Домбровского, в позднее время алтарная преграда была наращена иконостасом (1966, с. 23). По центру алтарной преграды, в месте царских врат, вырублены ступеньки, ведущие в алтарь.
Наос храма прямоугольный. По его периметру расположена скамья 0,32×0,3 м. Северная стена вырублена двумя аркосолевидным углублениями. Здесь, в скамье, имеется небольшое углубление, возможно, для деревянных конструкций. На стыке северной и западной стен также есть аркосолевидная вырубка.
В южной стене, в восточной части, вырублено окно, размерами 0,46×0,58 м. В юго-западной половине — дверной проем шириной 1,7 м. Потолок северной части в виде полукоробового свода. По мнению Н. Репникова, здесь была скальная колонна, основание которой сохранилось в полу (1932а, с. 121). Остальной потолок плоский.
Храм был расписан фресками (рис. 208—209). Приводим их описание по Н. Репникову: «Изображение на синем фоне. В апсиде над престолом Христос младенец в чаше, по бокам 5 святителей в крещатых облачениях, со свитками в руках и архидиакон с кадилом. В конхе — поясной Деисус. На потолке впритык с алтарным полукружием — Благовещение. За ним по потолку композиции Крещения и Сретения. По своду северной части потолка в пышном орнаментальном узоре в 5 медальонах поясные фигуры. Из них сохранились с изображениями Ермолая, Пантелеймона, апостолов Петра и Павла. На остальном участке этой части потолка композиции мучения Федора Стратилата перед царем и усекновение главы его.
На северной стене в западном аркосолии незначительные остатки фигур Георгия Победоносца и Дмитрия Солунского в рост в воинском наряде с фрагментом малой фигуры между ними.
В восточном аркосолии, по-видимому, остатки конной фигуры (копыта коня). По закрайкам аркосолии пышно орнаментированы узором и вязью надписи. В пространстве между дугами медальоны с бюстами святых. На простенке у алтарной преграды поясные изображения двух мучениц, ниже орнаментальное полотенце. На тяге потолка мученик в княжеском одеянии и преподобный в рост. В узком аркосолии западной стены фрагменты композиции, представляющей «донаторов». По середине остатки фигуры в рост в богатом красном одеянии. Лицо молодое, с остроконечной бородкой, в нимбе. Остаток окончания надписи имени ДINOC с несомненностью устанавливают мученика Анкиндина, державшего в правой руке большой процветший крест, около которого OQ(VOIVIOS). Справа поясная женская фигура в монашеском одеянии, правая рука наискось груди. Слева от Анкиндина бородатая фигура, от которой сохранилась верхняя часть. На голове шапка с матерчатым верхом и меховой опушкой, на уши спускаются матерчатые тесемки белого цвета с кисточками на концах. Правая рука наискось груди. Над головой остатки надписи BOH справа TV. Рядом с этой фигурой остатки женской в красноватой одежде с короткими по локоть рукавами. Исподняя одежда белая. На голове остроконечный кокошник с эспри, в ушах серьги, сбоку надпись EKOIMHTV (почила, упокоилась). Аркосолий с помянутыми изображениями по закрайку орнаментирован. Арка его с правой стороны покоится на колонке, верх которой оканчивается капителью с маскароном в виде головы чудища. Стиль росписи храма высокого мастерства столичного художника» (1932а, с. 121—123; рис. 205—209).
О. Домбровский не согласился с рядом трактовок изображений:
а) вместо Анкиндина он предположил Христа (с. 32), на этом настаивал и Н. Эрнст (1929, с. 32);
б) отрицал изображение Георгия Победоносца в западном аркосолии северной стены;
в) считал, что изображение «мучений Федора Стратилата» более позднее, однако никаких аргументов не приводил.
С мнением о разновременности изображений трудно согласиться, однако исключить факт подновления фресок нельзя.
О. Домбровский считал, что храм был связан с Черкес-Керменом (с. 22). На наш взгляд, это маловероятно. Для сельской церкви данный памятник слишком труднодоступен и замаскирован, что, кстати, и позволило сохранить его росписи. Вероятно, прав был А. Якобсон, считавший церковь частью небольшого монастырька (скита) (1964, с. 101—102). Расположение храма и его росписи подтверждают данную гипотезу.
В данном случае перед нами распространенный в Византии пример, когда на средства состоятельных ктиторов основывается монастырь, являющийся их фамильной усыпальницей. В пользу этого говорит и наличие всего одного, максимум двух (если верно предположение Н. Репникова) мест захоронений.
Вероятно, рядом с церковью имелись какие-то наземные сооружения: перед входом в храм и на площадке видны гнезда для установки деревянных конструкций (рис. 207).
В вопросе о датировке памятника следует согласиться с мнением Н. Репникова. Кроме хронологии фресок, эти выводы подтверждают и архитектурные аналогии. Ближайшая из них — церковь монастыря в балке Табана-Дере на Мангупе, датирующаяся не ранее середины XIV в. (Герцен, Могаричев 1996, с. 43) (см. ниже). По крайней мере, относить храм «Донаторов» ко времени ранее середины XIV в. нет оснований.
Таким образом, на Эски-Кермене из более чем 350 помещений, вырубленных в скале, известно 6 пещерных церквей, а учитывая часовню в «Судилище» — 7.
Уникальность эски-керменских скальных культовых сооружений состоит в том, что:
1. Церкви в районе подъемной дороги позволяют определить начальный этап скального церковного строительства в Таврике.
2. Здесь относительно неплохо сохранились фресковые росписи (кроме Эски-Кермена, фрески сохранились только в церкви южного монастыря Мангупа). Следовательно, в основном только эски-керменские памятники дают представление о фресковой живописи пещерных храмов Крыма.
3. В отличие от большинства других поселений, где датированные церкви имеют узкие хронологические границы функционирования, Эски-Кермен дает пример хронологического разброса — от конца X — начала XI в. до конца XIV в.
4. На Эски-Кермене нет монастырских церквей (кроме храма «Донаторов»), на большинстве же других памятников пещерные церкви в основном связаны с ними.
5. Большая часть храмов городища — относительно надежно датированные памятники.
Все вышеперечисленное позволяет считать пещерные церкви Эски-Кермена весьма важными в работе по составлению хронологической шкалы всех аналогичных памятников Крыма.
Мангуп
Среди искусственных пещерных сооружений Мангупского городища особый интерес представляют комплексы культового назначения. Первые упоминания о них относятся к концу XIV в. Иеромонах Матфей в «Описании Города Феодоро» сообщает о высеченных в скале дворцах и келиях (Mercati 1927, с. 19—30; Vasiliev 1936, с. 189—192; Байер 1995, с. 74—75). Швейцарский путешественник Дюбуа де Монпере, в 1834 г. посетивший Мангуп, дал в атласе иллюстраций к описанию своей поездки по Крыму довольно верный план одного из внутрискальных комплексов монастырского характера, расположенного близ оконечности в юго-восточном обрыве мыса Тешкли-бурун (1843, p. 16, с. 280) (рис. 217).
Более поздние отрывочные сведения о пещерных церквах Мангупа содержатся в работах И. Андриевского (1839, с. 543), Д. Струкова (1876, с. 33), Н. Никольского (1893, с. 76—79), В. Кондараки (1872), А. Бертье-Делагарда (1918) и других авторов.
Началом археологического изучения этих памятников можно считать проведенную экспедицией под руководством Р. Леперав 1912—1913 гг. (1913, с. 154; 1914, с. 299) зачистку так называемой «гарнизонной церкви» на мысе Тешкли-бурун, церкви южного монастыря и церкви в балке Табана-Дере.
В 1938 г. экспедицией ГАИМК проводилось обследование пещерных сооружений Мангупа. Тогда Е. Веймарном были сняты планы пещерных комплексов в оконечности мыса Тешкли-бурун (Веймарн 1953, с. 421—424). За пределами цитадели на обрыве возле мечети Баязида Святого им был расчищен двухкамерный пещерный комплекс с принадлежащими ему двумя склепами.
В 1967 г. Е. Веймарном были возобновлены работы на Мангупе, проводившиеся Институтом археологии АН УССР, Бахчисарайским историко-археологическим музеем (БИАМ) и Крымским государственным педагогическим институтом. В 1969—1970 гг. М. Чорефом и А. Герценым при разведках склонов был обнаружен небольшой монастырь в естественном гроте, расположенном в подножии обрыва под двухкамерным комплексом, исследованным в 1938 г. (Веймарн и др. 1974, с. 136—137). В 1971 г. группа той же экспедиции под руководством М. Чорефа провела раскопки в южном пещерном монастыре, расположенном в естественном гроте в обрыве плато (Архив БГИКЗ, д. 15/19). Комплекс этот известен с начала XIX в. благодаря храму с фресковой росписью (Архив ИИМК, д. 104; Грабарь 1966, с. 256).
В 1973 г., в период работы совместной экспедиции ИА АН УССР, БИАМ и Симферопольского госуниверситета (СГУ) под руководством Е. Веймарна, И. Лободой (БИАМ) проведены раскопки наземной части «гарнизонной церкви», где были выявлены вырубные гробницы и остатки наземного дома, перекрывавшего церковь в турецкое время (XVI—XVIII вв.) (Архив БГИКЗ, д. 26/1; д. 26/2).
В 1975 г. экспедицией СГУ исследовался северный пещерный монастырь, расположенный в западном склоне мыса Чуфут-Чеарган-бурун у места примыкания к обрыву восточного фланга оборонительной стены в ущелье Табана-Дере (укрепление А XI). Под руководством Ю. Воронина проведены раскопки возле пещерной церкви, зачищены внутрискальные помещения, сделаны архитектурные обмеры.
В монографии А. Герцена и автора настоящей работы были обобщены все сведения о скальных храмах Мангупа и выявлены новые (Герцен, Могаричев 1996). Эти данные и легли в основу настоящего раздела.
Наибольшая концентрация христианских культовых построек наблюдается на мысе Тешкли-бурун и в его ближайших окрестностях.
Характеристику памятников начнем с так называемой «гарнизонной» церкви.
Комплекс сооружений на оконечности мыса Тешкли-бурун
«Гарнизонная» церковь
«Гарнизонная» церковь расположена у края юго-восточного обрыва вблизи оконечности мыса Тешкли-бурун (рис. 210.2; 280.3). Вероятно, церковь была вырублена в скале в тот же период, что и другие внутрискальные комплексы на территории цитадели Условное название «гарнизонная» связано с соседством церкви с оборонительными казематами и возможностью использования ее для обстрела колесной дороги.
Как было отмечено выше, памятник впервые был раскопан в 1912 г. экспедицией Херсонесского музея. Помещение было доверху затянуто землей и заросло кустарником (Лепер 1912, с. 154). В 1973 г. экспедицией Крымского отдела ИА АН УССР, Бахчисарайского музея и СГУ проведены исследования вокруг церкви (руководитель работ — И. Лобода). Были открыты 9 вырубных могил (Веймарн, Даниленко, Герцен 1974).
Церковь — однонефная (рис. 211—216) с прямоугольным в плане наосом шириной 3,0, длиной 6,75 м, завершенным круглой апсидой с радиусом кривизны 1,12 м, внешний обвод ее выходит на край обрыва. Судя по двум узким вертикальным пазам, проделанным по сторонам апсиды, алтарная преграда была дощатой. Ориентировка оси церкви — 84°. Скальный пол неровный. С запада в наос с поверхности плато ведет изломленный под тупым углом проход с лестничным спуском. Такая конструкция входа защищала помещение от ветров в холодное время.
Стены наоса сохранились на высоту до 3 м, апсиды — на 1,2 м, поверхность их тщательно обработана мелкими кирочными ударами. Южная стена гладкая, в предалтарной ее части — прямоугольный дверной проем, выводящий в помещение неправильной формы. С запада с поверхности плато в него можно было проникнуть через люк с лестничным спуском. Для создания этого входа была использована вырубная гробница глубиной 1,1 м, находившаяся рядом с церковью.
Помещение к югу от церкви, возможно, служило оборонительным казематом; в его восточной стене имеется проем, выводящий на край обрыва, где, вероятно, была деревянная галерея типа «мушараби». По предположению Р. Лепера, эта галерея позволяла обходить снаружи апсиду церкви. Рядом с упомянутым проемом вырублено прямоугольное окно, сужающееся к наружной стороне.
В верхней части южной стены данного помещения сохранились выступы, являющиеся остатками скального перекрытия, впоследствии обрушившегося.
В центральной части северной стены на высоте 0,9 м от пола находится вырубная гробница овальной в плане формы (1,7×1,1×1,2 м), в нее ведет прямоугольный люк В 0,5 м к востоку на том же уровне вырублена прямоугольная ниша (0,31×0,5 м), вероятно, для мощей. В предалтарной части стены находится прямоугольный дверной проем, сохранивший скальное перекрытие. Он выводит на открытую площадку у края обрыва.
О характере перекрытия церкви можно судить по вырубным гнездам в верхней части северной и южной стен, на которые опирались балки, перекрывавшие пролет наоса. Возможно, они были опорами стропильной конструкции двускатной черепичной крыши.
Размеры гнезд 0,14×0,18 м и 0,15×0,2 м, расстояние между ними — 0,42 м. Отметим, что в Крыму больше не известно церквей такой комбинированной конструкции. Нельзя, однако, исключить, что первоначальное сооружение было в полной мере внутрискальным, имело монолитное перекрытие, остатками которого является притолока толщиной 0,15 м над лестничным спуском в западной стене. Такую толщину скальной кровли имели и другие казематы цитадели, ныне в большинстве своем обвалившиеся. Если это было так, то балочное перекрытие наоса появилось после обрушения скального свода.
Косвенным аргументом в пользу предположения о существовании на первом этапе функционирования церкви монолитного скального перекрытия может служить наличие на наружной поверхности притолоки входа части желоба, являющегося, возможно, частью водосборной системы, существовавшей на скальной кровле церкви.
Как показали исследования 1973 г., последний период функционирования сооружения датируется концом XV—XVI вв. Тогда церковь и могилы вокруг нее были перекрыты постройкой с камином в юго-западном углу. Очевидно, храм использовался как подвальное хозяйственное помещение этой усадьбы.
Пещерные комплексы № 1—3 (по Е. Веймарну)
К северо-востоку от «гарнизонной» церкви в оконечности мыса Тешкли-бурун расположен, как мы полагаем, единый комплекс пещерного монастыря, обследованный и описанный Е. Веймарном в 1938 г. Автор разделил его на пещерный комплекс Барабан-коба и казематы № 2 и № 3 (рис. 210.1).
Учитывая, что описание Е. Веймарна достаточно полное и точное, приводим его ниже.
Пещерный комплекс № 1, известный в литературе под названием Барабан-коба (рис. 218—220; 280.1. — Авт.), представляет собой остатки довольно сложного и большого комплекса сооружений, первоначально имевшего безусловно оборонительное назначение. Расположен он на самой северной оконечности мыса Тешкли-бурун. Перед входом в пещерное сооружение заметны ясные следы значительного по размеру полувырубного помещения, прямоугольного в плане, вытянутого с севера на юг. С южной стороны в это помещение ведет неширокий вход с одной ступенькой вниз. В южной части его западной стены имеется небольшое углубление, а дальше к северу — две ниши. В полу, вдоль западной стены, вырублены три небольшие круглые углубления — возможно, места постановки пифосов. В юго-восточном углу имеются два выступа-скамейки. Далее идет восточная стена, также вырубленная в скале, но сильно разрушенная; в северной ее части еще заметны остатки выхода из помещения на восточную площадку. Пол помещения, когда-то гладко стесанный, ныне сильно выветрился.
В западной части северной стены прорублен вход в первое пещерное сооружение комплекса; в восточной стене видны слабые следы лесенки, ведущей на небольшую, треугольную в плане, площадку над пещерным сооружением. По краям площадки заметны следы постелей от исчезнувшей каменной кладки, указывающие на наличие здесь когда-то наземной постройки — вероятно башни. В полу площадки имеются два круглых углубления. В северной части площадки сохранились остатки лестницы, вырубленной в скале и ведущей на другую площадку, расположенную ниже. Две ступени этой лестницы хорошо сохранились, две лишь намечаются, остальные обвалились.
Под второй площадкой находится верхнее помещение пещерного комплекса, куда ведет лестничный спуск в восемь ступеней из описанного продолговатого полувырубного помещения на плато. В плане это пещерное помещение четырехугольное (наибольшие размеры: длина 7 м, ширина 5 м, высота 3 м), с хорошо обработанными стенами и гладким полом Южная стена его, где находится вход, слегка вогнута. В восточной его части имеется небольшая ниша. Ю.-в. угол, а также часть восточной стены разрушены. В восточной стене имеются два небольших оконных проема со следами вставлявшейся деревянной рамы; южный оконный проем разрушен. В северной части восточной стены, на высоте 0,90 м над полом, находится дверной проем с пятиступенчатой лестницей, выводящей на восточную площадку. Восточная стена довольно тонкая и имеет несколько горизонтальных трещин. Западная часть северной стороны и северная часть западной стены обрушены. В северо-западном углу помещения вырублен лестничный спуск в нижний этаж пещерного сооружения. Лестница эта, сначала идущая к западу, а затем почти к югу, на повороте раздваивается: одним своим маршем она приводит на площадку перед обрывом скалы (западный край Тешкли-буруна), другим ведет в нижнее пещерное сооружение.
Нижнее пещерное помещение представляет большую прямоугольную камеру (размеры: длина 6 м, ширина 5 м, высота 2,70 м) с входом в северо-западном углу, куда приводит лестница. Около входа в северной стене высечена высокая ниша. Стены всего помещения хорошо обработаны; пол гладкий. Посередине помещения, ближе к северной стене, находится четырехугольная в плане колонна, высеченная в скале при устройстве помещения.
В северной и восточной стенах нижнего помещения имеются пять дверных проемов (два — в северной стене и три — в восточной) со следами бывших здесь дверных запоров. Эти проемы ведут в небольшие почти прямоугольные камеры приблизительно одинаковых размеров (около 2,30×2,60 м). В восточных камерах имеются вдоль одной из стен небольшие ниши-лежанки. Западная стена центрального помещения, имевшая дверной проем, выходящий на площадку, в южной своей части рухнула.
В южной стене центрального помещения имеются два дверных проема, ведущие в большое помещение, откуда проход в его западной стене выводит на упомянутую площадку у обрыва скалы, которая тянется вдоль всего нижнего этажа пещерного комплекса (длина площадки около 12 м, ширина — 3 м).
Зачистка площадки у обрыва обнаружила широкую вырубку в скале (около 0,70 м), прослеженную по всему ее наружному краю (особенно хорошо это заметно в центральной части) и представляющую собой постель какой-то каменной кладки, возможно стены или бруствера; эта некогда существовавшая стена обрамляла площадку со стороны обрыва, являясь одним из элементов всего этого довольно сложного оборонительного комплекса. Площадка господствует над дорогой к главным воротам Мангупа, которые отсюда прекрасно видны.
Наличие на северной оконечности Тешкли-буруна ряда вырубок в скале — постелей оборонительных стен (например, на северо-восточной стороне оконечности мыса), а также полувырубных пещерных сооружений убеждает в том, что на этом мысу еще в раннесредневековый период существовало укрепление. Что касается назначения нижнего пещерного сооружения, то, по всей вероятности, как уже указано исследователями Мангупа, оно служило подземной тюрьмой. Этого мнения, по-видимому, придерживался еще П. Кеппен, который на плане Мангуп-Кале указал на северной оконечности Тешкли-буруна в точке «л» «развалины башни с пещерами под нею, иссеченными в камне».
Этот комплекс видел и Дюбуа де Монпере, который в своем археологическом атласе поместил приблизительный план и разрез нижнего помещения описанного нами комплекса.
Пещерный комплекс № 2 (рис. 221—223, 280.2. — Авт.) находится в нескольких метрах к югу от полувырубного продолговатого помещения комплекса № 1 и расположен у восточного обрыва мыса Тешкли-бурун. Лестничный спуск в 15 ступеней, начинающийся прямоугольным вырубом, вытянутым с севера на юг (размеры: 1,20×2,20 м), ведет в юго-западный угол обширного четырехугольного, ромбовидного в плане, помещения размерами 3,80×5,40×2,90 м.
В западной стене, около лестницы, имеется дверной проем (со следами от вставлявшейся некогда деревянной коробки), соединяющий помещение с большой камерой (1,85×1,80 м); в западной стене этой камеры устроена невысокая ниша-лежанка. Вдоль западной стены основного помещения высечена небольшая гробница (размеры: 2,50×0,80×0,80 м). По краям ее высечены заплечины, указывающие на то, что гробница некогда была перекрыта плитами (обломок одной из них найден при выборке земли из гробницы); над гробницей в стене сохранились следы высокой неглубокой ниши. Северная стена этого помещения сильно разрушена; в ней, по-видимому, также имелась небольшая ниша. Восточная стена помещения сильно пострадала — часть ее обрушилась вместе с потолком. По-видимому, здесь был выход на небольшую, вырубленную в скале, площадку шириной до 1,50 м. С южной стороны существующего сейчас прохода из помещения на площадку, на небольшой ступеньке скалы, имеется углубление, вытянутое с запада на восток, размерами 1,60×0,45 м. При зачистке помещения никаких существенных находок сделано не было.
Выяснить назначение пещерного комплекса № 2 пока сложно.
Пещерный комплекс № 3 (рис. 224—226. — Авт.) находится к югу от комплекса № 2. В него сейчас можно проникнуть через площадку, расположенную перед комплексом № 2, а ранее сюда вела лестница с плато, ныне обрушившаяся. Со стороны обрыва на небольшом протяжении тянется бруствер-парапет, высеченный в скале. Здесь начинается лестничный спуск на площадку, расположенную непосредственно перед пещерным комплексом № 3. Нижняя часть лестничного спуска обрушилась, сохранилось лишь несколько верхних ступеней.
Северная пещера этого комплекса, неправильная в плане (3,50×3,20×2,30 м), имеет выход на восток во всю ширину помещения. В северо-западной стене вырублена большая ниша; в южной — пробито окно, выходящее в соседнюю пещеру.
Вторая пещера представляет собой большое четырехугольное помещение (9,00×5,00×2,60 м), причем западная стена его значительно длиннее восточной. С востока в помещение ведут два прохода, из которых южный сохранил следы деревянной дверной коробки. Южнее этого прохода в стене прорублено окно; другое окно, упомянутое выше, выходящее в соседнее помещение, находится в северной стене; в западной стене устроены две большие ниши, из которой южная, больших размеров, расположена на значительной высоте. В восточной части южной стены находится дверь, ведущая в третью пещеру. Пол второй пещеры гладкий, потолок имеет ряд трещин. При зачистке этого пещерного помещения от натекшей земли в северо-восточной части пола были открыты остатки полувырубной, очень небольшой часовни (длина 7,10 м, ширина 3,70 м). Несмотря на отсутствие каменной кладки, план часовни очень хорошо обрисован вырубками в скале, служившими постелями стен. Пол часовни опущен ниже пола пещеры на 0,50 м, алтарная часть возвышается над полом часовни на 0,40 м. С западной стороны в часовню вела одна ступень, к алтарю — две низкие ступени. У начала полукружия алтаря, обращенного на восток, сохранились основания полуколонок, вырубленных в скале. В центре алтаря, ближе к восточной части полукружия, имеется прямоугольная выборка в скале для установки подпрестольного камня. Вероятно, в более позднее время, когда часовня перестала действовать, ее помещение было приспособлено под водоем, куда стекала вода по выбитым в полу пещеры водостокам. Для вывода излишней воды из бассейна в алтарной части часовни был вырублен широкий водосток, перекрытый позднейшей черепицей (татарского типа); несколько звеньев этого черепичного перекрытия было обнаружено при зачистке. Возможно, тогда же в северном проеме, ведущем на площадку, были сделаны пазы для закладки его деревянными брусьями или досками.
Третья пещера этого комплекса — самая южная. Размеры ее: длина 4,90 м, ширина 4,50 м и высота 2,30 м. Пещера имеет неправильную форму, с выступающим внутрь юго-восточным углом, и не отличается по характеру обработки от остальных. В восточной стене прорублен большой проем-амбразура, выходящая на самый обрыв скалы и напоминающая амбразуры для скатывания камня в пещерных казематах восточного края плато Эски-Кермена, зачищенные в 1937 г. Почти в центре гладко вырубленного пола находится круглое углубление (глубина 0,60 м) с треугольным вырезом у северо-восточного края.
В южной части помещения, вдоль стен, имеется шесть небольших круглых углублений, по-видимому, для постановки пифосов» (1953, с. 421—423).
Учитывая, что все три комплекса, описанные Е. Веймарном, территориально связаны между собой переходами и близки по архитектурным особенностям, можно высказать предположение о том, что они являются составными частями одного монастыря, располагавшегося на оконечности мыса. В него входили не только пещерные, но и наземные сооружения. Так, слева от входа в верхний ярус Барабан-кобы на скальном возвышении сохранились следы помещения с вырубными гробницами, являвшегося, скорее всего, церковью. Северо-западная его часть в настоящее время не сохранилась. Не исключено, что «гарнизонная» церковь также могла быть связана с этим комплексом.
Таким образом, составляющие его узлы таковы: нижний этаж Барабан-кобы (комплекс № 1, по Е. Веймарну), включающий пять келий и трапезную, комплексы № 2 и № 3 погребального назначения с отдельной монашеской кельей и часовней.
Скальные сооружение на оконечности мыса, наряду с культовыми, несомненно, исполняли и дозорно-оборонительную функцию: они были удобно расположены для контроля главной дороги, ведущей в крепость в обход мыса. Безусловно, что именно военное назначение имело помещение второго яруса Барабан-кобы (казарма?), над которым на скальной площадке была еще надстроена башня, остатки которой отмечались авторами конца XVIII — начала XIX в. (Муравьев-Апостол 1823, с. 185; Кеппен 1837, с. 276). Явно оборонительное значение имеет крайнее южное помещение комплекса № 3. В подошве его обширной амбразуры, выходящей в обрыв, дополнительно прорублена машикуль, узко направленная на полотно находящейся снизу дороги.
Такой симбиоз церковно-монастырских и оборонительных элементов достаточно типичен для средневековых городищ Юго-Западного Крыма и Болгарии, например, Каламиты, Чуфут-Кале, Калиакры и др.
Церковь в оконечности мыса Тешкли-бурун
Дорога, ведущая из балки Алмалык-Дере на территорию городища, на заключительном участке вначале проходит по юго-восточному склону мыса Тешкли-бурун, а затем под его оконечностью, представляющей собой как бы острое ребро трехгранной призмы (рис. 210.3; 280). Здесь она резко поворачивает в ущелье Капу-Дере и следует под северо-западным обрывом до главных ворот. Над дорогой, в месте, где она огибает мыс, находится одиночное пещерное сооружение (рис. 280.4). Входной проем в него — прямоугольной формы 1,58×0,74 м, расположен на 4,40 м выше поверхности скальной полки шириной около 1,5 м, которая, в свою очередь, выступает Над дорогой на высоте около 2,50 м. В оконечности мыса под полкой находится грот, образовавшийся от выветривания, делающий полку в этом месте неприступной. Подняться на нее от дороги можно только по довольно крутому склону примерно в 30 м к юго-западу от оконечности мыса. В 15 м от нее и, соответственно, от входа в помещение, в скале вырублен вертикальный паз, вероятно, для установки деревянной перегородки и калитки, препятствующий свободному доступу на площадку под пещерой. В помещение можно было попасть по деревянной приставной лестнице, так как какие-либо вырубки в скале, облегчающие подъем, отсутствуют.
Помещение (рис. 227) в плане имеет форму неправильного овала 4,90×3,30 м, высота его достигает 2,10 м. Обработка стен соответствует типу Т. 2. В северо-восточной стене на высоте 0,66 м от пола вырублена арочная ниша с шириной основания 1,20 м, высотой 0,90 м и глубиной 0,28 м, поверхность скалы в ней тщательно обработана более легкими и частыми ударами. Ориентировка ниши — 90°. Вероятно, она выполняла роль алтаря.
В северо-западной стене на высоте 0,96 м вырублена арочная ниша шириной 0,60 м, высотой 0,50 м, глубиной 0,30 м.
Вдоль юго-западной стены проходит скальная скамья длиной около 2,5 м. На стенах помещения процарапаны кресты, особенно много их в нише-апсиде. Судя по характеру вырубок на стенах, помещение имеет, по крайней мере, два строительных периода.
По назначению данное помещение, скорее всего, могло служить скитом или придорожной часовней. Укрепленная площадка под ней была удобна для расположения здесь караульного поста над важным участком дороги. Еще Н. Репников отмечал наличие под оконечностью мыса следов оборонительного сооружения, перекрывшего здесь дорогу (АКК, с. 180). Они в настоящее время визуально не просматриваются.
Юго-восточный монастырь
Пещерная церковь на «площадке со склепами»
В ближайших окрестностях Тешкли-буруна среди известных в настоящее время пещерных комплексов следует отметить расположенную у края обрыва, в 100 м к юго-западу от цитадели, так называемую «площадку со склепами» (рис. 210.4, 228—231). Здесь находится обширное вырубное сооружение с лестничным спуском с плато, открытое сверху и в сторону обрыва, высота стен достигает 1,60 м. Не ясно, каким было его перекрытие, не исключено, что это были навесы, поддерживающиеся деревянными столбами. В скальном полу есть округлые вырубки, предназначавшиеся для установки сосудов.
С площадкой связано шесть пещерных сооружений различного назначения. В северо-восточной ее части находится округлое в плане помещение, доступ к которому в настоящее время возможен по узкому скальному уступу над обрывом. Вероятно, оно служило укрытием для караульных (рис. 279.3). В обрыве центральной части площадки ниже 2,0 м ее поверхности расположена прямоугольная в плане пещера, в настоящее время спуск туда возможен лишь с помощью веревки (рис. 279.4). В период же функционирования помещения туда попадали, вероятно, по вырубленному лестничному спуску, следы которого сохранились в 2,50 м к юго-востоку от входа на краю обрыва. В дальнейшем в результате обрушения здесь части кромки обрыва и скальной полки перед входом в помещение сообщение его с плато оказалось затрудненным. Открыто оно А. Герценым в 1969 г., до 1980-х гг. массовым посетителям практически не было известно.
Два пещерных помещения в юго-западной части площадки обследовались Е. Веймарном в 1938 г. Первое (северо-восточное), открытое в сторону площадки, определялось им как обширный прямоугольный в плане склеп, второе, сообщавшееся с первым через дверной проем в юго-западной стене, представлялось как более позднее сооружение хозяйственного назначения, доказательством чего служили углубления в полу для установки сосудов (1953, с. 421). Во время исследований 1938 г. были открыты два вырубных склепа Дромос склепа № 1 находился в полу первого помещения (рис. 228). Размер прямоугольной в плане камеры — 3,70×1,80 м. Потолок сводчатый, плавно закругляющийся при переходе к стенам. Здесь были обнаружены 77 человеческих черепов (43 совершенно целых) и большое количество перемешанных костей. Среди вещей в склепе были найдены бронзовое колечко, кольцо из желтой меди, два браслета синего стекла, обломок стеклянного сосуда.
Второй склеп расположен к северо-востоку от первого. Размер камеры 2,35×2,35×1,47 м. Судя по количеству черепов и костей, здесь в разное время было захоронено не менее 30 человек. Среди немногочисленных находок — два железных гвоздя с остатками дерева, обломок браслета синего стекла, круглый в сечении, витое бронзовое колечко, бронзовый перстенек, остаток точильного камня, колечко желтого стекла и три обломка железного кольца.
Исследователь, опираясь на архитектурные аналогии (склепы могильников Суук-Су, Озень-баша и Эски-Кермена), датировал склепы V—VII вв. (1953, с. 424). Однако ни один предмет, обнаруженный в склепах, не подтверждает такое определение. Судя по опубликованным рисункам и фотографиям, вещи эти не могут быть отнесены ко времени ранее X в. и бытовали в Крыму на протяжении первой половины II тыс. н. э. Отметим, что Н. Репников склонен был датировать мангупские склепы XII—XIII вв. (ААК, с. 189).
Дальнейшее изучение комплекса в 1993—1994 гг., проводившееся путем натурного обследования, позволило выявить ряд деталей, ранее ускользавших от внимания исследователей, и более точно определить его назначение. Особый интерес представляют упоминавшиеся помещения № 1 и № 2 в юго-западной части площадки (рис. 228; 231).
Помещение № 1 расположено над дромосом склепа № 1 (по нумерации Е. Веймарна), оно прямоугольной в плане формы, 4,20×4,30 м. При высоте до 2,5 м северная стена в настоящее время отсутствует, очевидно, она была сложена из камня и впоследствии разрушена. Отсутствует также часть восточной стены (до начала скальной стенки), но здесь сохранилась вырубка в материке для установки нижних камней кладки длиной 0,90 и шириной 0,20 м. В центре скальной части восточной стены вырублена неглубокая ниша (до 0,30 м), в ее полке находится прямоугольное в плане гнездо 0,52×0,21 м. Таким образом, здесь, явно вторично по отношению к первоначальному помещению, была оборудована алтарная часть со всеми ее непременными атрибутами (рис. 232). Ориентация ее по оси, проходящей через престольное углубление, — 110°, причем последнее вырубалось с учетом направления на точку сол-немного восхода, на что указывает смещение его ориентировки к востоку даже по отношению к нише в целом.
Церковный облик интерьера описываемого пещерного сооружения дополняют две ниши, вырубленные в южной стене, — большая и маленькая — со скругленными верхними углами, и скальная скамья вдоль западной стены высотой 0,25 и шириной до 0,80 м.
Потолок помещения плоский, несколько повышается в центральной части. Характер обработки скальных поверхностей помещения соответствует типу Т.2.
Помещение № 2 прямоугольное в плане 4,20×3,00 м при высоте до 2,0 м. В полу у восточной стены — округлая выемка. К западу от него — квадратная в плане, связанная с первой двумя желобами. В восточной стене находится прямоугольный оконный проем, в западной — большая арочная ниша и неглубокая полка. В южной и западной стенах вырублены вертикальные узкие неглубокие пазы, очевидно, для легких деревянных перегородок, отделявших угол от остальной площади помещения. В северной стене, к востоку от дверного проема, имеется арочная ниша. Потолок помещения плоский, поверхность стен тщательно обработана, кирочные борозды заглажены.
В целом рассмотренный пещерный комплекс в южной части «площадки со склепами» можно рассматривать как имеющий церковно-погребальное назначение. Оформление его прошло ряд этапов. Можно согласиться с Е. Веймарном, что первоначально здесь была группа скальных склепов, в дальнейшем один из них был вначале расширен, превратившись в помещение № 1, а затем в нем создана церковь, криптой которой стал служить склеп № 1. Вероятно, одновременно с расширением помещения № 1 было вырублено помещение № 2, которое, судя по вырубкам в полу, могло функционировать как баптистерий. Таким образом, перед нами пещерная церковь, возникшая при более раннем погребальном сооружении, как, например, церковь св. Георгия на Мангупе и ряд храмов-мартириев в Херсонесе (Кутайсов 1982, с. 168—187).
Пещерная церковь в обрыве под «площадкой со склепами»
Непосредственно под «площадкой со склепами», в гроте эрозионного происхождения, в подножии юго-восточного обрыва, в толще мшанковых известняков, бронирующих поверхность Мангупского плато, находится пещерный комплекс, краткое описание которого опубликовано в 1974 г. Е. Веймарном и др. (с. 136—137) (рис. 210.5; 279.6; 280.8).
Скальный навес на этом участке образует дугообразную в плане полость, открытую на юго-восток (рис. 233). В северо-восточной стене, возле наружной скальной полки, вырублена алтарная ниша с хорошо выраженной конхой (рис. 233—237). При ее создании было использовано естественное углубление, подрубленное в направлении северо-восток—восток (ориентировка апсиды — 110°). Высота апсиды от пола до шелыги арки конхи — 1,85 м. В основании апсиды выступает скамья длиной 1,0, высотой 0,50 м (синтрон). Поверхность скалы в алтаре тщательно заглажена. Справа от апсиды на уровне конхи сохранилась верхняя часть прямоугольной ниши шириной 0,60 м, стены которой были тщательно обработаны зубаткой, другая ниша (0,66×1,15×0,48 м) находится на тябле арки конхи со смещением влево от ее вертикальной оси.
Верхняя часть скальной стены навеса в пределах контура храма, первоначально плавно переходившая к потолку, была подрублена, и ей придали вид гладкого фриза, венчающего стены на высоте от 1,50 до 2,30 м от пола. В нем были вырублены прямоугольные ниши, в щеках которых попарно расположены горизонтальные пазы для установки деревянных полок, такие ниши есть в северо-западной (1,42×0,87×0,48 м) и юго-западной (1,17×0,50×0,50 м) стенах. Кроме внутрискальных, на фризе также были оборудованы выносные полки, на что указывают расположенные в ряд прямоугольные вырубные гнезда, в северо-восточной стене — четыре, в северо-западной — три.
Ближе к юго-западной стене, на расстоянии 1,65 м друг от друга, вдоль поперечной оси храма в потолке пробиты две проушины для подвески хоросов.
Подрубки потолка и стен позволяют с достаточной точностью восстановить полные контуры храма (рис. 235—238).
Скальные вырубки есть также в соседнем к югу гроте, под обрывом имеются следы существовавшего здесь источника воды.
Можно достаточно уверенно говорить о том, что рассмотренный памятник составлял единое целое с комплексом сооружений на «площадке со склепами». Их связь по вертикали подтверждается существованием в средней части обрыва плато, как раз над нижним храмом, небольшой искусственной пещеры, служившей укрытием для одного человека (исследовано А.Г. Герценым в 1968 г.) (рис. 279.5). К ней от «площадки» можно спуститься по естественному наклонному скальному уступу, к настоящему времени частично обрушившемуся. От пещеры до скальной полки у храма остается семь-восемь метров по вертикальной (местами с отрицательным уклоном) скале, которые можно было преодолевать по веревочной или приставной деревянной лестнице.
В целом рассмотренные сооружения, расположенные на двух уровнях — на «площадке со склепами» и в естественном гроте под обрывом, — могут быть интерпретированы как единый монастырский комплекс, который мы в дальнейшем будем именовать юго-восточным монастырем.
Наиболее ранней его частью были погребальные сооружения на плато, затем над ними была вырублена церковь, а завершается формирование монастыря созданием храма в гроте под обрывом.
Алтарь в карстовой пещере
В восточной стене карстовой одноходовой пещеры МК-2 (по нумерации В. Душевского), расположенной в уступе верхней кромки южного обрыва плато, в 1,60 м от входа находится вырубная полукруглая в плане алтарная ниша глубиной 1,10 м, ориентированная на восток (рис. 239; 279.2). Ее пол выше дна пещеры на 0,30 м. В полу впритык к стене вырублено отверстие для престольного камня 0,30×0,30 м, глубиной 0,15 м. Поверхность скалы в нише заглажена и покрыта штукатуркой (известь с мелким речным песком), грунтовкой для фрески. Сохранились отдельные участки росписи желтого, коричневого и преимущественно красного цвета. Изображения не сохранились, хотя в XIX в. они еще просматривались.
Слева от алтаря на высоте 0,90 м от пола вырублена полка 0,60×0,25 м. Стена здесь также оштукатурена.
Первое упоминание памятника встречается у Н. Никольского (1893, с. 74). Краткое описание в коллективной статье, посвященной итогам исследований Мангупа в 1967—1969 гг. (Веймарн и др. 1974, с. 134). Расположение алтаря в карстовой пещере отвечает, вероятно, местной традиции освящения мест, связанных с дохристианскими культами. Такие места могли использоваться монахами-отшельниками и изгнанниками. Известно, например, что херсонский епископ Василий был изгнан из города язычниками и вынужден поселиться в пещере (Латышев 1900, с. 51, 68). В литературе XIX в. пещера именовалась Кыз-Куле или Хырк-Кыз, с ней связывалась легенда о заточении в ней девушек (Н. Никольский).
Алтарная ниша в карстовой полости, аналогичная мангупской, как отмечалось, известна в расположенном в 5 км к юго-западу монастыре Челтер-Мармара. Рядом с ней располагается более поздняя часовня.
Южный монастырь
Расположен в южном обрыве плато в 300 м к западу от расселины с укреплением А XIX (рис. 210.6). В монастырь ведет искусственный туннель, начинающийся в небольшом естественном гроте в подножии обрыва и заканчивающийся на краю площадки обширного, также естественного, грота в средней части обрыва (рис. 240—241). В восточной стороне грота находится пещерная зальная церковь (рис. 242—246). В ее центральной и северной части, в полу, — три вырубные гробницы с пазами для установки каменных плит перекрытия. Стены наоса украшены профилированным карнизом. В потолке пробиты проушины для подвешивания хоросов.
Невысокая алтарная преграда отделяет наос от алтаря. Пространство между ней и плечами апсиды образовали жертвенник и диаконик. В апсиде — глубокая арочная ниша (рис. 251). Ниже нее проходит синтрон с прямоугольной вырубкой в центре, вероятно, «горнее» место. В центре пола алтаря — вырубное прямоугольное в плане основание престола с четырьмя гнездами по краям и одним в центре (рис. 242, 250). Фресковые росписи покрывали апсиду с нишей и конхой, арку, окаймляющую алтарь и фриз над аркой.
Первая графическая фиксация фресок была выполнена художником Бебелем в конце 40-х гг. XIX в., делавшим рисунки крымских памятников для альбома, готовившегося к изданию графом А. Уваровым, но, к сожалению, так и не изданного.
Художник передал общий вид интерьера церкви из северо-западного угла, захватывая большую часть алтаря с фресками, бывшими в то время в удовлетворительном состоянии (рис. 277—278).
В 1888 г. отдельной книгой был выпущен «Отчет об учебной экскурсии Симферопольской гимназии», одним из объектов посещения которой был Мангуп. Текст сопровождался иллюстрациями, выполненными А. Архиповым. Одна из них изображает в фас алтарную часть церкви и довольно точно передает основные сохранившиеся сюжеты росписи, но без проработки деталей. Описание фресок в тексте, к сожалению, очень краткое, отмечается их хорошая сохранность (Попов 1888, с. 125).
Гораздо подробнее они описаны в путеводителе по Крыму, изданном в 1914 г., здесь уже отмечены повреждения обрамления ниши в алтаре и некоторых фигур (Крым 1914, с. 270).
Удовлетворительной сохранность росписей была еще в 1911 г., когда А. Маркевич совершил объезд ряда «пещерных городов» и отметил, что, при катастрофическом состоянии памятников Мангупа, утешительно одно — церковь с фресками на южной стороне Мангупа остается в прежнем состоянии (Протоколы 1912, с. 35).
Когда в конце 50-х гг. О. Домбровский приступил к исследованию и частичной реставрации фресок, они уже были существенно разрушены. В настоящее время под слоем копоти и «автографов» невежественных посетителей с большим трудом можно рассмотреть контуры фигур, не говоря уже о деталях, поэтому общее описание композиций мы даем на основании разновременных публикаций (рис. 255; 278).
В цилиндрической части ниши, в апсиде в круге, — сильно поврежденное изображение Христа-Эммануила, над ним в конце ниши шестиконечный оранжево-красный «процветший крест». Ветвями аканфа из его нижнего ствола оплетена вся ниша. Над перекладиной креста буквы: слева ІС, справа ХС, под ней слева НІ, справа КА, то есть обычная монограмма Христа. По кайме вокруг ниши просматривалась надпись, по предположению О. Домбровского, — текст из Евангелия (1966, с. 80).
Слева и справа от ниши в цилиндрической части апсиды от центра с каждой стороны изображены святители во весь рост, со свитками в левой руке и с правой, поднятой для крестного знамения. Надписи просматривались (1914 г.) только у двух: «Хризостомос» (Златоуст) и «Григорий».
В конхе — пятифигурная композиция. В центре — Христос, восседающий на троне («Царь царствующих»), с приподнятой для благословения правой рукой и Евангелием в лежащей на колене левой руке.
Фигуры, предстоящие по сторонам трона, во время изучения памятника О. Домбровским были очень сильно повреждены, исследователь предположил, что крайние две входят в композицию Деисуса, причем вместо Предтечи в данном случае изображен, скорее всего, апостол Иоанн. В путеводителе же прямо указано, что это был именно Иоанн Предтеча. Между этими фигурами и Христом размещались шестикрылые херувимы — «лики закрывающие», правый из них с лабаром, на котором по-гречески написано «свят, свят, свят». Вся конха имела темно-синий фон.
В центре тябля (триумфальной арки), над конхой, — изображение Спаса Нерукотворного (св. Убрус), справа от него сильно испорченное изображение трех святых-воинов (по О. Домбровскому — средний, вероятно, Федор Тирон), правее их — большое изображение Благовещения, здесь просматривалась фигура Св. Марии с пряжей.
Слева от св. Убруса — архистратиг Михаил в одежде воина (красный плащ, панцирь с нагрудником) и более крупная, но очень плохо сохранившаяся фигура архангела Гавриила, относящаяся к композиции Благовещения.
В центре плафона — медальон с образом Знамения, поясное изображение Богоматери с воздетыми руками. По обе стороны Знамения изображены фигуры в рост весьма плохой сохранности (несколько лучше сохранилась левая). О. Домбровский, отмечая пышность одеяний и корон на головах, высказал предположение, что это — ветхозаветные пророки (1966, с. 86). Однако авторы работы, посвященной средневековым памятникам Трапезунда, вероятно, не вчитывались в текст описания Мангупской фрески, а, основываясь на цветной иллюстрации головы левой фигуры (Домбровский 1966, с. 88—89, рис. 53), определили ее как изображение св. Константина, и с этим вполне можно согласиться. Черты лица (уплощенные скулы, узкие, редкие усы и борода, приплюснутый нос) О. Домбровский истолковал как проявление монголоидности. На самом деле они характерны для образа св. Константина. Это хорошо видно по трапезундским фрескам (Сармачиклы), датированным концом XIV — началом XV в. В иконографическом типе лика св. Константина подчеркнуты сухощавые аскетические черты, хорошо просматривавшиеся в мангупском изображении (Bryer. Winfield 1985, p. 277, fig. 88).
Вторая фигура этой композиции, судя по сохранившимся деталям, может трактоваться как св. Елена (корона, длинные локоны, задрапированная шея).
Над окном в южной стене очень плохой сохранности изображение жен-мироносиц; на северной стороне каких-либо деталей росписей рассмотреть невозможно.
Перед входом в храм находится провал в расположенное прямоугольное в плане помещение, обрушившийся пол которого обнажил часть входного туннеля. Оно могло служить ризницей или кельей.
В западной части большого грота (рис. 256—257) расположены четыре вырубных помещения, служившие, вероятно, кельями (рис. 241). Вход в помещение № 1 с площадки грота через прямоугольный проем размерами 1,76×0,86×0,40 м. Площадь помещения — 5,0×3,0 м. На северной стене — следы прямоугольной ниши 0,70×0,64×0,45 м. В западной стене ниша размером 0,90×0,60 х, 40 м с пазами для крепления деревянной полки. Помещение № 2 связано с предыдущим дверным проемом 1,60×0,78 м с пазами для крепления дверной коробки. В северной стене вырублены пазы, возможно, для устройства деревянной лежанки. На потолке вырублен крест 0,24×0,24 м. В западной стене на высоте 1,2 м над полом — прямоугольная ниша 0,50×0,30×0,25 м. Южная стена частично обвалилась, скорее всего, в этом месте первоначально было окно. Помещение № 3 (рис. 257) было устроено на краю скального выступа над обрывом. Вероятно, оно обрушилось еще в период существования монастыря. Впоследствии на этом месте был устроен деревянный балкон, от которого сохранились гнезда балок, вырубленных в скале. От помещения № 4 сохранились только 6 ступеней, ведущих в обрыв, остальное обрушилось.
На площадке грота находились, вероятно, какие-то хозяйственные сооружения, следы которых были обнаружены при исследовании 1971 г.
В 40 м к западу от входа в монастырь в неглубоком гроте 1-го яруса высотой до 2 м находится вырубная гробница. К ней ведут три скальные ступени. Длина площадки под навесом 4 м, ширина до 1,70 м, наибольшая высота до 2 м. Вырубная могила прямоугольной в плане формы с двухступенчатыми заплечиками имела размеры по дну 0,40×1,64 м при глубине 0,70 м. Судя по пазам, гробница закрывалась каменной плитой размером 2,20×0,90 м. Раскопки, проведенные в 1971 г. М. Чорефом (руководитель экспедиции Е. Веймарн), открыли здесь потревоженные захоронения без сопровождающего инвентаря. Судя по положению костей, погребение совершалось по христианскому обряду. В гробнице захоронено не менее 11 человек (Архив БГИКЗ, д. 25).
В 1973 г. экспедицией УрГУ (руководитель А. Романчук) перпендикулярно обрыву плато, в верхней части склона под монастырем, была заложена пятнадцатиметровая траншея, открывшая два скелета, лежавшие на материке на глубине до 0,7 м от дневной поверхности. Склепы, могильные ямы и инвентарь не выявлены (Романчук 1974, с. 335). Эти захоронения, совершенные на весьма крутом скате, без выраженных следов погребальных сооружений, носят, вероятно, случайный характер и не связаны с монастырем. Скорее всего, эти погребения появились после завершения турецкой осады города в конце 1475 — начале 1476 г. Подобные им были обнаружены в различных местах на поверхности плато.
Весьма скудные фрагментарные находки из траншеи предварительно были датированы в диапазоне XII—XVI вв. К сожалению, более подробные характеристики этих материалов не публиковались. Однако можно утверждать, что они не связаны с монастырем, а могли быть сброшены с поверхности плато.
Столь же маловыразительные материалы были обнаружены в 1971 г. при небольших зачистках на краю площадки большого естественного грота (около выхода из подземной галереи). Здесь выявлены остатки вырубленных в скале желобов и прямоугольный в плане небольшой водосборный бассейн. В отчете упоминаются неопределяемые обломки красноглиняной керамики. Однако среди них были и довольно крупные фрагменты поливных мисок с подглазурной росписью и прорезным орнаментом, относимые обычно к XIV—XV вв.
Северный монастырь
В северной части Мангупского плато пока известна только одна внутрискальная церковь. Она входит в состав пещерного монастыря, расположенного с тыльной стороны укрепленной линии А XI, у места ее примыкания к обрыву западного склона мыса Чуфут-Чеарган-бурун (рис. 210.8).
Этот пещерный комплекс давно обращал на себя внимание исследователей. Упоминание о нем есть уже у П. Палласа (1881, с. 132—135). В. Кондараки пытался объяснить тюркское название мыса (переводимое как «Мыс вызова иудеев») тем, что здесь в пещерах над стеной находилась караимская стража, вопрошавшая путников о цели их посещения Мангупа. Впервые схематичный план церкви был опубликован А. Поповым в 1888 г. (с. 116—117, рис. 35). В 1912 г. памятник был расчищен экспедицией под руководством Р. Лепера (1913, с. 76). Эпиграфический материал из церкви привлекался В. Латышевым со ссылкой на М. Скубетова, упомянувшего сохранившуюся надпись, нуждавшуюся в дальнейшем исследовании (Латышев 1918, с. 21). В. Латышев приводит также свидетельство А. Бертье-Делагарда о вырезанных на стене пещеры (?) кресте и буквенном обозначении даты, соответствующей 1221 г. по Р. Х. (Латышев 1897, с. 154). Причем отмечается сходство креста с изображением в Южном монастыре Мангупа. Н. Репников уточнял, что А. Бертье-Делагард видел на стене одной из пещер Табан-деринского комплекса восьмиконечный крест и надпись, в которой просматривались буквы TCXCNIKA (АКК, с. 65).
В 1975 г. экспедицией Симферопольского госуниверситета были проведены раскопки возле калитки в оборонительной стене, где она примыкала к обрыву, а также под обрывом у места расположения церкви. Пещерные сооружения комплекса были обмерены, зафиксирована пятистрочная надпись на северной стене церкви (рис. 265). К сожалению, материалы эти до сих пор не опубликованы. По наблюдениям Ю. Воронина, руководителя работ, и А. Герцена, находок на данном участке обнаружено очень мало, а материалов, имеющих значение для определения времени возникновения и функционирования монастыря, не было вовсе. Монастырская церковь (рис. 260—264; 269—270) находится в 15 м к югу от калитки крепостной стены. Вход с юга; порог дверного проема превышает уровень современной дневной поверхности у подножия скалы 1,10 м Очевидно, здесь был деревянный лестничный всход. К настоящему времени дверная амбразура разрушена, только на внешней стороне скальной поверхности сохранился паз для двери. Большая часть западной скальной стены также обрушилась, от нее остался только участок, который служит опорой скального свода помещения.
Наос имеет почти квадратную в плане форму (2,90×2,86 м). В полу у северной стены находятся две вырубные гробницы с закругленными торцами, расширяющимися в центральной части. Одна из гробниц — с заплечиками для установки надгробной плиты. Над ними в северной стене вырублена гробница в форме аркосолии, а также, судя по пазам, закрывающаяся вертикально поставленной плитой. Именно над аркосолью находится упомянутая пятистрочная греческая надпись, к настоящему времени плохо сохранившаяся. Приводим ее прорисовку по материалам экспедиции 1975 г. В западной стене на высоте 1,8 м от пола сохранилась часть арочного окна 0,4×0,5 м. Ниже его прослеживаются остатки разрушенной ниши.
В углу между северной и восточной стенами на высоте 1,0 м от пола вырублена ниша шириной 0,40 м. Возможно, она выполняла роль жертвенника.
Апсида конхиальная, шириной 1,70 м, глубиной 1,70 м, максимальная высота на уровне алтарной преграды — 2,0 м. Поверхность скалы здесь тщательно заглажена, сохранились следы грунтовки ее известковым раствором (рис. 269).
В центре низкого (до 0,20 м) синтрона вырублено престольное углубление прямоугольной в плане формы (0,60×0,30 м) при глубине 0,20 м. Ориентировка алтаря — 108°. В полу перед апсидой сохранились паз и два круглых гнезда, предназначенные для крепления деревянной алтарной преграды (рис. 270). В северной и южной стенах вырублены гнезда для ее закрепления на высоте 1 м от пола. Выше этих гнезд на стыке потолка и стен вырублены пазы, возможно, предназначавшиеся для установки эпистилия. В южной стене апсиды высверлено шесть круглых отверстий, в северной — три, вероятно, для крепления икон.
Кроме церкви, в состав комплекса входило еще несколько внутрискальных помещений. В месте примыкания к обрыву оборонительной стены расположен трехъярусный комплекс из четырех помещений (рис. 258—259; 266—272). Нижнее (№ 4), прямоугольное в плане, служило входным тамбуром, перед дверным проемом в него был всход из двух ступеней. Тип обработки стен — Т.3. В южной стене вырублены проушины для привязывания животных. В юго-западном углу — вырубленное корытце, в юго-восточном — две вырубки округлой в плане формы. В западной стене пробито круглое окно. В северной расположен проем с маршем из 10 ступней, ведущий в помещение (№ 3) второго яруса. Оно прямоугольное в плане, обработка стен соответствует типу Т. 3. В стенах сохранились вырубки для крепления деревянных деталей. В западной стене расположен дверной проем, выводящий на обрыв, и круглое окно. В северной стене — проем с маршем из 6 ступеней, ведущим в помещение (№ 1) верхнего яруса.
Помещение № 1 в плане прямоугольное со скругленными углами. В центральной части восточной стены на двух уровнях расположены две неправильной формы ниши (рис. 266; 271), а над входным люком — большая ниша, в плане имеющая прямоугольную форму. Она напоминает внутристенные усыпальницы. Подобная ниша есть в пещерном комплексе № 2 в оконечности Тешкли-буруна, в стене возле кельи.
Помещения третьего яруса (№ 1 и № 2) открыты на запад. Трудно судить, была ли с этой стороны первоначально скальная монолитная стена со световыми или оборонительными амбразурами. В настоящее время по краю обрыва прослеживаются округлые гнезда для установки деревянных столбов, служивших основой для плетневых или дощатых стен. Важно отметить, что на краю обрыва помещения № 2 сохранились следы лестничного спуска, функционировавшего на первом этапе существования комплекса, когда еще не существовало сооружений первого и второго ярусов и в данное помещение можно было попасть по ступеням лестницы, вырубленным снаружи на обрывистом склоне скалы. При такой планировке оно вряд ли могло выполнять оборонительные функции, а более соответствовало образу отшельнических келий, хорошо известных в других пещерных монастырях Крыма.
Помещение № 2 (рис. 268) соединяется с предыдущим узким переходом вдоль края обрыва. В плане оно имеет форму прямоугольника со скругленными углами. В полу в южной части прорублен прямоугольный люк, ведущий в помещение № 3, расположенное ниже. В северной части вырублено сдвоенное гнездо, вероятно предназначавшееся для установки пифосов. В стенах сохранились вырубки для крепления деревянных конструкций. В северной стене прослеживаются следы срубленной скальной скамьи. Данное помещение, как и № 1, можно отнести к первому строительному периоду, когда в комплекс кроме церкви входили только высоко расположенные помещения, примером которых являются помещения № 5—6. Первое расположено в скальном кулуаре к востоку от церкви, по уровню выше нее (рис. 267—268) так, что апсида заходит под северо-западный угол помещения. В плане оно прямоугольное, в полу несколько прямоугольных вырубок. В западной стене пробиты два дверных проема, вероятно, разновременные, и два окна. В южной стене — арочная ниша, у западной — остатки скальной скамьи. Тип обработки стен помещения — Т.3.
Помещение № 6 расположено к юго-востоку от предыдущего на том же уровне. В плане оно имеет форму овала и по своей конструкции ближе всего к скальным склепам. Возможно, первоначально оно таковым и было, затем использовалось как келья.
Далее к юго-востоку, в обрыве, находится огромная прямоугольная вырубка, представляющая каменоломню, где добывались известняковые блоки, вероятно использовавшиеся для изготовления надгробий караимского кладбища XI—XVIII вв., расположенного ниже на склоне и в тальвеге ущелья.
Пещерная церковь на поляне Кильсе-тубю
Церковь расположена на склоне балки Корув-Дере (Загражденный овраг), или Кильсе-Дере (Церковный овраг), прорезающей южный склон куэсты Чардаклы-баир напротив мыса Чамну-бурун Мангупского плато (рис. 211). Храм вырублен в отдельно стоящем обломке скалы, оторвавшемся от коренного массива (рис. 273—276). Наос имеет прямоугольную в плане форму. В северной стене прорублено большое квадратное окно, а в западной — сильно разрушенный дверной проем со следами пазов для деревянной дверной коробки. Фреска в апсиде к настоящему времени сохранилась очень плохо. По свидетельству Н. Репникова, видевшего ее в 30-е гг., здесь был изображен Деисус на синем фоне, с опушкой широкой киноварной каймой. В составе композиции были: Христос, сидящий на престоле, Богородица и Иоанн Предтеча, стоящие в полный рост Исследователь по внешним признакам датировал роспись концом XIV или началом XV в. (ААК, с. 238).
Ниже храма на поляне Кильсе-Тубю следы селища (подъемный материал XIII—XV вв.).
Проблема хронологии
Для решения сложной проблемы хронологизации описанных пещерных комплексов необходимо учитывать данные исследований в различных районах плато, позволяющие установить основные этапы функционирования городища. Их можно выделить четыре (Герцен 1995, с. 85—88).
Первый характеризуется началом активного обживания плато. Наиболее ранний массовый археологический материал, свидетельствующий об этом, появляется с III в. Во второй половине VI в. осуществляется строительство главной линии обороны, обеспечивающей защиту всей территории плато. Ее важнейшие укрепления создавались преимущественно в верховьях ущелий Гамам-Дере и Капу-Дере, в средней части Табана-Дере. Завершение этого периода, который условно можно обозначить как ранневизантийский, относится к концу VIII в., когда крепость была захвачена хазарами в процессе подавления восстания Иоанна Готского. Из наземных церковных сооружений, появившихся несомненно в этот период, можно отметить большую базилику в центре плато на основании мыса Чуфут-Чеарган-бурун. А. Якобсон (1940, с. 206) и М. Тиханова (1953, с. 387) датировали ее появление второй половиной VI в., Н. Бармина — IX в. (1995, с. 80). Первая дата, в свете имеющихся в настоящее время данных раскопок жилых комплексов в верховьях Лагерной балки в непосредственной близости от базилики, является более обоснованной. Хотя нельзя исключить, как предполагает Н. Бармина, что первоначально, в VI—VIII вв., базилике предшествовал относительно небольшой храмовый комплекс. Что касается пещерных сооружений, то, как показали специальные исследования, к данному периоду могут быть определенно отнесены только небольшие по площади сооружения дозорно-оборонительного характера (Герцен, Могаричев 1991).
Второй этап в жизни поселения датируется IX—X вв. и характеризуется существенным сокращением обжитой территории и, соответственно, значительно более скудными археологическими материалами. Ничтожно мало их обнаружено в центральной части плато, где выявлены хорошо выраженные напластования предшествующего периода, более заметно они представлены на мысе Тешкли-бурун и в его ближайших окрестностях. Содержание этого периода определяется такими факторами, как использование крепости хазарами, вероятно, на протяжении IX в., и последующим возвращением ее под власть Византии в связи с образованием и расширением фемы Херсона, для которой Мангуп был важным опорным пунктом среди других «крепостей климатов».
На рубеже X и XI вв. поселение приходит в упадок, что стало результатом военной экспансии или же катаклизма природного характера (землетрясение). В дальнейшем заметное оживление строительной деятельности на плато отмечается в XVI в., достигнув апогея в середине XV в., когда Мангуп становится столицей княжества Феодоро.
Расцвет княжества приходится на первую половину XV в., когда оно в союзе с крымскими татарами ведет небезуспешную борьбу с генуэзскими колониями, стремясь принять активное участие в черноморской торговле.
На Мангупском плато в данный период сформировалось поселение городского типа с присущей ему инфраструктурой. Ее компонентами являлись: двухпоясная оборонительная система — укрепленная княжеская резиденция, жилые кварталы паутинообразной планировки, охватывающие верховья ущелий Капу-Дере и Гамам-Дере, вероятно совпадающие с приходами, некоторые церкви которых в руинах сохранились до наших дней. Особое место в городе занимали юго-восточная и южная окраины. Это наиболее возвышенная часть плато. Церкви здесь возводились у края плато, нередко внешние их обводы нависали над обрывом. В ориентировке храмов строители следовали не только визуальной ориентации на восток, но и учитывали необходимость гармоничного включения построек в ландшафтную среду. Для этого сооружения закладывали продольной осью перпендикулярно обрыву, пренебрегая известным отклонением от реально наблюдаемой точки восхода. Любопытно, что пещерные церкви более жестко ориентированы на восток, вероятно, именно с учетом меньшей связи их с ландшафтом.
В архитектурном масштабе столицы сосуществовали как новые церкви, возведенные в период жизни княжества Феодоро, преимущественно квартальные, так и возобновленные храмы, создавшиеся в предшествовавшее время. Например, большая базилика на основании мыса Чуфут-Чеарган-бурун (Тиханова 1953).
Несомненно, что большинство пещерных культовых комплексов функционировали в феодоритское время, естественно вписываясь в картину активной религиозной жизни города, являвшегося не только административной резиденцией правящей верхушки, но и центром Готской митрополии, учрежденной еще в правление Михаила Андроника II Старшего (1282—1328) (Vasiliev 1936, p. 276). В ее состав входила территория от района современного пос. Рыбачье до мыса Ай-Тодор, далее побережье принадлежало Херсонской епархии, а от Каламиты до р. Качи оно вновь относилось к церковным властям Феодоро. Северная и восточная границы проходили по долине р. Качи и, минуя Чатырдаг и Демерджи, достигали района восточнее Алушты. Об авторитете и активной деятельности иерархов митрополии свидетельствует строительная деятельность на территории генуэзского капитанства Готии, православное население которого относилось к Готской митрополии (возобновление базилики в Партените) (Латышев 1896, с. 78).
Можно вполне определенно считать время существования княжества Феодоро высшим расцветом христианства у населения крымского нагорья. Распространение ислама, с начала XIV в. ставшего господствующей религией в Золотой Орде, и католицизма в генуэзских владениях стимулировало объединение православного населения под политическим главенством мангупских властителей. Религиозная и политическая консолидация способствовала формированию этнической агломерации, приобретшей черты этноса, но завершился этот процесс уже после завоевания княжества турками-османами в 1475 г.
Однако и после этого события как на Мангупе, так и на подчиненной ему ранее территории продолжали функционировать христианские храмы и монастыри, последних, правда, стало значительно меньше по сравнению с предыдущим периодом. Это относится, прежде всего, к пещерным обителям и церквам. В то же время наземные церкви поддерживались, а некоторые, разрушенные во время завоевания, были восстановлены. Например, так называемая церковь Богородицы в южной части Мангупского плато. Однако уже к середине XVII в. христианская община здесь практически перестает существовать, прекращается функционирование всех ее культовых сооружений.
Исходя из определенных основных этапов истории поселения, а также тех скудных данных, которые получены при непосредственном изучении интересующих нас памятников, можно попытаться решить весьма сложную проблему их датирования.
Южный монастырь
Важной особенностью комплекса, обращающей на себя внимание даже при беглом наблюдении, является его цельность с точки зрения планировочных и технических особенностей. Несомненно, что центром всей архитектурной структуры комплекса является большой естественный грот в средней части южного обрыва плато, естественно неприступный или труднодоступный до начала обустройства здесь внутрискальных помещений. Для постоянной связи с подножием обрыва из естественного грота нижнего яруса параллельно скальной стене была пробита круто поднимавшаяся галерея с лестничным маршем, заканчивавшаяся прямоугольным люком на краю площадки большого грота. Следует отметить, что только на верхнем участке туннеля прослеживаются признаки частичной перепланировки, которые можно было бы интерпретировать как свидетельство того, что монастырь имел, по крайней мере, два периода существования. Здесь сохранились следы марша с гораздо более крутым уклоном и меньшей по размеру проступью. Сохранившийся туннель имеет меньший уклон, соответственно более крупные ступени. Ступени же предшествовавшего марша оказались как бы висящими в верхней части стены существующего входа. Очевидно, что перестройка марша связана с обрушением весьма тонких стен и потолка внутрискальной кельи, рядом с которой он был проложен. Новый туннель был сделан более основательно.
Следы подобных по характеру разрушений прослеживаются и в других сооружениях монастыря. Как уже отмечалось, в западной части грота на краю обрыва сохранились следы, по крайней мере, двух обрушившихся помещений (келий?). В южной стене пещерного храма зияет обширная брешь, изображенная уже на рисунке Вебеля (сер. XIX в.) (рис. 277). Это позволяет связать изменение планировки входного туннеля не столько с двумя историческими периодами в существовании монастыря, сколько с частичными переделками в результате разрушений некоторых его сооружений уже в период существования комплекса в целом. Причем если кельи нельзя было восстановить, а брешь в храме в относительно тонкой скальной стене, к тому же имевшей отрицательный уклон в обрыв, могла быть заделана легкими деревянными щитами, то входной туннель, как сооружение исключительно важное как для нормального функционирования монастыря, так и для организации в случае необходимости его обороны, играл первостепенную роль, поэтому только здесь и были проведены основные ремонтные работы.
Можно предположить несколько причин разрушений части сооружений монастыря. Нельзя упускать из виду данные новейших палеосейсмологических исследований. Так, по данным А. Никонова, в 70-х гг. XV в. в Крыму произошло сильное землетрясение, что вполне соответствует характеру разрушений в Южном монастыре. Он оказался наиболее уязвимым в связи с расположением на южной экспозиции плато (именно с этой стороны распространялась ударная волна), а также с наличием многоярусных сооружений с тонкими скальными стенами и перекрытиями.
Впрочем, подобные разрушения могли возникнуть и по иным причинам, например военным, на что есть не вполне ясные указания иеромонаха Матфея, относящиеся к концу XIV в. (Mercati 1927).
Все же важно отметить главное обстоятельство: в храме монастыря нет каких-либо заметных переделок, тем более перепланировок, обычно характерных для продолжительное время функционировавших культовых комплексов, подвергавшихся ремонтам по мере обветшания, а главное, в связи с эволюцией церковных канонов, отражавшейся на сценарии богослужения, а также на соотношении и назначении основных элементов храма.
Перестройки в силу подобных причин хорошо прослеживаются на ряде церквей Инкермана и Эски-Кермена (см. храм на последнем марше дороги и так называемое «Судилище» у главных ворот).
Об относительно недолгом функционировании монастыря свидетельствует отсутствие при нем сколько-нибудь значительного некрополя.
Исходя из всего изложенного, можно достаточно уверенно определить верхнюю хронологическую границу Южного монастыря, равно как и ряда других подобных комплексов на Мангупе, — это последняя четверть XV в., то есть время турецкой экспансии, приведшей к ликвидации княжества Феодоро и превращению Мангупа в турецкую крепость, центр кадылыка, в котором религиозная жизнь постепенно сокращавшегося христианского населения находилась под жестким контролем османской администрации.
Что касается нижнего хронологического рубежа, то здесь необходимо привлечь ряд прямых и косвенных обоснований. Как отмечалось, церковь Южного монастыря — практически единственный памятник Мангупа, сохранивший более или менее полно фресковые композиции на стенах. По мнению И. Грабаря, они появились в XIV в., в XV в. были подновлены (1966, с. 256). Концом XIV в. определял время появления росписей Н. Репников (АКК, с. 230). О. Домбровский в целом не оспаривал этого определения, путем искусственного анализа основных компонентов фигурной композиции фресковых росписей расширил датировку, вполне справедливо полагая возможность их появления не только в XIV, но и в начале XV в. Этот вывод подтверждается сопоставлением с трапезундскими памятниками, причем мангупская фреска определяется как произведение провинциальной трапезундской школы живописи (Bryer, Winfield 1985, p. 277).
Особенно близка мангупской пещерная церковь монастыря у села Манглавита. Здесь в центре фресковой композиции также был Иисус на троне (Пантократор, Царь мира). По сторонам апсиды располагались фигуры сцены Благовещения, сохранился только архангел Гавриил с частью соответствующего текста. В апсиде по центру между фигурами Отцов Церкви в прямоугольной рамке — погрудное изображение Христа-младенца (в Южном монастыре — в нише). Весьма сходными являются цветовая гамма, манера прорисовки контурных деталей фигур. Дата позднейших росписей, когда окончательно сложилась описанная композиция, — первые два десятилетия XV в. (Bryer, Winfield 1985, p. 212, fig. 47 — 55).
Данное наблюдение согласуется с известным фактом перехода территории Крымской Готии под власть Трапезундской империи после захвата Константинополя крестоносцами в 1204 г. (Vasiliev 1936, p. 160—162). Тесные политические и культурные связи с княжеством Феодоро империя сохранила до своей гибели. В историографии существует версия о происхождении мангупских князей от трапезундской армянской фамилии Гаврасов (Vasiliev 1936, p. 153—159), хотя это предположение не подтверждается какими-либо надежными источниками (Степаненко 1990).
Ближе всего по архитектурно-планировочным решениям к храму Южного монастыря «храм с крещальней» в Инкермане и большой храм Шулдана.
Данные археологических исследований не позволяют предполагать длительное существование монастыря, нет в нем слоев какой-либо хозяйственной деятельности. В целом, он может быть интерпретирован как комплекс заупокойного храма-усыпальницы, принадлежавшего какому-либо знатному семейству, не исключено, что княжескому. Во всяком случае, характер главных сюжетов в росписях (Христос на троне, Христос-Эммануил, Спас нерукотворный) не противоречит этому.
Есть все основания полагать, что появление комплекса относится ко времени расцвета городской жизни на плато Мангупа. Расположение его за пределами оборонительной системы городища указывает на относительную стабильность обстановки в окрестностях столицы всего княжества. Судя по стихотворению иеромонаха Матфея, в конце XIV в. город находился в состоянии разорения, что, вероятно, было связано с вторжением войск Тимура, преследовавшего Тохтамыша. Возрождение его можно с уверенностью связать с деятельностью князя Алексея, построившего порт в Каламите (Инкерман), существенно потеснившего генуэзцев на западном побережье. Эта строительная деятельность подтверждается эпиграфическими памятниками 20-х гг. XV в. (Малицкий 1933, с. 26 — 44).
Это время вполне можно считать нижним хронологическим рубежом существования пещерного храма в южном обрыве Мангупского плато.
Церковь монастыря в Табана-Дере
Как отмечалось выше, небольшие по масштабам раскопки у подошвы скального обрыва, в котором вырублены помещения монастыря, не дали материалов для определения даты комплексов. Впрочем, этого и следовало ожидать. Если какие-либо от хозяйственной и бытовой жизни и оказывались здесь, то накоплению их препятствовала крутизна склона ущелья, по которому они скатывались и смывались дождевой и снеговой водой в тальвег. При исследовании был вскрыт, по сути дела один слой дерна, насыщенный продуктами денудации, перекрывающий поверхность мергелевого склона. Таким образом, можно констатировать, что в период функционирования монастыря поверхность скалы возле него была практически свободной от грунта и каких-либо культурных остатков. Поэтому проблема датирования может решаться только путем архитектурного анализа и сопоставления аналогий. Немаловажным является наличие эпиграфических материалов, хотя их использование сопряжено с рядом трудностей.
Еще А. Бертье-Делагард отметил присутствие на стене одного из помещений монастыря процарапанных греческих букв, которые он прочитал как дату — 6729 г. (1221 г.) (Латышев 1897, с. 154). В другом помещении он видел восьмиконечный крест, аналогичный изображенному в нише алтаря в церкви Южного монастыря Мангупа. Да и в целом архитектурная структура этих двух церквей весьма сходна, особенно это проявляется в размещении гробниц и даже их количестве. Близкими были эти монастыри и по размерам комплексов в целом, по числу и объемам жилых и вспомогательных помещений, а значит, и по числу монахов. Конечно, церковь Табана-деринского монастыря выглядит скромнее по своему убранству и размерам, чем Южного. Она сохраняет черты аскетического стиля, отвечающего, вероятно, более раннему времени ее создания. Показательно и местоположение памятника. Это весьма глухой район массива в обращенном к северо-западу ущелье, вдалеке от обжитой части плато. В то же время, он находится в пределах территории, обеспеченной защитой главной линии обороны. Причем создавали монастырь в некотором отдалении от стены, пересекавшей ущелье от мыса до мыса (укрепление А X), а не впритык, как он расположен сейчас по отношению к линии А XI, построенной уже в начале XVI в. в период турецкого владычества.
Таким образом, сопоставляя топографические особенности Южного и Северного монастырей, можно отметить стремление разместить последний хоть и в уединении, но под защитой крепостных стен, что отвечает реалиям времени, когда только началось становление княжества Феодоро и ситуация на его территории была далека от стабильной.
В начале 60-х гг. XIV в., как известно, на плато оформляется городская структура, вероятно подвергшаяся временному разрушению в конце столетия и воссоздания в 20-х гг. XV в. Исходя из сказанного, пещерная церковь Северного монастыря вероятнее всего могла появиться не ранее середины XIV в., но и не позднее конца этого столетия. Если и верна дата, прочитанная А.Л. Бертье-Делагардом, то она явно не имеет отношения к церкви, где имеется недатированная надпись, а упомянутый автор о ней не сообщает вообще. Скорее, речь может идти о помещении, появившемся здесь в первой половине XIII в. и служившем убежищем какому-либо отшельнику. Комплекс же монастыря в его современном виде сформировался позже. Можно указать на еще одну аналогию рассматриваемой пещерной церкви. Это так называемый храм «Донаторов» в верховьях Черкес-Керменского ущелья по соседству с Эски-Керменом. Его росписи, как отмечалось, датированы Н. Репниковым именно 80-ми гг. XIV в. (АКК, с. 74—75). Во всяком случае, именно XIV столетие, а скорее его вторая и третья четверти, представляются наиболее вероятным временем формирования монастыря в обрыве западного склона мыса Чуфут-Чеарган-бурун. Как и в случае с Южным монастырем, он, вероятно, являлся семейной усыпальницей какой-то знатной феодоритской фамилии, но, видимо, не столь богатой и высокопоставленной, как та, которая выступала ктитором Южного монастыря.
Юго-восточный монастырь
Разумеется, различия в архитектурных особенностях верхнего и нижнего ярусов монастыря достаточно выразительны. Если верхний представляет собой комплекс пещерных сооружений, явно разновременных, более ранних (внутрискальные склепы XII—XIII вв.) и более поздних, то нижний ярус явно состоит из цельного в архитектурном отношении храмового комплекса, вписанного в естественный грот. Последний имеет сходство с пещерным комплексом № 2 на Тешкли-буруне по характеру обработки стен, но особенно по выразительным внутренним гробничным нишам. Оформление комплекса в целом можно отнести ко времени существования княжества Феодоро. Он как бы связал воедино обжитую юго-восточную часть подножия обрыва плато с его поверхностью в том районе, где были сконцентрированы христианские культовые сооружения XIV—XV вв.
Монастырский комплекс на оконечности Тешкли-буруна
Исходным пунктом установления даты его создания является формирование на мысе цитадели. Процесс этот начинается в 60-х гг. XIV в. и продолжается на протяжении всего существования княжества Феодоро и периода владения крепостью турками-османами. Придание мысу функций цитадели требовало не только защиты ее территории с напольной стороны, но и организации обороны склонов под обрывами. Здесь, огибая мыс, проходил последний отрезок колесной дороги, требовавший особого внимания. С оконечности мыса хорошо просматривались дальние подступы к плато с северо-запада до юго-востока Это обусловило интенсивность внутрискального строительства по краю обрыва и особенно на оконечности мыса (Герцен 1982). Именно этих сооружений прямо касается описание иеромонаха Матфея. Приведем из него то место, которое непосредственно относится к внутрискальным сооружениям на оконечности мыса: «Во-вторых, сообщу тебе, чужеземец, удивительнейшее. Я нашел лестницу, выдолбленную в скале, спустился вниз и увидел там высеченные в камне прекрасные палаты, освещенные прекрасно с востока, удивительное разнообразие прекрасно сделанное. Я забыл остальное, рассматривая его. Придя в себя, я снова вышел наверх».
Несомненно, в этом отрывке переданы впечатления от посещения пещерных комплексов № 2 и № 3 (по нумерации Е. Веймарна). Именно туда ведет лестница в круто наклоненном туннеле, приводящая в помещение с разнообразными интерьерами (кельи, усыпальницы, зал с церковью, оборонительный каземат), хорошо освещаемыми с юго-восточной стороны. Данное описание явно не имеет отношения к пещерном комплексу Барабан-Коба, узкий вход в нижний ярус которого обращен на северо-запад. Естественное освещение помещений здесь было очень слабым. Даже в настоящее время, несмотря на обрушение значительной части скальной северо-западной стены, в зале с подпорным столбом, и тем более в кельях, царит полумрак.
Итак, в конце XIV в., по крайней мере, часть пещерных сооружений на оконечности мыса уже существовала. Можно предположить, что в первую очередь создавались боевые казематы и другие помещения на юго-восточной стороне плато, которая прогревалась солнцем и была защищена от холодных ветров. Во всяком случае, на северо-западном склоне мыса находятся только два пещерных сооружения: Барабан-Коба и так называемое «Судилище», состоящее из трех небольших помещений, а также одиночный каземат. Подавляющее большинство внутрискальных сооружений расположены на юго-восточной стороне.
Что касается «гарнизонной» церкви, то в ее архитектурном облике явно проступают черты типичных зальных наземных церквей, подобных тем, которые существовали в городе Феодоро до XVII в. Таким образом, сооружение «гарнизонной» церкви может быть отнесено ко второй половине XIV — первой половине XV в.
Сложнее определить время появления церкви в оконечности мыса Тешкли-бурун Она имеет явные признаки переделок. Вполне вероятно, что здесь, у важного участка дороги, где она, круто огибая скалу, вела непосредственно к главным городским воротам, уже в раннее средневековье могло существовать сторожевое помещение. Преобразование его в культовое путем вырубки в восточной стене алтарной ниши, появление на стенах процарапанных изображений крестов, вероятно, может быть связано с расцветом монастырей на плато и в его окрестностях. Здесь мог быть создан скит монастыря, находившегося под юго-восточным обрывом или, скорее, на оконечности Тешкли-буруна. Если это предположение верно, то существовал он, вернее всего, в княжеский период истории Мангупа.
Пещерная церковь в Кильсе-Дере, как уже отмечалось, датируется концом XIV — началом XV в.
Итак, все рассмотренные нами пещерные церкви Мангупа с большим или меньшим основанием определены как памятники времени княжества Феодоро, и, соответственно, в целом хронологический диапазон их существования приходится на середину XIV — третью четверть XV в. Чтобы прийти к такому заключению, были рассмотрены все имеющиеся в нашем распоряжении источники, к сожалению, в большинстве своем косвенные, что объясняется особенностями средневековой эпохи не только в истории Мангупа, но и Крыма в целом. Тем не менее, привлечение различных материалов позволяет продвинуться в решении трудной проблемы, которая, конечно, нуждается в дальнейшей разработке. И хотя архитектурный анализ, исследование технических приемов, экстраполяция письменных источников позволяют прийти к определенным выводам, тем не менее, очевидна необходимость их подкрепления археологическими материалами, связанными непосредственно с объектами нашего исследования. Вероятно, следует перенести их поиск на склоны, где можно ожидать находок сброшенных или смытых культурных остатков. Хотя очевидно, что и они могут получать неоднозначную интерпретацию. Остается также надежда на обнаружение обрушившихся еще в период функционирования пещерных помещений, а также комплексов, надежно связанных со стратиграфическими горизонтами. Данные археологических разведок показывают, что такая ситуация может быть выявлена в верховьях балки Капу-Дере, где визуально прослеживаются сильно заплывшие натечным грунтом пещеры с признаками храмов. Здесь не было условий для интенсивного уничтожения культурного слоя.
Челтер-Коба
Монастырь Челтер-Коба расположен в Бельбекской долине, в обрыве мыса Ай-Тодор, у села Малосадовое Бахчисарайского района (рис. 281).
В литературе XIX — начала XX в. о нем имеются лишь отрывочные сведения (Даниленко 1993, с. 78).
Первое краткое описание было опубликовано Е. Веймарном и Н. Репниковым в 1935 г. (с. 124—125), ими же исполнен и план монастырской церкви (рис. 282).
В конце 1970-х — начале 1980-х гг. здесь были проведены археологические исследования (Воронин, Даниленко и др. 1979, с. 313—315), по результатам которых В. Даниленко опубликовал две статьи: одна посвящена хозяйственной деятельности монастыря (1994), а вторая — его архитектуре (1993).
В последней представлено подробное описание и реконструкция всех 22 пещер (без храма) Челтер-Кобы, иллюстрированное детальными архитектурными обмерами (с. 349—367) (рис. 283—289). Автором были выделены кельи, кухня, трапезная и помещения другого функционального назначения. Серьезным недостатком данной статьи является отсутствие сведений о главном памятнике комплекса — пещерном храме.
Церковь Челтер-Кобы не является специально вырубленной, а подобно тому, как это имело место в Челтер-Мармаре, под нее был приспособлен естественный скальный грот (рис. 290—298).
Грот имел скругленную в плане форму, с сужением к востоку и западу, размерами 15,2×7,2×3,8 м (по наиболее удаленным точкам). Алтарь устроен в восточной части грота, для этого здесь было вырублено прямоугольное углубление. В нем, впритык к стене, вырублен частично разрушенный двухступенчатый синтрон высотой 1 м, шириной до 0,7 м (рис. 294). Престол также примыкал к стене, где, кроме того, имеются различные углубления и ниши — вероятно, жертвенник и диаконник.
В стене имеются пазы для установки деревянных конструкций. По мнению В. Даниленко, она, как и пол, была обшита деревом (1993, с. 99). Апсида отделялась от наоса алтарной преградой, следы от основания которой видны в полу.
В северо-восточной части храма рядом с алтарем, вероятно, находился баптистерий. Он состоял из ныне частично разрушенной купели, вырубленной в скале размерами 0,9×1,1×0,5 м и небольшого (2,4×1,9 м) помещения в северо-восточном конце грота (рис. 295—290).
Вдоль северной и южной стен наоса на высоте 0,6 м находится скамья шириной 0,3 м (рис. 297). К востоку от нее в северной и южной стенах вырублены усыпальницы, в полу которых высечены могилы. Еще четыре могилы, в том числе одна детская, расположены в западной части церкви (рис. 290). К западу от наоса, очевидно в нартексе, в полу вырублены еще пять могил, а к северо-западу от них, в стене грота, — две усыпальницы.
В полу и стенах храма много подрубок и пазов. Надо думать, что большинство из них оставлено в позднее время, когда помещение церкви использовалось в качестве загона для овец (Даниленко 1993, с. 99).
Наш осмотр помещений монастыря, их описание, составленное В. Даниленко, показывают, что там фактически отсутствуют следы значительных перестроек, да и сам комплекс выглядит цельным и единовременным.
По подсчетам В. Даниленко, здесь могло проживать не более 14—16 монахов (с. 101), хотя, вероятно, реально обитателей монастыря было несколько меньше. Кроме келий могли быть помещения для приезжих.
Очевидно, монастырь носил имя св. Федора, отсюда и название мыса, где он расположен, — Ай-Тодор.
В. Даниленко датировал создание монастыря VIII—IX вв. (1993, с. 102—103). Данный вывод им был сделан на основании находок амфор V—VIII вв. на склоне под монастырем (с. 102—103).
Мы уже имели возможность высказаться по данному поводу (Могаричев 1993, с. 214—215). Отметим следующее: этому противоречат цельность монастыря и практическое отсутствие следов значительных ремонтов, а ведь за 700—800 лет (по версии В. Даниленко) таких перестроек должно было быть много. Как было показано выше, в монастырях, существовавших несколько столетий, следов ремонтов отмечено достаточно. Аналогичная ситуация и в пещерных монастырях Каппадокии: там, где монастырь функционировал непродолжительное время, практически отсутствуют свидетельства реконструкций (Rodley 1985, p. 254)
Во время археологических исследований Челтер-Кобы (изучались как помещения, так и территория перед ними) находок ранее XIII—XIV вв. отмечено не было. Несомненно, если бы таковые имелись, то горячие поклонники иконопочитательской гипотезы не преминули бы сообщить то ли в «Археологических открытиях» (Воронин и др. 1979), то ли в одной из статей, посвященных Челтер-Кобе (Воронин, Даниленко 1992; Даниленко 1993; 1994).
Ни в коей мере не сомневаясь в компетенции В. Даниленко в определении датировок амфор (хотя им не было приведено ни одной иллюстрации), попытаемся рассмотреть вопрос с другой стороны: а) можно ли в качестве датирующего использовать подъемный материал; б) может ли как датирующий использоваться материал из округи.
1. Горная Юго-Западная Таврика была заселена человеком с эпохи палеолита. Поэтому естественно, что среди подъемного материала, а нередко и в слое, встречаются разновременные фрагменты. Напротив, на Мангупе известны энеолитические находки (Герцен 1990, с. 105), а на Чуфут-Кале — мустьерские (по данным наших исследований). Но это, естественно, не доказывает, что крепость и пещеры здесь возникли в эти эпохи. Поэтому крайне немногочисленные (Даниленко 1994, с. 137) раннесредневековые находки из округи Челтер-Кобы говорят лишь о посещении людьми данной местности, но никак не о возникновении собственно пещерного монастыря.
2. Рядом с Челтер-Кобой находится Сюреньская крепость, возникшая, вероятно, в раннем средневековье (Якобсон 1964, с. 11; Воронин и др. 1979, с. 313). В ближайшей округе только сам В. Даниленко насчитал не менее пяти средневековых сельских поселений (1994, с. 139—140). Причем ряд поселений VIII—IX вв. находятся у подножия Челтер-Кобы, на окраине с. Малосадовое (Омелькова 1980, с. 316—317; 1981, с. 292; 1986, с. 284—285; Романчук, Омелькова 1979). Поэтому нет ничего удивительного, что на склонах Челтер-Кобы встречаются фрагменты ранней керамики. Аналогичная ситуация и на ряде других пещерных монастырей (Могаричев 1993, с. 215). Но можно ли из этих материалов сделать вывод о возникновении монастыря в ранний период? Естественно, нет, так как связь данных находок со скальным комплексом недоказуема.
Рассмотрим архитектурные особенности церкви. Как отмечалось, по своему устройству она близка к главному храму Челтер-Мармары. Наличие двухступенчатого Синтрона сближает ее с главным храмом Шулдана, церковью Южного монастыря Мангупа. Система расположения крещальни похожа на «храм с крещальней» в Инкермане и главный храм Шулдана.
Таким образом, эти факторы, а также обработка Т.3 во всех пещерах Челтер-Кобы, отсутствие следов перестроек позволяют датировать монастырь в обрыве мыса Ай-Тодор XIV—XV вв.
Монастырь св. Федора был основан на северной границе Феодоро (Веймарн 1968, с. 79) рядом с Сюреньской крепостью. По своим особенностям он входит в группу монастырей с трапезными, которые основывались на месте почитаемых мест и выполняли функции хранения реликвий и приема посетителей (Rodley 1985, p. 250). Именно этим можно объяснить противоречие между значительными объемами храма, наличием в нем крещальни и малыми размерами монастыря. Возможно, в монастыре хоронили не только монахов, но и частично жителей и защитников Сюреньской крепости. Вероятно, это и определило большое число захоронений в храме Челтер-Кобы. А на торжественные богослужения сюда приходили не только монахи, но и жители окрестных поселений.
Качи-Кальен
Первые сведения об этом городище приведены у Тунманна (1991, с. 33). Краткие описания или упоминания его скальных культовых сооружений можно встретить у С. Сестренцевича-Богуша (1806, с. 34), П. Кеппена (1837, с. 305—308), Дюбуа де Монпере (1843. с. 297—304), Г. Караулова (1872, с. 199), В. Кондараки (1875, с. 61—62), Д. Струкова (1876, с. 24), А. Попова (1888), Ю. Кулаковского (Архив ИИМК, Д. 10), А. Коротнева (1895), М. Протопопова (19056), Я. Ставровского (1910, с. 704) и ряда других авторов.
Надписи, высеченные на стенах пещерных церквей, опубликовал В. Латышев, датировавший их XVI—XVII вв. (1896, с. 62).
Первое относительно полное описание рассматриваемых памятников было дано Н. Репниковым в статье «Городище Качи-Кальен» (19356) и в неопубликованной «Археологической карте Юго-Западного Крыма» (архив ИИМК, д. 1). Однако приведенные там планы церквей носят схематичный характер (рис. 300).
Краткое описание церквей было опубликовано Е. Веймарном и М. Чорефом в книге «Корабль на Каче» (1976, с. 51—54).
К настоящему времени на Качи-Кальене известны одна пещерная церковь и одна частично вырубленная в скале.
Церковь № 1 (св. Софии) (рис. 301—305) расположена в юго-западной части поселения. Она высечена в отдельном камне, имеет овальную в плане форму и размеры 5,3 (по полу) х 2,4×2,15 м.
Апсида подковообразная, размерами 1,85×2,4×2,2 м (рис. 304). Над наосом она возвышается на 0,32 м (рис. 302). В апсиде сохранился одноступенчатый синтрон высотой 0,57 м (рис. 304), В центральной части в полу есть углубление, где первоначально стоял престол. Его размеры 0,35×0,47×0,14 м (рис. 302, 304). В стене вырублена ниша, очевидно, жертвенника (0,45×0,28×0,16 м) (рис. 304). Там же, северо-восточнее, еще одна ниша, куда, вероятно, помещалась запрестольная икона. Под ней в синтроне и рядом с ним четыре углубления (рис. 304), скорее всего, для установки алтаря в более позднее время. Видимо, необходимость в последнем возникла в XIX в. при возобновлении церкви, так как древний алтарь оказался ориентирован не строго на восток, а на юго-восток (рис. 302).
На стыке апсиды и наоса сохранились подрубки, может быть, первоначально здесь была невысокая алтарная преграда, впоследствии замененная на деревянный иконостас.
Наос храма имеет полуовальную форму и вырубленную по периметру скамью высотой до 0,45 м (рис. 302, 305). С южной стороны, непосредственно в скамье, была вырублена могила овальной формы (1,86×0,45×0,32 м) (рис. 302). Под ней в полу — прямоугольная гробница с заплечиками (1,9×0,97×0,85) (рис. 302).
В южной и северной стенах, рядом с апсидой, вырублены ниши 0,6×0,7 м для установки икон. В северной стене, в скамье севернее входа находится углубление размером 0,32×0,22×0,8 м (рис. 302—308). Стены церкви сохранили обработку Т. 2. Однако в XIX в. они были слегка подтесаны и побелены (Веймарн, Чореф 1976, с. 70).
В церкви были обнаружены две греческие надписи: одна на южной стене — 0,17×0,12 м, вторая — на западной, на 0,7 м выше уровня скамьи (Репников 1935б, с. 104). Как уже отмечалось, В Латышев отнес их к XVI—XVII вв.
В церковь ведут два входа (рис. 301). Один, очевидно ранний, размерами 1,6×1,7 м, вел в наос. Над ним прорублены желоба для стока дождевых вод. Здесь же вырублен крест с расширяющимися концами. Деревянная дверь открывалась наружу (там же, с. 103).
Второй вход, скорее всего, более поздний (для средневековых пещерных церквей Крыма не характерен отдельный вход с улицы в апсиду), имеет размеры 1,6×0,85 м. Над ним также находился водоотлив. Судя по вырубкам, он, как и вход в наос, перекрывался деревянной дверью. Последняя открывалась вовнутрь (там же).
Рядом с церковью расположены усыпальницы и прослеживаются остатки кладбища (сохранились каменные надгробия).
Время создания церкви определить трудно, так как отсутствуют четко выраженные хронологические признаки.
Форма апсиды ближе всего к храмам в районе подъемной дороги Эски-Кермена (рис. 163, 167). С другой стороны, среди пещерных церквей полуовальной формы наоса больше не известно. Наиболее близкие аналогии — часовня Баклы (см. ниже) (однако и там западная стена прямая) и часовня в обрыве Тешкли-буруна на Мангупе (рис. 227). Судя по обработке Т.2, архитектурным особенностям и археологическому материалу, полученному в ходе археологических исследований Качи-Кальена (Репников 19356, с. 109—111; Веймарн, Чореф 1976, с. 56—67), церковь вряд ли может датироваться временем ранее XI—XIV вв. Несомненно, что храм функционировал и в XVI—XVIII вв. (вспомним упомянутые надписи).
После выхода христиан из Крым в 1778 г. церковь была заброшена и, как считается, возобновлена в 40-х гг. XIX в. владельцем Качи-Кальена помещиком Хвицким (Гроздев 1888, с. 90; Веймарн, Чореф 1976, с. 70).
Однако остается недоказанным, что Хвицкий восстановил именно пещерную церковь св. Софии (Веры, Надежды, Любви), так как во всех источниках упоминается церковь св. Анастасии, которая расположена на другом конце поселения (Гермоген 1882, с. 482).
Более правдоподобными представляются сведения Ю. Кулаковского, посетившего Качи-Кальен в 1895 г. Он со ссылок на настоятеля монастыря сообщает, что церковь была обновлена «несколько лет тому назад, стены ее побелены известкой и кое-где выравнена» (Архив ИИМК, д. 90).
Храм № 2 (рис. 306—308) размерами 9 (с нартексом) × 2,5 м расположен в западной части поселения, в так называемом третьем гроте. Он представляет собой сочетание пещерной и наземной архитектуры: северная стена и апсида вырублены в скале, а южная сложена из камня по краю скалы (сохранились следы подрубки для установки кладки).
Апсида подковообразная, размерами 1,56×1,8 м, ориентирована на северо-восток (рис. 307). В ней сохранились сильно разрушенные следы алтарного возвышения высотой до 0,1 м. В стене — ниша для запрестольного образа. На стыке апсиды и наоса видны подрубки для крепления иконостаса. Перекрытие, вероятнее всего, было сводчатым (сохранилась пята арки свода).
Наос храма прямоугольный. В северной его части в полу вырублена гробница размерами 1,56×0,55×1,7 м (рис. 308). С запада к наосу примыкает нартекс, в полу которого вырублены две могилы (рис. 308). На стенах церкви видны следы плохо сохранившихся греческих надписей и рисунков, описание которых опубликовано Н. Репниковым (1935б, с. 107—108).
По мнению этого же исследователя, верхняя часть помещения была деревянной (с. 107).
В церковь вели два входа: с запада — в нартекс и с юга — в наос (в настоящее время сохранились следы двух вырубленных в скале ступеней (рис. 306), хотя не исключено, что эти входы разновременны.
Обычно в литературе при описании третьего грота в числе культовых сооружений упоминается только храм № 2. Остальные пещерные помещения трактуются как хозяйственные. Однако при внимательном изучении расположения вырубок в скале выявляется, что здесь располагался церковно-погребальный комплекс, состоящий из трех храмов и примыкающих к ним погребальных сооружений.
Храм № 3 расположен к юго-востоку от храма № 2 (рис. 309—314). Его размеры 3×1,3 м. В скале вырублена только часть северной стены, а апсида и остальные стены сложены из камня (на поверхности скалы ясно видны следы постелей стены и места крепления балок для перекрытия крыши).
Апсида имеет полукруглую форму, в ней сохранилась подрубка под основание для престола диаметром 0,28 м (рис. 314). На стыке апсиды и наоса видны следы для крепления алтарной преграды. С юга к основному помещению храма примыкала галерея (подрубка для столбов и ступеньки свидетельствуют об этом), объединявшая храмы № 3 и № 4.
Церковь № 4. Ее северная стена и нижняя часть апсиды были вырублены в скале, а южная стена, вероятно, была деревянной (сохранились гнезда для установки столбов). В апсиде прослеживается слабо выраженный синтрон и следы алтарной преграды (рис. 309, 315). У синтрона расположено основание для престола, его диаметр 0,2 м.
К западу от храма вырублены две могилы с заплечиками, а под ним две усыпальницы (рис. 313, 316), чуть ниже которых располагаются еще две.
Анализ вышеописанного комплекса позволяет предположить, что храмы № 2—4 являлись кладбищенскими часовнями, а третий грот на каком-то этапе жизни Качи-Кальена был местом захоронения его жителей. Еще один церковно-погребальный комплекс, вероятно, находится в небольшом гроте, расположенном к востоку от третьего. Здесь прослеживаются остатки двух храмов, аналогичных тем, что открыты в третьем гроте. Однако рассматриваемый комплекс в настоящее время практически недоступен и выполнить его обмеры не представлялось возможным.
Кроме описанных, на Качи-Кальене известно еще несколько культовых сооружений, ряд деталей которых был вырублен в скале:
1. На площадке ниже четвертого грота вырублена большая ниша с изображением рельефного процветшего креста (рис. 317). Скорее всего, это остатки часовни (Веймарн, Чореф 1976, с. 5—7), рядом с ней остатки церкви с гробницей (там же).
2. Под четвертым гротом в обломке скалы сохранилась вырубленная в скале апсида церкви св. Анастасии (там же, с. 59).
Таким образом, на Качи-Кальене к настоящему времени сохранились одна пещерная церковь, пять частично вырубленных в скале, три наземных со скальными деталями. Датируются они, вероятно, не ранее XI—XIV вв.
Хронология этих памятников, по всей видимости, может проясниться только в ходе археологических исследований (последние проводились на поселении только в 1933 г.).
Тепе-Кермен
Особенностью Тепе-Кермена является наибольшая, по сравнению с другими пещерными городами, концентрация пещер. На площади около 1 га их насчитывается более 250.
Подавляющее число внутрискальных сооружений здесь (около 85%) использовалось для хозяйственных нужд. Из них около 88%, или 170—180 помещений, являлись хлевами для животных. Остальная часть хозяйственных помещений представляла подвалы усадеб, цистерны для хранения воды. Нехозяйственные пещеры использовались для жилья и захоронения (Могаричев 1992, с. 96—98).
Среди пещер Тепе-Кермена особый интерес вызывают две церкви. Одна — «церковь с ризницей» (данные названия пещерных церквей в научный оборот введены Н. Боровко (1913) находится в северо-западном обрыве городища (рис. 318.2). Попасть в нее можно не поднимаясь на плато. Вторая, «церковь с баптистерием», расположена на самом плато, на его северо-восточном краю (рис. 318.3).
Непосредственная близость Тепе-Кермена от Бахчисарая и обилие искусственных пещер уже с начала XIX в. сделали его одним из наиболее популярных объектов посещения. Отметим самые интересные сообщения о церквах городища, встречающиеся в литературе.
П. Сумароков в начале XIX в. составил первое небольшое описание «церкви с баптистерием» и опубликовал ее глазомерный план (1805, с. 42).
Краткие сведения о церкви встречаются в «Крымском сборнике» П. Кеппена. Интересно замечание ученого: «Каких трудов стоило изсечь этот дом божий? Каким терпением должны были обладать те, которые оставив по себе этот памятник сами погружены в мрак забвения» (1837, с. 303—304).
Оставил нам описание и рисунки церкви Дюбуа де Монпере (1843, с. 312—318, фиг. 1, 2) (рис. 319). Упоминает о ней В. Кондараки (1875, с. 68).
Подробные сведения и рисунки церкви опубликовал Г. Караулов (1872, рис. 1, 2). Автор датировал ее первыми веками христианства. В обзоре Караулова обращают на себя следующие моменты: а) он видел обломки обрушившихся колонн от алтаря; б) не находил следов стенной живописи. Описание и планы церкви можно найти и в работах Д. Струкова (1876, с. 32—33) (рис. 5.1), А. Попова (1888, рис. 25—26), Е. Маркова (1872, с. 193).
В 1890 г. житель Бахчисарая И. Пузатов расчистил храм от мусора, проделал в нем окна и двери, пригласил священника и отслужил молебен (Латышев 1896, с. 60). Он же заметил замазанную известью надпись на стене напротив входа, скопировал ее и передал в Одесское общество истории древностей. В. Латышев опубликовал следующий перевод: «Выкопана могила сия по собственному моему желанию Полит… ом. Расширение (сделано) от раба Божия, благочестивейшего Мануила…» (1896, с. 61). Полностью текст восстановить не удалось, не было сделано и точной копии, поэтому ученый не счел возможным ее датировать.
В. Юргевич и А. Попандопуло-Керамевс на основании этой же копии, по палеографическим данным, все же попытались установить хронологию надписи, но их мнения разошлись, первый считал ее позднейшей, а второй счел возможным отнести к II—X вв. (там же, с. 60—61).
Первое подробное и полное описание всех пещерных церквей городища выполнил Н. Боровко в статье «Тепе-Кермен» (1913). Он собрал все известные ему сведения, выполнил точные замеры, скопировал греческую надпись в апсиде «церкви с ризницей» (с. 13) (рис. 320).
В 1927 г. краткий обзор пещерных церквей Тепе-Кермена был составлен Н. Никольским. Касаясь «церкви с баптистерием», он сообщал: «Справа от жертвенника, под известкой можно различить контуры Христа, изсеченного прямо на стене» (1927, с. 78). Это кажется странным, так как ни в более ранних работах, ни в более поздних об этом не упоминается. Скорее всего, «изображение Христа» является не более чем плодом фантазии Н. Никольского. Подробные сведения о рассматриваемых памятниках можно найти в неопубликованной «Археологической карте…» Н. Репникова (Архив ИИМК, д. 1, л. 365—368). Касаясь упомянутой датировки надписи, предложенной Попандопуло-Керамевсом, он замечал: «Столь ранняя датировка по общему характеру пещерного храма, нам представляется невероятной» (с. 367).
В 1940 г. церкви Тепе-Кермена были обследованы П. Бабенчиковым. Интересным представляется следующий вывод: «…В старину вся восточная часть пещеры (церковь с баптистерием. — Ю.М.) до самого алтаря была изолирована от храма, что вяжется с аналогиями в других пещерных храмах… Дальнейшим выводом из этой предпосылки будет предположить, что ориентировку алтаря нужно считать не на север, как делали до сих пор, а на восток. В пользу последнего предположения, помимо других данных, говорит и тот факт, что из двух входов в алтарь западный имеет ширину 0,68 м, а южный (считаемый до сего времени царскими вратами) всего 0,5 м. Думаю, что исследователей вводила в заблуждение случайно хорошая сохранность алтарной преграды с крестами в южной стене алтаря и полное разрушение ее в западной. В пользу моего предположения говорит и существование крупной и правильно четырехугольной формы вырубки в восточной стене, которую считают «сидением», но которую следует считать переделанным впоследствии престолом» (Архив БГИКЗ, д. 15—27).
Интересно наблюдение П. Бабенчикова, касающееся аналогии с «храмом с крещальней» в Инкермане: при всех архитектурных различиях данных церквей исследователь обратил внимание на важное сходство — расположение в храмах баптистериев, которые в древности отделялись от церквей перегородкой, и крещален со ступенькой.
Относительно много места «церкви с баптистерием» уделил в своих работах А. Якобсон, датировавший ее VIII—IX вв., практически не приводя никаких аргументов, за исключением поперечного расположения нефа (1964, с. 51—52; 1970, с. 178—179). Кроме указанных работ, пещерные церкви Тепе-Кермена еще неоднократно упоминались в литературе (Талис 1974, с. 107; Герцен, Махнева 1989, с. 43—44), однако в основном в ней повторялись уже известные выводы Н. Боровко и А. Якобсона.
Подводя итог, можно отметить, что подземные храмы Тепе-Кермена, несмотря на известность и популярность, изучены слабо. За исключением описаний, не был сделан архитектурный анализ, не приведены серьезные аргументы в пользу той или иной датировки.
«Церковь с баптистерием» (№ 1) (рис. 321—334). В плане помещение трапециевидной формы, размерами 10,5×4,5×2,6 м, потолок слегка покатый к западной стене. Функционально помещение делится на две части — собственно церковь и крещальню.
Храм, размерами 6,4×4,5 м, расположен в западной части. Его алтарь, вынесенный внутрь помещения, занимает северо-восточный угол и представляет собой отгороженное, высеченной в скале алтарной преградой квадратное помещение 2,7×2,7 м. Он поднят над наосом на 0,3 м. В него ведут два входа — царские врата (южный) шириной 0,5 м и боковой (западный) — 0,7 м.
Плиты алтарной преграды со стороны царских врат, толщиной 0,25 м, высотой 1,35 м, шириной 1,1 м, с лицевой стороны украшены большими рельефными крестами — 0,7 к 0,48 м восточный и 0,65×0,52 м западный (рис. 322, 327). С западной стороны алтарная преграда частично разрушена. На нее опирались 6 скругленных столбов, толщиной до 0,25 м в диаметре, увенчанных капителями (рис. 325—327). В настоящее время уцелело лишь три столба. В полу алтаря имеется углубление, очевидно, основание для установки престола. В восточной стене, на высоте 0,55 м, есть вырубка четырехугольной формы. П. Бабенчиков считал ее ранним престолом (см. выше), а Н. Репников — «сидением» (АКК, с. 100). Вероятнее всего, это было горнее место (рис. 328).
В северной стене алтаря вырублена ниша 0,9 м, являвшаяся жертвенником. К югу от последнего — окно 0,6×0,45 м.
В свете рассмотренного, гипотеза П. Бабенчикова о месте размещения царских врат представляется малоубедительной. Несмотря на то, что западный вход действительно несколько шире, он не был орнаментирован, в отличие от южного. Это хорошо видно на гравюре прошлого века; кресты вырезаны на лицевой части только с южной стороны алтарной преграды, где, несомненно, и располагались царские врата (рис. 324).
Наос прямоугольной формы. Вдоль западной, южной и частично северной стен вырублена скамья шириной 0,25 м, высотой 0,35 м. В западной стене устроена гробница 2×0,65 м, а еще две, 1,75×0,65 м (восточная) и 1,9×0,75 (западная), вырублены в скамье южной стены. Над западной могилой южной стены процарапана упоминавшаяся восьмистрочная надпись (рис. 332). Еще одна могила вырублена в полу к югу от алтаря (рис. 321). Вход в церковь, шириной 0,8 м, вел с севера и находился в северо-западном углу (рис. 321)).
Крещальня (рис. 321, 331), размерами 4×4,2 м, прямоугольной формы, расположена в восточной части помещения и возвышается над наосом на 0,15 м. Купель крестообразной формы (1,25×0,9×0,8 м) вырублена в юго-восточной половине. Над полом она возвышается на 0,35 м. В купель имеется спуск из двух ступеней, первая глубиной 0,3 м, вторая — 0,2 м. К западу от купели в полу вырублена могила, а еще одна — в северо-западном углу, рядом со стеной алтаря. Вдоль южной стены проходит скамья, над которой в стене находится ниша-гробница. Рядом с баптистерием в стене выемка четырехугольной формы 1,2×1×0,55 м. По бокам баптистерия — две ниши 0,25×0,3 м, над одной вырезана монограмма (Латышев 1896, с. 61) (рис. 333). С севера в помещение вел частично разрушенный вход шириной 1 м. К югу от него в западной стене устроена еще одна ниша 1,4×0,9 м.
К северу от церкви на краю плато в скале вырублено 9 гробниц и 5 усыпальниц (Боровко 1913, с. 21—22) (рис. 334). Могил, вероятно, было больше, однако территория перед входом в церковь частично засыпана землей.
«Церковь с баптистерием» является уникальным памятником. Во-первых, она имеет поперечное расположение нефа, во-вторых, вынесенный внутрь алтарь, в-третьих, баптистерий, и, наконец, в-четвертых, храмы с таким архитектурным решением среди скальных культовых сооружений Крыма больше не известны.
Наиболее близкая аналогия данному памятнику — комплекс «Судилище» (до расширения). Сходные черты проявляются: вынесенный внутрь алтарь, наличие горнего места, расположение алтаря в правом дальнем от входа углу, крещальня, отделенная от остального помещения стеной алтарной преграды. Последнее объясняет архитектурное решение алтаря.
Тепе-Керменская церковь имеет общее и с «храмом с крещальней» в Инкермане, а именно: наличие баптистериев со ступенькой.
Датировка. Прямых хронологических признаков, позволяющих однозначно датировать церковь, нет. Надпись над могилой на южной стене также не содержит даты.
Датировка А. Якобсона VIII—IX вв. на основании поперечного расположения нефа не выдерживает критики. Как отмечалось, на Эски-Кермене храмы с таким архитектурным решением датируются не ранее конца X в., подобные сооружения среди пещерных церквей Каппадокии существовали в X—XI вв. (Jerphanion 1925, pl. 28; Rodley 1985, p. 152, 165, 216; Epstein 1986). Казалось бы, датирующим элементом могут быть формы крестов на алтарной преграде, которые выглядят архаично, аналогии им есть на раннесредневековых алтарных преградах Херсона (Византийский Херсон 1991, с. 20). Однако такие же кресты имеются на саркофаге XI в. (Ozsait, Sodini 1991, p. 60—61, pl. 18), на кивории, изображенном в миниатюрах кодекса бесед монаха Иакова XI в. (Покровский 1916, с. 45, рис. 100) и других поздних памятниках.
Декор, близкий орнаменту на капителях «церкви с баптистерием» (рис. 329) имеется на капителях церкви Халас монастыря в Каппадокии (Rodley 1985, фиг. 10, 15), который датируется XI в. (р. 24—26).
Поэтому весь комплекс архитектурных особенностей церкви позволяет отнести ее ко времени не ранее XI в.
Важным в датировке данного памятника может стать анализ археологической ситуации на Тепе-Кермене. Это один из наиболее слабо изученных «пещерных городов». Археологические исследования здесь проводил только Д. Талис в 1969—1972 гг., который выяснил, что городище существовало с VI до конца XIII—XIV вв. Однако «весь культурный слой на исследованных участках разделяется на два хронологически различных напластования, относящиеся ко времени после X в.» (1977, с. 103), а плотная застройка появляется только в XII—XIII вв. (с. 98—103).
Такая археологическая ситуация является отражением исторических процессов, протекавших в средневековой горной Таврике.
Тепе-Кермен возникает, очевидно, в конце VI—VII вв. как крепость, построенная на границе византийских владений в Таврике. Вероятно, сооружение оборонительных стен имело место на одном хронологическом этапе со строительством обороны на Эски-Кермене, Мангупе и Чуфут-Кале (Могаричев 1992, с. 72—73). Очевидно, в раннем средневековье люди жили на Тепе-Кермене в основном во время проникновения неприятеля в горный Юго-Западный Крым. Период VIII—IX вв. не нашел отражения в археологическом материале городища. Известно, что в это время жизнь сосредоточивалась в сельских поселениях, расположенных в долинах (Якобсон 1970, с. 182—185). В X в. эти поселения погибают.
С XI в. ситуация меняется. Ослабление и гибель Хазарского каганата, вхождение Таврики вновь в сферу влияния Византии, развитие процессов феодализации приводит к складыванию городских центров. Вероятно, одним из них и был Тепе-Кермен.
Надо думать, что именно с XI в. на поселении начинают сооружаться пещерные церкви. Кроме них, здесь известен один наземный храм — однонефная часовня с полукруглой апсидой, размерами 5,5×2,2 м, датированная Д. Талисом XI—XIII вв. (1977, с. 102—103). Исходя из массивности стен, ученый считал ее частью какого-то большого комплекса, может быть крупной усадьбы.
Несомненно, что сооружение «церкви с баптистерием», на данный момент самого крупного из известных здесь культовых сооружений, было связано с началом застройки городища, так как только этим можно объяснить наличие баптистерия и обилие погребальных сооружений в церкви и ее округе. Последнее указывает и на относительно долгое функционирование храма.
Возможно, именно «церковь с баптистерием» была главным культовым сооружением Тепе-Кермена.
Таким образом, все аргументы — архитектурные особенности, анализ археологической ситуации — позволяют отнести появление церкви к XI—XII вв.
«Церковь с ризницей» (рис. 335—340) имеет размеры 4,9×2,2×2,1 м. В плане это простой одноапсидный храм. Апсида подковообразная 1,85×1×2 м, в верхней части отделяется от наоса подпружной аркой. Внизу видны подрубки под установку алтарной преграды и, вероятно, более позднего иконостаса. В полу имеется квадратная вырубка для основания престола. В северной и южной стенах апсиды вырублены ниши — возможно жертвенник и диаконник. В конхе апсиды высечена четырехстрочная греческая надпись (рис. 339).
Наос прямоугольный, вдоль западной и южной стен, на высоте 0,43 м, устроена скамья. В южной стене (западная половина) вырублена могила 2,75×0,8×0,72 м. Над ней, на высоте 1,5 м, — арочная ниша размерами 0,37×0,35×0,2 м. В восточной части южной стены вырублен проход в ризницу, скругленную в плане, размерами 2,1×2,3×1,7 м.
В северной стене к западу от входа, на высоте 0,85 м — арочная ниша (0,17×0,3×0,2 м). К востоку от входа — еще одна, размерами 0,24×0,53×0,5 м, сооруженная на высоте 0,9 м. Рядом с ней вырезаны два концентрических круга, внутри которых изображены крестообразно четыре спицы. В нижней половине круга видны (сохранились) четыре буквы древнееврейского алфавита (рис. 340), которые А. Гидалевич интерпретировал как фамилию «Бакши» (1914, с. 204).
В полу церкви вырублены две могилы с заплечиками, размерами 2×0,57×0,5 м северная и 2,1×0,8×0,5 м — южная.
Обработка помещения — сглаженная Т. 2. Вход в церковь — прямоугольный (1,36×1,58 м). По его бокам видны подрубки для крепления дверей.
В архитектурном плане «церкви с ризницей» среди пещерных храмов трудно найти прямые аналогии. Наличие в западной части апсиды углублений (северная и южная стены) сближает ее с храмом Южного монастыря Мангупа и главной церковью Шулдана, ризницы — с малым храмом в районе подъемной дороги Эски-Кермена. По внутренней обработке «церковь с ризницей» выглядит более новой по сравнению с «церковью с баптистерием».
Вполне возможно, что она появилась на последнем этапе жизни Тепе-Кермена как придорожная церковь, расположенная у входа на городище. Отметим, что именно под ней проходила дорога, ведущая на плато Тепе-Кермена.
Отмеченные церкви — наиболее известные скальные культовые сооружения поселения. Однако, по нашему мнению, на городище могли быть и другие внутрискальные храмы. В историографии предпринимались попытки их выделить.
Одну церковь на юго-западном обрыве находил Н. Боровко, однако, в ходе размышлений, отказался от этой идеи (1913, с. 28). О каких-то пещерных церквах упоминается в путеводителе по Крыму М. Сосногоровой (1880, с. 199).
На наш взгляд, культовым является комплекс, расположенный к востоку от «церкви с ризницей» (рис. 341—343). В настоящее время указанные помещения почти или полностью разрушены (рис. 341), в частности, сохранились только южная и западная стены. В южной стене видны две прямоугольные ниши, в одной из которых видны следы плохо сохранившейся греческой надписи (рис. 344—345). В полу вырублены четыре могилы. В южной стене вход в небольшое помещение, возможно ризницу, с обработкой Т.2.
Вполне возможно, что данная церковь являлась предшественницей «церкви с ризницей», а некоторое время могла составлять с ней культово-погребальный комплекс у входа на плато Тепе-Кермена.
Таким образом, на Тепе-Кермене выделяются две пещерные церкви, а наличие еще одной можно предполагать.
Вероятно, первоначально в XI—XII вв. была вырублена «церковь с баптистерием», расположенная на плато, внутри крепостных стен, а остальные появились позднее, по мере роста поселения.
Очевидно, после прекращения жизни на Тепе-Кермене в конце XIII—XIV вв. пещерные церкви в какой-то мере продолжают использоваться жителями соседних долин и отдельными отшельниками. В пользу этого говорит надгробная надпись монаха Николая, найденная здесь и датированная В. Латышевым XVI в. (1918, с. 45—46). Однако говорить о полнокровной жизни этих церквей в данное время не представляется возможным.
Чуфут-Кале
Проблема присутствия на Чуфут-Кале христианских памятников вообще и пещерной церкви в частности одна из самых спорных в истории этого поселения.
С одной стороны, они должны присутствовать обязательно: здесь по крайней мере до середины XIV в. проживало аланское население, исповедавшее христианство (Герцен, Могаричев 1993, с. 44). Но с другой стороны, на городище не обнаружено какого-либо пещерного сооружения, в котором можно было бы однозначно предположить христианскую церковь.
Для решения данного вопроса обратимся к литературе прошлых лет и данным архитектурно-археологических исследований, в которых имеются упоминания о нахождении среди пещерного комплекса в районе южных ворот церкви (там же, с. 42—49).
Д. Струков при обследовании пещер Чуфут-Кале нашел в одной из них высеченный в скале крест (Архив ИИМК, д. 35, л. 17).
В книге А. Попова «Вторая учебная экскурсия Симферопольской мужской гимназии в Бахчисарай» (1888) читаем: «Все повернули влево и стали подниматься по довольно крутой тропинке. Вскоре показалась между развалинами разработанная для пешеходов дорожка с камнями в виде ступенек, значительно облегчавших подъем. Направо по входе в ворота, при разделении дорог, были осмотрены остатки пещерной церкви, по указанию сторожа по его словам, здесь была живопись, возле церкви усыпальница, из больших пещер некоторые окружены выдолбленными возвышенностями, может быть тоже усыпальницы. В церкви алтарная часть полукруглая, в тех местах, обратил внимание гул пустоты» (с. 71).
Караимский гахам обратился в ТУАК с просьбой «осмотра и исследования» этого открытия. Ее члены осмотрели пещеру и пришли к выводу: «Ввиду изложенного мы не решаемся утверждать, что осмотренная нами с особой тщательностью пещера могла быть когда-нибудь христианской церковью и скорее всего готовы высказать предположение, что она, в позднее время служила обыкновенным жильем для людей» (ИТУАК 1889, с. 120—123).
В дальнейшем В. Бабенчиков вернулся к предположению о принадлежности данного помещения к христианскому культовому комплексу (Архив ИИМК, д. 11, л. 11). В 1970-х гг. М. Чореф обследовал предполагаемую церковь, а в соседнем помещении раскопал усыпальницу с находившимися в ней костями (Архив БГИКЗ, д. 18, л. 7). Возникло вполне обоснованное мнение о том, что вследствие позднейших переделок первоначальный облик церкви изменился. Важно отметить, что на стенах пещер данного комплекса были обнаружены процарапанные кресты.
Есть здесь и помещения с гробницами, по форме аналогичные тем, которые имеются в других пещерных монастырях.
Интересно помещение № 3. Вдоль стен вырублена скамья. В полу выдолблены четыре ямы, очевидно для очагов. У входа в полу две хозяйственные ямы. Все это говорит о том, что данное помещение могло быть трапезной (Герцен, Могаричев 1993, с. 45).
Наше обследование предполагаемого помещения выявило следующее.
Оно прямоугольной формы, размерами 7,76×6,4×2,2 м (рис. 346 349). Вдоль южной стены просматриваются остатки разрушенной скамьи (рис. 349). Здесь же вырублены три окна — два прямоугольных, одно арочное. Возле последнего — круглая сглаженная подрубка, похожая на углубление для установки икон. В северо-западном углу — отгороженное помещение размерами 2,1×2,3×1,9 м, открытое с запада. С юга в него на уровне 0.4 м от пола вел прямоугольный вход 1,3 я 0,95 м. Над последним находилось еще одно углубление для иконы. Частично разрушенный входной проем имелся в западной стене пещеры. В северо-западном углу виден другой входной проем, который ведет в помещение, где М. Чорефом была раскопана усыпальница.
Присутствие усыпальницы и подрубок для установки икон позволяет интерпретировать данную пещеру как культовую. Если верно данное предположение, то в архитектурном плане церковь была похожа на «церковь с баптистерием» на Тепе-Кермене, а отгороженное помещение скорее всего было вынесенным внутрь алтарем. Отметим, что по размерам и форме алтари двух церквей близки.
Предполагаемое присутствие храма позволяет поставить вопрос о нахождении в районе южных ворот христианского монастыря (рис. 346) (Герцен, Могаричев 1993, с. 42—45).
Для решения вопроса о датировке монастыря обратимся к данным истории поселения на плато Чуфут-Кале.
Исследования последних лет позволяют предположить, что крепость была возведена в конце VI—VII вв. и принадлежала гото-аланам — федератам Византийской империи. В то время это была малонаселенная крепость, в которой находился небольшой гарнизон. Но в случае военной опасности здесь могли укрыться вместе со своим имуществом жители густозаселенных окрестных долин.
Нам не известно первоначальное название поселения Письменные источники XIII—XVII вв. называют это место Кырк-Ор или Кырк-Ер, что в переводе с крымскотатарского означает «сорок укреплений». Надо думать, этот термин имеет греческий или иранский корень, впоследствии, по приходу в данную местность татар, приобретший тюркское значение.
Впервые в письменных источниках крепость упоминается в 1299 г. Арабский летописец Рукнедин Бейбарс сообщает, что золотоордынский темник Ногай, в ответ на убийство в Крыму своего внука, направился на полуостров с карательной экспедицией. В числе разоренных им мест значится и Кырк-Ор. Но после похода Ногая крепость не вошла в состав Золотой Орды, ибо в 1321 г. арабский географ Абульфеда пишет: «Керкер… находится в стране Ассов… это укрепленный замок, труднодоступный, он опирается на гору, на которую нельзя взойти. На верху горы есть площадь, где жители страны (в минуту опасности) находят убежище… жители принадлежат к племени Ассов». Таким образом, еще в начале XIV в. Кырк-Ор принадлежал аланам-ассам, судя по письменным источникам, находившимся в союзнических отношениях с византийским Херсоном, и, видимо, являлся их главной крепостью.
Вероятно, в 40-х гг. XIV в., в период правления хана Джанибека, Кырк-Ор все же был покорен татарами. С этого времени начался новый этап в его истории. Городище становится центром относительно самостоятельного золотордынского бейлика (области), возглавляемого беками Яшлау. В Крыму кырк-ерские беи занимали довольно высокое положение. Так, в 1363 г. в битве с литовским князем Ольгердом наравне с крымским (солхатским) и мангупским правителями принял участие и кырк-ерский хан. О силе и самостоятельности владетелей Кырк-Ора сообщают и польские источники.
В XV в. во время образования Крымского ханства Чуфут-Кале становится первой столицей этого государства. Здесь устроили свою резиденцию первые крымские ханы — Хаджи Гирей и Менгли Гирей. В это время в Кырк-Оре расширяется мечеть, воздвигнутая при Джанибеке, вероятно, основывается мусульманская духовная школа — медресе, находится ханский дворец, чеканится монета, принимаются послы иностранных государств, заключаются дипломатические договоры. Из ханских ярлыков (жалованных грамот) мы узнаем, что в городе живут мусульманская, христианская (вероятно, греческая и армянская) и иудейская общины. Две последние к востоку от крепостной стены основывают посад (предместье), который впоследствии стал именоваться «Новым городом».
Но Чуфут-Кале не суждено было долго оставаться столицей. В начале XVI в. строится Бахчисарай. Туда переезжает хан со свитой, а за ним и почти все мусульмане. Уже в начале XVII в. татарами в крепости были лишь начальник и кади (судья). Появляется и новое название: Чуфут-Кале — иудейская крепость. Но она еще долго продолжает использоваться ханами как склад оружия и убежище на случай междоусобиц. После ухода татар здесь в основном жили караимская и немногочисленная армянская общины, а после вывода христиан из Крыма в 1778 г. — одни караимы. (Герцен, Могаричев 1992; 1993; Могаричев 1991).
Исходя из представленных данных, время жизни монастырского комплекса у ворот Кичик-Капу может быть определено XIII—XIV вв. Вероятно, после захвата крепости татарами и превращения ее в дальнейшем в столицу Крымского ханства, христианский монастырь ликвидируется, но, возможно, не окончательно. Не случайно именно с XV в. появляются сведения об Успенском монастыре, расположенном на противоположном склоне ущелья Марьям-Дере.
Успенский монастырь
Успенский монастырь, как отмечалось, был основан в XV в., а после захвата Крыма турками здесь размещается резиденция митрополита. Сведения о монастыре часто встречаются в источниках XVI—XVII вв. (Гермоген 1887, с. 476). В этот период здесь функционирует одна пещерная церковь Успения Богородицы и ряд сопутствующих помещений.
В 1783 г. Крым стал частью Российской империи. Русские войска, расквартированные под Бахчисараем, расширили Успенскую пещерную церковь, бахчисарайский комендант полковник Тотович устроил иконостас, губернатор Каховский — царские двери, церковный староста Стефан Калига расширил лестницу, ведущую к храму. Однако в 1789 г. в Бахчисарае был возведен Николаевский собор, и священник перебрался туда, а Успенский храм был превращен в кладбищенскую часовню (там же, с. 476).
В середине XIX в. русское правительство начинает возрождать отдельные христианские объекты в Крыму.
15 августа 1850 г. состоялось торжественное открытие Успенского скита.
Количество монахов в монастыре не было постоянным. Уже в конце XIX в. их насчитывалось здесь до 30 человек.
К началу XX в. в монастыре функционировало пять храмов (Православные русские обители, 1991, с. 654). Первый из них, в честь Успения Богоматери, был устроен в древней пещерной церкви монастыря. Пещерный храм Святого Марка, ниже Успенской церкви, появился в 1859 г. на пожертвования симферопольского чиновника Марка Айвазова. Храм Константина и Елены был построен под скалой в 1857 г. на деньги Елизаветы Борковой. Храм Георгия Победоносца в 1875 г. был воздвигнут на противоположной стороне оврага. Его ктитором выступил генерал Петровский. Пятый храм, в честь Иннокентия Иркутского, был построен в 1896 г. в память об архиепископе Иннокентии на средней площадке скита (Герцен, Могаричев 1995, с. 39—40).
Кроме храмов, на территории монастыря был еще ряд сооружений: в 1862 г. на средней площадке находились дом настоятеля и двухъярусный трапезный корпус. Там размещались трапезная, кухня с пекарней и шесть келий. Для остальных обитателей были высечены 16 келий в скале и две построены под скалой. Для приема посетителей в 1867 г. выстроили два двухэтажных дома. При въезде из города в монастырь были устроены ворота и две кельи. На территории монастыря сооружены фонтан и бассейн, проложена новая дорога в Бахчисарай, вырублена в скале лестница из 84 ступеней, ведущая на монастырское плато.
В 1920 г. монастырь был закрыт.
Таким образом, в Успенском монастыре была одна средневековая церковь. Однако во время «ремонтов» конца XVIII—XIX вв. она была настолько перестроена, что ее древняя часть полностью утрачена (рис. 350—352).
Учитывая изложенное, мы решили не анализировать указанный памятник.
Бакла
Пещерные сооружения городища Бакла (рис. 353.1) являются наименее изученными скальными памятниками Крыма, хотя первые сведения о них опубликовал еще К. Таблиц (1785, с. 14).
По данным археологических исследований, история поселения представляется в следующем виде: культурный слой содержит материалы с IV—VI по XIV в. (Рудаков 1981, с. 73; Талис 1969, с. 62—63; 1974, с. 98—102; 1981, с. 66—67), но наиболее плотная застройка относится к X—XIII вв. Анализируя Баклу этого периода, В. Рудаков пришел к выводу, что городище являлось малым городским центром (1981; 1984, с. 53).
Как культовый скальный памятник, на Бакле однозначно можно интерпретировать только одну часовню. Она находится в 500 м к западу от городища, на верхней скальной террасе. Первое описание памятника было составлено А. Маркевичем (1889, с. 112), а подробная информация о нем была опубликована И. Волошиновым и Н. Клепининым (1912, с. 157—158).
Сведения о часовне встречаются в работах Н. Репникова (АКК, с. 372—373), Е. Веймарна (1958в, с. 76), В. Рудакова (1980, с. 39) и ряда других авторов.
Очень подробное описание памятника было опубликовано В. Петровским (1994) (рис. 354).
«В часовню с северо-запада ведет высеченный в скале изогнутый коридор протяженностью 2,3 м, расширяющийся у входа. Стены коридора вертикальные, максимальная ширина 1,3 м, высота 1,6 м. В юго-западной стене, на расстоянии 0,6 м и 0,8 м от входа, имеются две подпрямоугольные подрубки 0,2×0,1 м; 0,23×0,12 м, а так же круглое углубление диаметром 0,05 м, глубиной 0,07 м. В полу коридора у входа вырублен сток для отвода воды, подпрямоугольный в сечении. Вход в часовню размером 1,33×0,62 м подпрямоугольный, со слабо выраженным арковидным верхом и закругленными углами, образует коридор 0,85 м длиной. Внутренние контуры коридора имеют трапециевидную форму 1,33×0,7—0,55 м. В потолке у входа с юго-западной стороны просверлены два отверстия диаметром 0,05 и 0,06 м, глубиной 0,06 м. Такое же отверстие диаметром 0,06 м, глубиной 0,03 м имеется на полу для крепления дверной оси. С противоположной стороны на высоте 0,01 м от пола высечено трапецевидное углубление 0,05×0,03×0,05 м для дверного засова, закругленное изнутри. Высеченные перед углублением для оси прямоугольные пазы на полу и в углах у потолка служили для крепления дверной коробки. Дверь открывалась внутрь помещения слева направо. Над входом в часовню имеется подтеска полуовальной формы для крепления козырька. Лицевая часть скальной поверхности над входом тщательно обработана. Помещение в плане имеет вытянутую овальную форму 4,4×2,85 м, ориентировано по оси ЮЗ-СВ с отклонением апсиды на 30° к востоку. Максимальная высота часовни — 2,3 м. Потолок имитирует коробовый свод. Между стенами и потолком — четко выраженная граница. Стены вертикальные. Из коридора внутрь помещения вырублена ступенька 0,95×0,25×0,17 м, угол ее округлен. Вдоль юго-западной и юго-восточной стен оставлен уступ подпрямоугольной Г-образной формы (0,9×0,3×0,28 м и 1,5×0,3×0,14 м). В юго-западной стене, на высоте 0,5 м от уступа вырублено амбразуровидное окно подпрямоугольной формы с округленными углами. Наружная часть окна овальная. Его внутренние размеры — 0,7×0,56, наружные — 0,37×0,33 м, длина 1,42 м. Окно ориентировано на юг, с незначительным отклонением на юго-запад. В юго-восточной стене, напротив входа, на высоте 0,9 м от уступа высечена арковидная ниша 0,44×0,4×0,2 м. На расстоянии 0,36 м от нее по направлению к апсиде имеется неглубокое прямоугольное углубление 0,6×0,22×0,01—0,02 м. Апсида была отделена от основного помещения алтарной преградой (сохранились пазы в верхней части юго-восточной и северо-западной стен шириной 0,2 м для ее крепления), а также арковидным уступом по своду потолка. К юго-западу от этого уступа на 0,2 м в центральной части потолка вырублена подпрямоугольная ниша 1,15×0,68×0,12 м. В ней высечена борозда, поперечная оси помещения, длиной 0,68 м, в которой на расстоянии 0,18 м от края и 0,18 м друг от друга просверлены два конусовидных отверстия диаметром 0,01 м, глубиной 0,01 м, возможно, для крепления лампады. В средней части северо-западной стены на высоте 1,6 м от пола высечен крест 0,19×0,14×0,03—0,05 м. В этой же стене вырублены в различных местах три углубления округлой формы диаметром около 0,05—0,1 м, глубиной 0,02 м. В центральной части апсиды 2,95×1,5 м имеется арковидная ниша 0,29×0,24×0,11 м. Под ней на высоте 0,15 м от пола высечен вертикальный фигурный паз 0,2×0,1×0,05 м, служивший, вероятно, для крепления алтарного столба. В северо-западной части апсиды вырублено углубление прямоугольной формы 0,44×0,12×0,1 м. Поверхность пола неровная, за исключением участков в восточной части апсиды и у юго-восточной стены. Уровень пола апсиды на 0,1 м ниже, чем в помещении. В северной части апсиды в полу у стены вырублено овальное углубление 0,6×0,36×0,35 м. Пол в часовне, вероятно, был деревянным и крепился на уступах вдоль стен» (1994, с. 68—69).
Датировал В. Петровский часовню X—XI вв. (Петровский, Труфанов 1995, с. 141).
Опубликованный В. Петровским и А. Труфановым материал из раскопок в округе часовни (1995, рис. 1) (рис. 353.2) позволяет, на наш взгляд, рассмотреть вопрос о датировке памятника. Однако сначала необходимо уточнить и проанализировать выводы и логические построения указанных авторов.
По их мнению, схема развития данного участка представляется в следующем виде. Первоначально (VIII—IX вв.) здесь находился монастырь, состоящий из наземного храма на нижней террасе (рис. 353.2, кв. 1, 3), 17-ти скальных келий и хозяйственных помещений (рис. 353.2, № 1—17), 10-ти скальных склепов, тарапана, пещеры с источником и караульного помещения (рис. 353.2, I—Х, 21, 22). После прекращения функционирования монастыря (конец IX в.) на этом месте возник плитовый могильник (IX—XII вв.) и высекается скальная часовня (рис. 353.2, 18) (1995, с. 141—142).
По нашему мнению, версия о монастыре не более, чем полет фантазии авторов. Даже беглого взгляда на план, не говоря об осмотре на местности, достаточно, чтобы увидеть: на указанном участке выделяются два отдельных комплекса — скальная часовня с «монастырскими помещениями» и могильник с храмом на нижней террасе (рис. 353.2).
Непонятно, на основании чего помещения № 1—17 были интерпретированы как монастырские. Во время археологических исследований в одном из них (№ 10) было обнаружено 26 захоронений, аналогичная ситуация и в помещении № 11(1995, с. 137). Другие пещеры комплекса, заполненные суглинком и обломками скальной породы, не исследовались.
Несомненно, что рассматриваемые памятники не что иное, как усыпальницы, которые широко представлены на «пещерных городах» и часто находятся рядом с церквами (см., например, Эски-Кермен и Тепе-Кермен).
В процессе исследования среди 26 костяков была обнаружена только серьга из гладкой бронзовой проволоки с сомкнутыми концами (Петровский, Труфанов 1995, с. 137, рис. 2.2). Такие серьги начинают бытовать с X—XI вв. (Айбабин 1991, с. 47, рис. 7).
Отсутствие материала в усыпальницах может объясняться их ограблением, бедностью местного населения или поздним временем, не ранее XII—XIII вв., когда в жизнь обитателей Баклы прочно вошли каноны христианства. Например, позднейшие могилы Эски-Керменской базилики также почти безынвентарны (Паршина 1988, с. 46—47).
Второй вариант маловероятен, так как в плитовом могильнике на нижней террасе вещей гораздо больше. Поэтому, скорее всего, отсутствие инвентаря у погребенных может объясняться ограблением и поздним временем.
Рассмотрим участок на нижней террасе.
Скальные склепы. Все захоронения в них потревожены. Вероятно, уже в XI в. они не функционировали (Петровский, Труфанов, с. 138).
Плитовые могилы. Материал, обнаруженный в них, обычен для X—XI вв. (Там же, с. 138—140). Могилы располагались вокруг наземного храма, очевидно, часовни.
Неясно, почему В. Петровский и А. Труфанов датировали храм VIII—IX вв. и считали его предшествующим плитовому могильнику (с. 140—141). Этому противоречат даже их наблюдения за расположением могил — большинство из них были устроены вокруг апсиды (с. 140) или «прорезали» пристройки. Следов же «перекрытия» апсиды храма могилами нет.
Аргумент, что при сооружении некоторых могил был использован обработанный камень, а в заполнении найдены фрагменты штукатурки с остатками фресок, выглядит неубедительным. Церковь несомненно неоднократно ремонтировалась, а при ее сооружении образовался строительный мусор.
Таким образом, археологическая ситуация на данном участке представляется следующим образом: первоначально здесь были скальные склепы и, возможно, тарапан, хотя последний, вероятно, склепам предшествовал и входил в винодельческий комплекс первого строительного периода (Талис 1969, с. 58). Не ранее X—XI вв. возводится наземный храм, а вокруг него появляется плитовый могильник. Подобная ситуация характерна для большинства могильников Таврики. По мнению А. Айбабина, в ряде мест на рубеже IX—X вв., а в Лучистом в XII в., грунтовые (склеповые) могильники сменяются плитовыми, обязательным элементом которых, как правило, являются церкви (1993, с. 130).
Вероятно, не ранее конца XI—XII вв. появляется комплекс на верхней террасе, состоящий из скальной часовни и усыпальниц. Пока неясно, усыпальницы пришли на смену плитовому могильнику или они некоторое время сосуществовали, это может выяснить археологическое исследование обоих участков.
Вышеперечисленные аргументы позволяют датировать баклинскую часовню временем не ранее конца XI в., а вероятнее всего — XII—XIII вв.
Данное культовое помещение было кладбищенской часовней, расположенной в предместье Баклы. Функционировала она, очевидно, до конца XIII—XIV вв. и была заброшена после затухания жизни на городище.
Кроме часовни, на Бакле известны и другие скальные памятники, в которых некоторые исследователи видели церкви.
Например, сначала П. Кеппен (1837, с. 321), а затем и Е. Марков (1902, с. 460) сообщали о полуразрушенной пещере, которую проводники считали церковью. А. Маркевич категорически отрицал идентификацию данного помещения с храмом (1889, с. 111).
Наше обследование пещерных сооружений Баклы также не позволило выявить пещеры, которые однозначно можно было интерпретировать как культовые. Поэтому, на наш взгляд, для подтверждения или опровержения гипотезы необходимы дальнейшие археологические исследования памятников.
Церкви за пределами «пещерных городов»
В настоящей работе мы рассмотрели церкви, расположенные на так называемых «пещерных городах». Однако скальные культовые сооружения известны еще в ряде мест.
Херсонес
Здесь выделяется так называемый подземный храм на главной улице. Его краткое описание было опубликовано А. Якобсоном (1959, с. 191—192), а детальный анализ и обзор историографии составил С. Беляев (1989) (рис. 355): «Пещерный храм — это двухкамерное углубление в скале с апсидой в восточной стороне. Восточная часть значительно больше западной. Общая длина (включая апсиду) на уровне пола — 8,34 м, наибольшая ширина восточной части — 4,65 м, западной (до порога ниши) — 4.52 м. В настоящее время пещерный храм не имеет никакого перекрытия… общая высота (глубина) пещерного храма от наружного края скалы — 5,86 м, от нижнего выруба — 5,05 м… в пещерный храм с востока вела лестница, вырубленная в скале. Длина ее сохранившейся части — 4,12 м, так что общая длина пещерного храма вместе с лестницей — 12,46 м» (с. 37).
А. Якобсон датировал церковь V—VI вв. и считал ее Мартирием, переделанным из более ранней цистерны (1959, с. 191—192).
С. Беляев попытался реконструировать церковь. Он также датирует ее ранневизантийским временем, однако отрицает существование первоначальной цистерны (с. 37). Вслед за К. Гриневичем, С. Беляев считает храм памятником одному из херсонских святых (с. 54).
В настоящей работе мы не ставили своей задачей провести анализ данного помещения, однако хочется отметить, что: а) убедительных доказательств в пользу раннесредневекового происхождения храма нет. Действительно, во время археологических исследований в засыпи помещения были обнаружены ранние материалы (там же, с. 29). Однако несомненно, что в период функционирования мусор здесь не скапливался, поэтому все добытые в ходе раскопок находки, в том числе и более ста монет, появились в помещении в результате засыпки или попадания натечного слоя после прекращения функционирования церкви. Следовательно, на основании данных находок можно лишь делать вывод о времени засыпи храма.
Нет убедительных доказательств, что подземная часть функционировала автономно. Как известно, над ней была сооружена наземная церковь (Якобсон 1959, с. 192; Беляев 1989, с. 34—35), а анализ соотношения материалов из наземной и подземной частей, по нашим сведениям, не проводился.
Таким образом, вопрос о датировке подземного храма остается открытым.
Скорее всего, как считал А. Якобсон, пещерная часть храма была переоборудована из цистерны, причем одновременно на поверхности была построена наземная церковь. Скорее всего, подземная часть являлась криптой-часовней, а собственно церковь находилась на поверхности. Вместе — наземная и подземная части — как и предполагал А. Якобсон (1950, с. 74; 1964, с. 19), представляли собой семейную усыпальницу знатного херсонца.
Данный вывод носит предварительный характер. Несомненно, что для понимания истории «подземного храма» необходимы дальнейшие исследования, и, что особенно важно, надо попытаться проанализировать весь комплекс археологического материала, обнаруженного на данном участке.
Георгиевский монастырь
Некоторые исследователи к пещерным относят и храм Георгиевского монастыря. Действительно, алтарная часть современной церкви там вырублена в скале. Она была случайно открыта в 1809 г. при строительстве храма воссозданного монастыря (Шавшин 1994, с. 35). Ее план и краткое описание были приведены Д. Струковым и А. Бертье-Делагардом (1910) (рис. 356).
В настоящее время в связи с плохой сохранностью сложно говорить о датировке и устройстве первоначальной церкви. Вероятнее всего, к моменту присоединения Крыма к России она была уже заброшена, так как уже в начале XIX в. о ней ничего не было известно и обнаружена она случайно. Что касается датировки Георгиевского монастыря, то, вероятно, прав А. Бертье-Делагард, датировавший его не ранее XV в. Гипотеза же В. Филиппенко о его связи с инкерманским монастырем (1993, с. 122), на наш взгляд, нуждается в дополнительных доказательствах.
Один пещерный храм, по сообщению Т. Яшаевой, был расположен в Сарандинакиной балке на территории Севастополя. В настоящее время авторами раскопок готовится его публикация. Также, по сообщению Т. Яшаевой, несколько церквей имеются на Геракленском полуострове. В частности, на м. Виноградный был раскопан скит XIII—XIV вв., к которому, очевидно, принадлежал небольшой пещерный комплекс (Яшаева 1994а: 19946; 1995).
Бахчисарай
В г. Бахчисарае, на армянском кладбище, известна разрушенная полупещерная церковь, возникшая не ранее XVI—XVII вв.
Не исключено, что пещерные храмы могут быть выявлены и в других местах. Однако для этого необходимы дополнительные исследования.
Заключение
На поселениях они располагаются следующим образом:
| Поселение | Выявлено церквей | в т. ч.частично вырублены в скале | в т. ч. предполагаемых |
| 1. Инкерман | 29 | 2 | 4 |
| 2. Челтер-Мармара | 5 | — | 1 |
| 3. Шулдан | 2 | — | — |
| 4. Эски-Кермен | 6 | — | — |
| 5. Мангуп | 8 | — | 1 |
| 6. Челтер-Коба | 1 | — | — |
| 7. Качи-Кальен | 6 | 5 | 2 |
| 8. Тепе-Кермен | 3 | — | 1 |
| 9. Чуфут-Кале | 1 | — | 1 |
| 10. Успенский монастырь | 1 | — | — |
| 11. Бакла | 1 | — | — |
| Всего: | 63 | 7 | 10 |
Таким образом, на территории горной Юго-Западной Таврики насчитывается 63 пещерные церкви, в том числе существование 10 можно предполагать; 7 исследованных в настоящей работы церквей частично вырублены в скале.
Вероятно, этими сведениями не исчерпывается количество церквей, функционировавших в Таврике в период средневековья. Скорее всего, несколько памятников было разрушено при строительстве дороги в Инкермане, предположительно одна или две церкви располагались в районе главных ворот Мангупа, возможно, не выявленные памятники имеются на Бакле и Тепе-Кермене. Следовательно, к данному списку условно можно добавить около 10 пока неизвестных храмов. Поэтому можно предполагать функционирование в средневековой Таврике порядка 70 пещерных церквей. В Юго-Западном Крыму они встречаются двух видов: 1) входящие в комплексы пещерных монастырей; 2) приходские.
Последние известны на Эски-Кермене — два храма в районе подъемной дороги, «Судилище», «Трех всадников», «Успения»; Тепе-Кермене — «церковь с ризницей», «церковь с баптистерием», «предполагаемая церковь»; Мангупе — церковь на поляне Кильсе-тубю и, возможно, «гарнизонная» церковь, хотя, вероятнее всего, последняя связана с монастырем в оконечности Тешкли-буруна; Бакле — часовня. Быть может, немонастырской была церковь в крепостном рву Каламиты. Однако этот вопрос еще нуждается в уточнении. Таким образом, к приходским можно отнести всего 10 церквей и еще две предположительно.
Вероятно, самыми ранними памятниками этой группы являются церкви в районе подъемной дороги Эски-Кермена, датируемые серединой X — началом XI в. К XI—XII вв., возможно, относятся «Судилище» и «церковь с баптистерием», к XII—XIII вв. — «церковь с ризницей» и «предполагаемая церковь» на Тепе-Кермене и часовня Баклы. XIII—XIV вв. датируются храмы «Трех всадников» и «Успения», XIV—XV вв. — две мангупские и церковь в Каламите.
К числу пещерных монастырей и скитов можно отнести: 9 комплексов в Инкерманской долине, Челтер-Мармару, Шулдан, Челтер-Кобу, Успенский, Качи-Кальен. Ряд монастырей находится на городищах или в непосредственной близости от них. На Мангупе выделяются 4 комплекса — северный монастырь, южный, юго-восточный и на оконечности мыса Тешкли-бурун. На Чуфут-Кале монастырь находился в районе южных ворот. Вероятно, небольшим скитом является храм «Донаторов». Таким образом, по нашим подсчетам, в Таврике было около 20 пещерных монастырей. Их можно разделить условно на 4 группы.
В первую входят комплексы, в монастырском характере которых никто не сомневается, не затронутые «ремонтами» и перестройками XIX в. Это Челтер-Коба, Челтер-Мармара и Шулдан. Они имеют все признаки классического монастыря один (Челтер-Коба) или несколько (Челтер-Мармара — 4, Шулдан — 2) храмов, монашеские кельи, трапезные, подсобные помещения, погребальные сооружения. Челтер-Коба датируется концом XIV—XV вв., Челтер-Мармара — XII—XIII вв., Шулдан — XIII—XIV вв.
Во вторую группу можно выделить комплексы Инкермана. Наиболее ранние церкви на Загайтанской скале могли появиться уже в X—XI вв., однако большинство церквей и монастырей там относятся к XIV—XV вв.
В третью группу пещерных монастырей следует отнести Успенский и Качи-Кальен. Их объединяет то, что в середине XIX в. на месте древних были воссозданы новые монастыри, просуществовавшие до начала 20-х гг. нашего века и во многом изменившие облик первоначальных памятников. Появление Успенского монастыря, скорее всего, относится к XV в., вероятно, в XIII—XIV вв. возник и монастырь на Качи-Кальене.
Последнюю группу составляют монастыри, расположенные на городищах и в непосредственной близости от них — 4 мангупских комплекса, в районе южных ворот Чуфут-Кале и храм «Донаторов» рядом с Эски-Керменом. Мангупские монастыри, несомненно, возникли в период Феодоро (XIV—XV вв.). Не ранее чем XIII в. может датироваться монастырь на Чуфут-Кале, к XIV в. относится и небольшой скит с храмом «Донаторов».
Таким образом, хронологически пещерные церкви Таврики можно разделить на два периода: 1. Конец X XI—XIII вв. 2. XIV—XV вв. (феодоритский).
К первому периоду относятся: на Эски-Кермене — 4 церкви, на Тепе-Кермене — 3 церкви, Бакле — 1, Инкермане — не более 3—5 церквей, возможно, 1 церковь на Качи-Кальене, 1 — на Чуфут-Кале, 1—2 — на Челтер-Мармаре и, возможно, несохранившаяся церковь на Шулдане. То есть максимально в этом хронологическом отрезке времени функционировало не более 20 церквей, или приблизительно 30% от общего числа, а около 70% храмов возникают уже в период Феодоро.
Появление приходских церквей несомненно связано с процессом зарождения городской жизни на данных поселениях. Этот вывод серьезных возражений в литературе не встречал. Сложнее решается вопрос о причинах возникновения пещерных монастырей.
С конца XIX — начала XX в. в российской, а затем и советской историографии сложилась гипотеза, которая относила появление в Крыму пещерных монастырей к VIII—IX вв. и связывала их с притоком гонимых монахов во время иконоборческих смут в Византии (Васильевский 1878; 1912, Кулаковский 1914, с. 75; Васильев 1927, с. 200—201; Якобсон 1964, с. 32—33 и др.).
Мы неоднократно высказывались по этой проблеме (Могаричев 1992; 1993, с. 84—95; Герцен, Могаричев 1991б; 1992; 1995) и пришли к следующим выводам.
Эпиграфический материал, фрески из пещерных монастырей относятся ко времени не ранее XIII в. Проведенные археологические работы также не дали комплексов VIII—IX вв., связанных с пещерными сооружениями Архитектурный анализ пещерных церквей Крыма не позволяет выделить памятники VIII—IX вв.
В качестве аналогий крымским памятникам VIII—IX вв. обычно приводятся пещерные церкви и монастыри Малой Азии и Южной Италии. Однако подавляющее большинство их датируется постиконоборческим временем (Rodley 1985, с. 223—224; Thierry M., Thierry N. 1963; Epstein 1977; 1986; Teteriatnikov 1992; Jolivet-Levy 1991). Следовательно, нет определенных данных, позволяющих относить крымские пещерные монастыри к VIII—IX вв.
Анализ письменных источников (Житие Стефана Нового, Житие Иоанна Готского, Письма Феодора Студита и др.) позволяет сделать вывод об отсутствии надежных сведений о пребывании в Крыму значительного количества иконопочитателей, бежавших из Византии. Наоборот, источники указывают на то, что Таврика, в частности Херсонская и Готская епархии, прочно стояли на проправительственных позициях, а монастырская жизнь в начале IX в. только зарождалась.
Рассмотрим другой аспект проблемы — гипотезу, которая поддерживалась многими исследователями, о создании монастырей гонимыми и скрывающимися людьми. Такой подход был характерен не только для Крыма, но и других областей Византии. Так, каппадокийские скальные памятники относили к эпохам арабских или сельджукских набегов, иконоборческих гонений. Л. Родли, детально проанализировав пещерные церкви и монастыри Каппадокии, сделала вывод о том, что нет каких-либо оснований относить их к неспокойным временам (1985, с. 7). Наоборот, подавляющее большинство скальных христианских памятников относится к концу IX—XI вв., а собственно монастыри появились в XI в. (с. 223—234), то есть в мирный период истории региона.
Аналогичная ситуация наблюдалась и в Крыму. Мы уже отмечали, что топографическая ситуация пещерных монастырей указывает на их возникновение в стабильный период (1992, с. 88), когда условия позволяли не прятаться в глухие места или за стены крепостей, а безбоязненно строить монастыри, вести хозяйство, принимать паломников, служить последним приютом.
Скальные монастыри создавались не из-за нехватки средств и не для укрытия от врагов, а целенаправленно.
Нами не раз отмечалось, что реальных археологических данных для датировки пещерных монастырей Крыма, равно как и других регионов, нет и, вероятно, не будет. Это связано с тем, что практически невозможно отождествить какой-либо стратиграфический горизонт, пусть и находящийся в непосредственной близости от монастыря, с конкретным пещерным сооружением.
Архитектурные остатки — типы храмов, отсутствие общих дорматорий, характерных для ранних монастырей (Каждан 1971, с. 55), относительно строгая планировка — говорят о поздней дате монастырей (не ранее XI—XIII вв).
Для подтверждения наших выводов необходимо рассмотреть проблему пещерных монастырей в контексте истории Византии. Для лучшего понимания генезиса и развития крымских пещерных монастырей обратимся к подобным памятникам Каппадокии. Первыми среди христианских культовых памятников там появились отшельнические кельи и небольшие скиты. Это произошло в конце IX—X вв. (Rodley 1985, с. 228). В указанный период Каппадокия вернулась под власть Византии, и ситуация там стабилизировалась. Это привело к появлению отшельников, основавших скиты, а затем и покровителей, которые посещали святых и основывали пещерные церкви, совершая, таким образом, акты благочестия (Ibid, с. 254) По мнению Л. Родли, отшельники, создававшие пещерные кельи и скиты Вулканической долины, были религиозными пионерами, выходцами из наземных монастырей других мест (с. 252). В принципе принимая это, можно добавить еще одно объяснение появлению именно пещерных церквей. Кроме удобной скальной породы и притока отшельников, необходимо обратить внимание на религиозную историю того времени. В 842 г. было окончательно отменено иконоборчество и, как реакция на это, начался такой резкий подъем монашества, что «Византия… надолго упрочила за собой наименование монашеского царства» (Соколов 1894, с. 39).
Именно этот всплеск отшельничества, вместе с указанными Л. Родли факторами, привлек в Вулканические долины монахов, которые, подобно древним отшельникам Египта и Палестины, создавали свои кельи в скалах, тем самым подчеркивая свою преемственность от последних.
Отметим, что аналогичная ситуация наблюдалась и в Южной Италии, где появление большинства скальных скитов относят также к постиконоборческому времени (Там же, с. 57).
Однако всего этого было недостаточно для появления в Каппадокии собственно пещерных монастырей. Они возникают здесь только в XI в. Выделяются два типа — «с трапезными (основывались на месте почитаемых мест и выполняли функции хранения реликтов и приема посетителей) и с «внутренними дворами», создаваемыми состоятельными покровителями для увековечивания своей памяти (Rodley 1985, с. 250).
В XI в. наступает новый этап развития византийской культуры, «начинается известная стабилизация общественного сознания, завершается систематизация христианского богословия» (Удальцова 1988, с. 125), в это же время зарождаются, хотя пока и не получают широкого развития, идеи исихазма (Культура Византии 1988, с. 619), оказавшие впоследствии огромное влияние на развитие монашества, особенно отшельничества. Нельзя не учитывать и экономический подъем, в результате чего появились люди, имеющие возможность выделять средства не только на строительство пещерных монастырей, но и на их украшение, а также на содержание монастырей.
Видимо, все перечисленные факты (вместе с указанными Л. Родли), а также продолжающаяся средневизантийскими монахами традиция выводить свои истоки от первых отшельников и привели к появлению в XI в. в Каппадокии больших монашеских поселений — пещерных монастырей как следующей стадии развития пещерных скитов.
Вряд ли история «пещерного» монашества в Таврике развивалась иначе, нежели в Каппадокии.
Нами отмечалось, что до второй половины IX в. в Крыму не было предпосылок для создания пещерных монастырей. Они появляются позже. Назовем их:
1) Стабильная политическая ситуация, в результате которой могли появиться постоянно живущие на одном месте монахи.
После относительно мирного периода истории Таврики VIII—IX вв., приведшего к появлению множества сельских поселений (Якобсон 1970), к X в. положение меняется. Ослабление и последующая гибель Хазарского каганата, появление в Причерноморье новых волн завоевателей (Васильев 1927, с. 220—254) не могли не сказаться на жизни края. В X в. гибнет большинство сельских поселений (Якобсон 1970, с. 135). Состояние упадка и нестабильности продолжалось до XII в., когда власть Византии вновь распространилась на регион и, наряду с установлением мирных отношений с половцами, способствовала экономическому подъему в XII—XIII вв., зарождению городской жизни, что особенно ярко проявилось на Эски-Кермене, Тепе-Кермене и Бакле (Могаричев 1992, с. 100—106).
В конце XIII — начале XIV в. в результате междоусобиц в Золотой Орде снова отмечается относительно неспокойный период, но возникновение Феодоро и союзного ему Крымского ханства позволило вновь стабилизировать ситуацию, вызвавшую новый подъем, прервавшийся турецкой агрессией в 1475 г.
2) Улучшение экономического состояния, в результате которого появилась большая прослойка в обществе, имевшая возможность финансировать создание монастырей. После упадка экономики X—XI вв. (Могаричев 1992, с. 104) новый расцвет приходится на XII—XIII вв. и продолжается в XIV—XV вв. Уже в XIII—XIV вв. мы имеем надежные свидетельства создания пещерных церквей за счет средств отдельных людей. Это в первую очередь храмы «Донаторов» и «Трех всадников».
3) Изменение религиозной ситуации. Несмотря на проникновение христианства в Таврику еще в первые века н. э., процесс христианизации здесь (особенно в горной части, подвергавшейся частому нашествию все новых завоевателей, отнюдь не христиан) завершился только к X в. (Паршина 1988, с. 53). С этого времени мы имеем бесспорные свидетельства о полном господстве здесь христианства. Образование православного Феодоро только усилило эти процессы, а на территориях, отошедших к Крымскому ханству, до 1475 г. отношение к христианам было благосклонное (Лызлов 1990, с. 117).
Рассмотрев политическую, экономическую и религиозную обстановку в Тавриде, можно сделать вывод, что реальные предпосылки для возникновения пещерных монастырей здесь возникают только к XII—XIV вв. Данный вывод касается только собственно пещерных монастырей.
Отдельные отшельнические кельи и, возможно, скиты, могли появиться и несколько ранее — в X—XI вв. Религиозная и политическая ситуация, в принципе, не противоречила этому. На наш взгляд, наиболее вероятное место расположения первых монастырских пещерных сооружений — район Инкермана. Во-первых, он был наиболее (по сравнению с другими пещерными городами) удален от степей и, следовательно, был менее подвержен набегам кочевников Во-вторых, он находился в непосредственной близости к единственному в те времена в Таврике византийскому городу — Херсону, через который в основном осуществлялись связи с внутренними областями империи. Отсюда господство здесь христианства и соответственно присутствие потенциальных монахов и ктиторов.
Вряд ли вызывает сомнение, что Инкерманская долина при всех изменениях политической ситуации и границ в Таврике всегда входила в зону влияния Херсона и, следовательно, Византии. Поэтому и процессы, характерные для империи, сюда переходили раньше, чем в дальнюю округу. Это относится и к распространению христианства.
Косвенным подтверждением наших выводов является скопление монастырей в Инкермане. Известно, что монастыри нередко группировались вокруг святых мест, в том числе и келий знаменитых отшельников (монашеские центры).
Возможно, что, кроме Инкермана, первые отшельники вырубали свои жилища и церкви в других местах, но этот вопрос еще нуждается в уточнении.
Теперь обратимся к собственно пещерным монастырям. Они возникают, вероятно, не ранее XII—XIII вв. Это подтверждается архитектурными особенностями помещений, анализом политической, религиозной и экономической ситуации в Юго-Западной Таврике того времени, а также факторами, о которых мы уже писали (1992, с. 94—95). Это уровень развития феодальных отношений, при котором монастыри могли уже выступать в качестве феодальных собственников, и полная христианизация местного населения, дававшего пополнение отнюдь не мелким, по византийским масштабам, монастырям (Каждан 1971, с. 51) и не противившегося их деятельности.
Причиной возникновения пещерных монастырей в это время может быть и определенный приток монахов из Малой Азии в конце XI в. Известно, что в результате сельджукской экспансии к концу XI в. жизнь в пещерных монастырях Каппадокии затухает (Rodley 1985, с. 254). Возможно, что часть монахов из Каппадокии могла перебраться в Крым и принять участие в создании пещерных монастырей. Однако этот вопрос еще недостаточно изучен.
До XIII—XIV вв. пещерные монастыри в Крыму не получили широкого распространения. В подтверждение можно привести следующие доводы: анализ архитектурных особенностей памятников, расположение подавляющего их большинства на территории, в XIV—XV вв принадлежавшей Феодоро (в других районах горной Таврики их известно только три — Успенский (вероятно, не ранее X—XV вв), Чуфут-кальский (не ранее XIII в.) и Качи-Кальенский). Как отмечалось, пещерные монастыри отсутствуют на Бакле, Эски-Кермене и Тепе-Кермене, планировка которых сформировалась не позднее XII в. Это тем более показательно, что на них присутствуют пещерные церкви.
С другой стороны, на Мангупе, жизнь на котором возобновляется с XIV в. (Герцен 1989; 1990, с. 138—139), мы имеем уже четыре пещерных монастыря; вблизи от Мангупа находятся Челтер-Мармара и Шулдан. Рядом с возобновленной в период Феодоро Каламитой расположены инкерманские монастыри. А напротив несомненно существовавшей в XIV—XV вв. Сюреньской крепости — Челтер-Коба. На Чуфут-Кале монастырь также не мог появиться ранее XIII — начала XIV в. Таким образом, пещерные монастыри в основном расположены в границах бывшего Феодоро и группируются на памятниках (или вокруг), жизнь на которых возникает или возобновляется в XIV—XV вв., реже в XIII—XIV вв. (исключение составляют Качи-Кальен, в известной степени Челтер-Коба); Сюреньская крепость, вероятно, существовала и в XII в. (Талис 1974, с. 110). Но об особенностях Челтер-Кобы мы упоминали выше. Следовательно, можно сделать вывод, что период создания большей части пещерных монастырей приходится на XIV—XV вв., что подтверждают и архитектурные особенности церквей.
В то время в Таврике наблюдались стабильная политическая ситуация, экономический подъем, господство православия. Как следствие этого появилось и немало людей, способных выступать ктиторами. Примером тому могут быть усыпальницы Мангупа.
Все эти факторы усиливались широким распространением именно в данный период исихазма (Мейендорф 1974, с. 294—295, Прохоров 1968, с. 103—106), вероятно, под влиянием которого создавались именно пещерные монастыри.
В заключение рассмотрим еще один аспект — ареал распространения пещерных церквей. Они отсутствуют в восточном Крыму, хотя скальная порода позволяла их создавать.
На наш взгляд, пещерные церкви очерчивают границу распространения византийского влияния в Юго-Западном Крыму в XI—XV вв.
Если в восточной и юго-восточной частях полуострова, легко доступных со стороны степей, влияние Византии в основном ограничивалось стенами Судака и Боспора, то горная юго-западная Таврика в той или иной степени контролировалась имперской властью, хотя степень византийского влияния в различные периоды менялась. Однако в той части горной Таврики, где империи удалось надежно закрепиться на некоторое время, будь это зарождающийся город или монастырь, появлялись пещерные церкви.
Список литературы
Айбабин А.И. Основные этапы истории городища Эски-Кермен // МАИЭТ. Симферополь: Таврия, 1991. Вып. 2
Айбабин А.И. Могильники VIII начала X в. в Крыму // МАИЭТ. Симферополь: Таврия, 1993. Вып. 3.
Андриевский И.С. Развалины Мангупа // Одесский Альманах на 1840 г. Одесса, 1839
Аркас З. Описание Ираклийского полуострова и древностей его. Николаев 1879.
Атанасов Г. Средновековни скални цьркви в Силистренски окрьг // ИНМВ. 1984. № 20(35).
Атанасов Г. Няколко скални манастири в Южна Добруджа // ИНМВ. 1989№ 25(40).
Атанасов Г. Скални монашески обители в Добруджа (IV—XIV вв). / Автореф. на кандидитска дисертация. София, 1990.
Атанасов Г. Ранновизантийски скални цьркви и манастири в Южна Добруджа // Археология. 1991. № 33.
Атанасов Г. Чешмеджиев Д. Средновековният скален манастир до Варна // ИНМВ. 1990. № 26(41).
Бабенчиков В.П. Пещерный комплекс Шулдана // МЭКЭ. ИГАИМК. 1935. Вып 117.
Бабенчиков В П. Дневник сотрудника Крымской экспедиции ИИМК АН СССР (1952). // Архив ИИМК. Ф. 10. Д. 11.
Бабенчиков В.П. Итоги исследования средневекового поселения на холме Тепсень // НАСК. М.: Изд-во АН СССР, 1958
Бабенчиков В.П. Выписка из дневника 1940 г. Архив БГИКЗ. Д. 15/27.
Банер Г.-В. Митрополии Херсона, Сугдеи, Готии и Зихии по данным просопографнческого лексикона времени Палеологов // Византия и средневековый Крым АДСВ. Симферополь, 1995, № 27.
Бармина Н.И. Историческое место мангупской базилики в христианской архитектуре Таврики: Автореф. дис. … канд. ист. наук. М., 1983.
Бармина Н.И. Мангупская базилика в свете некоторых проблем Крымского средневековья // Византия и средневековый Крым. АДСВ. Симферополь, 1995. № 27.
Беляев С.А. Пещерный храм на главной улице Херсонеса // Византия и Русь. М.: Наука, 1989.
Беляев С.А., Бушенков В.А. Исследования пещерного комплекса Челтера в 1973—1981 гг. // ВВ. 1986. № 46.
Бертье-Делагард А.Л. Остатки древних сооружений в окрестностях Севастополя и пещерные города Крыма // ЗООИД. Одесса, 1886. Т. 14.
Бертье-Делагард А Л. К истории христианства в Крыму // ЗООИД. — Одесса, 1910. Т. 28.
Бертье-Делагард А.Л. Каламита и Феодоро // ИТУАК. 1918. № 55.
Боровко Н.А. Тепе-Кермен // ЗКОЕЛП.Симферополь, 1913. Т. 3.
Брунов Н. И Византийская архитектура // Очерки по истории архитектуры. М: Л., 1935. Т. 2.
Васильев А.А. Готы в Крыму // ИГАИМК. М.: Л. 1927. Вып. 5.
Васильевский В.Г. Житие Иоанна Готского // ЖМНП. Спб, 1878. Ч. СХСУ. Январь.
Васильевский В.Г. Житие Стефана Нового // Труды Спб, 1912 Т. II. Вып. 2
Веймарн Е.В. Разведки оборонительных стен и некрополя // МИА. М., 1953. № 34.
Веймарн Е.В. Оборонительные сооружения Эски-Кермена (Опыт реконструкции) // ИАСК М. 19—58а.
Веймарн Е.В. О времени возникновения средневековой крепости Каламита // ИАСК. М, 1958б.
Веймарн Е.В. «Пещерные города» Крыма в свете археологических исследований 1954—1955 гг // С А. 1958в, № 1.
Веймарн Є В. Археологічні робота в районі Інкермана // Археологічні пам’ятки УРСР. Київ, 1963. Т. XIII.
Веймарн Е.В. Жилые усадьбы Эски-Керменского городища // Византия и ее провинции. Свердловск, 1982.
Веймарн Е.В., Даниленко В.Н., Герцен А.Г. Работы мангупского отряда // АО 1973 г. М., 1974.
Веймарн Е.В., Лобода И.И., Пиоро И.С., Чореф М.Я. Археологические исследования столицы княжества Феодоро // Феодальная Таврика. Киев: 1974.
Веймарн Е.В., Лобода И.И., Пиоро И.С., Чореф М.Я. Археологические исследования столицы княжества Феодоро // Феодальная Таврика. Киев: 1974.
Веймарн Е.В., Репников Н.И. Сюреньское укрепление // МЭКЭ. ИГАИМК. М: Л., 1935. Вып. 117.
Веймарн Е.В, Чоре ф М Я «Корабль» на Каче. — Симферополь: Таврия, 1976.
Веймарн Е.В., Чореф М.Я. Пещерный ансамбль Чильтер в Крыму // Пещеры Грузии. Тбилиси, 1978. № 7
Византийский Херсон. // М., 1991.
Волошинов И.М., Клепинин Н.И. Пещерное поселение Бакла в Крыму // ЗКОЕЛП Симферополь. 1912. Т. 2.
Воронин Ю.С., Даниленко В.Н., Кутайсов В.А., Михайловский. Е.В., Мыц В.Л., Петрова Э.Б. Работы в Бахчисарайском районе // АО 1978 г. М., 1979.
Воронин Ю.С., Даниленко В.Н. Обстоятельства и время возникновения пещерных монастырей Крыма // Проблемы истории «пещерных городов» в Крыму. Симферополь, 1992.
Таблиц К.И. Физическое описание Таврической области по ее местоположению и всем трем царствам природы. Спб., 1785.
Гермоген. Таврическая епархия. Псков, 1887.
Герцен А.Г. Пещерный комплекс цитадели Мангупа // ПМОРПК: Тез. докл. международного симпозиума. Ереван, 1982.
Герцен А.Г. История изучения оборонительного комплекса Мангупа // Развитие феодализма в Центральной и Юго-Восточной Европе. Свердловск: Уральский государственный университет, 1983.
Герцен А.Г. Оборонительная система столицы княжества Феодоро // Северное Причерноморье и Поволжье во взаимоотношениях Востока и Запада в XII—XVI веках. Ростов-на-Дону, 1989.
Герцен А.Г. Крепостной ансамбль Мангупа // Материалы по археологии, истории и этнографии Таврики. Симферополь: Таврия, 1990. Вып. 1.
Герцен А.Г. К проблеме типологии средневековых городищ Юго-Западной Таврики // Византия и средневековый Крым. Симферополь, 1995.
Герцен А.Г., Махнева О.А. Пещерные города Крыма. Симферополь, 1989.
Герцен А.Г., Могаричев Ю.М. Методика выделения раннесредневековых пещерных сооружений горного Крыма: на примере Мангупа // СА. 1991а. № 1.
Герцен А.Г., Могаричев Ю.М.О возникновении Готской епархии в Крыму // МАИЭТ. Симферополь, 1991б. Вып. 2.
Герцен А.Г., Могаричев Ю.М. К вопросу о времени возникновения пещерных монастырей Крыма // Проблемы археологии Северного Причерноморья. Херсон, 1991 в.
Герцен А.Г., Могаричев Ю.М. Еще раз о дате появления крепости на плато Чуфут-Кале // Проблемы истории «пещерных городов» в Крыму. Симферополь, 1992.
Герцен А.Г., Могаричев Ю.М. Крепость драгоценностей. Кырк-Ор. Чуфут-Кале. Симферополь, 1993.
Герцен А.Г., Могаричев Ю.М. О времени и причинах возникновения пещерных монастырей Таврики // Крымский музей. Симферополь, 1995а. № 1.
Герцен А.Г., Могаричев Ю.М. Салачик—Успенский монастырь—Чуфут-Кале // Бахчисарайский историко-культурный заповедник. Симферополь, 1995б.
Герцен А.Г., Могаричев Ю.М. Пещерные церкви Мангупа. Симферополь, 1996.
Гидалевич А.Я. Пещерный город Тепе-Кермен и его древнее еврейское кладбище // Еврейская старина. Спб., 1914. Т. VIII. Вып. 2.
Городище Мангуп. Архив БГИКЗ. Д. 15/9.
Горчакова Е. Воспоминания о Крыме. М., 1881.
Грабарь И. О древнерусском искусстве. М., 1966.
Григорович В.И. Записка антиквара о поездке его на Калку и Кальмиус. Одесса. 1874.
Гроздов А. Сведения о Бахчисарайской Успенской церкви, устроенной в каменной скале // ИТУАК. 1890. № 9.
Даниленко В.Н. Монастырь Чильтер-коба: архитектурный аспект // История и археология Юго-Западного Крыма. Симферополь, 1993.
Даниленко В.И. Монастырское хозяйство в Крыму // Проблемы истории и археологии Крыма. Симферополь, 1994.
Дело Императорской археологической комиссии о предоставлении художником Струковым альбома рисунков крымских древностей с просьбою об ассигновании 6 тыс. руб. на издание их // Архив ИИМК РАН. Ф. 7. Д. 21.
Дело Императорской археологической комиссии о принятии мер к прекращению уничтожения древних пещерных жилищ в Инкермане // Архив ИИМК РАН. Ф. 1. Д. 24.
Дело Императорской археологической комиссии о раскопках приват-доцента Ф.А. Брауна на юге России // Архив ИИМК РАН. Ф. 1. Д. 40.
Дело Императорской археологической комиссии о раскопках художника Д.М. Струкова в губерниях: Московской, Владимирской, Смоленской, Ярославской, Тульской, Калужской и Кубанской // Архив ИИМК РАН. Ф. 1.Д. 87.
Дело Императорской археологической комиссии о раскопках профессора Ю.А. Кулаковского // Архив ИИМК РАН. Ф. 1. Д. 90.
Дело Императорской археологической комиссии о древнем христианском храме открытом на горе Мангуп-Кале близ города Бахчисарая Таврической губернии // Архив ИИМК РАН. Ф. 1. Д. 104.
Домбровский О.И. Фрески средневекового Крыма. Киев, 1966.
Домбровский О.И. Средневековый Херсонес // Археология Украинской ССР. Киев, 1986, Т. 3.
Домбровский О.И. Архитектурно-археологическое исследование Загородного крестообразного храма Херсонеса // МАИЭТ. Симферополь, 1993. Вып. 111.
Домбровский И.И., Паршина Е.А. О раннесредневековой застройке античного театра. Сообщение Херсонесcкого музея. 1960. Вып. 1.
Зубарь В.М. Проникновение и утверждение христианства в Херсонесе Таврическом // Византийская Таврика. Киев, 1991.
Иванов Е.Э. Херсонес Таврический. Симферополь, 1912.
Каждан А.П. Византийский монастырь X—XII вв. как социальная группа // ВВ. 1971. № 31.
Караулов Г.А. Крымские пещерные города и крипты // ЗООИД. 1872. T. VIII.
Кацур Н.П. Археологічна крата Інкерманьскої долини // Археологічні пам’ятки УРСР. Київ, 1963. Т. XIII.
Кеппен П.И.О древностях Южного берега и гор Таврических. Спб., 1837.
Козен Ф.А. О троглодитах. Письма о древности Джингис-Кермена // ЖМПС. 1828. № 12.
Кондараки В.Х. Мангуп-Кале // ЗООИД. 1872. Т. VIII.
Кондараки В.Х. Универсальное описание Крыма. Спб., 1875. Т. IV.
Коротнев А.А. Экскурсия в Крым весною 1839 г. (пещеры Качи-Кальена и Черкес-Кермена) // Университетские известия. Киев, 1895. № 5. Май.
Косцюшко-Валюжинич Д.Н. Из глубины веков — Черкес-Кермен // Природа н люди. 1915. № 19.
Кравен. Путешествие в Крым и Константинополь в 1786 г. М., 1795.
Кропоткин В.В. Из истории средневекового Крыма // СА. 1958. № 28.
Крым. Путеводитель. Симферополь, 1914.
Крым христианский. Севастополь, 1996.
Кулаковский Ю.А. Прошлое Тавриды. Киев, 1914.
Культура Византии. М., 1988. Т. 2.
Кутайсов В.А. Четырехапсидный храм Херсонеса // СА. 1982. № 1.
Латышев В.В. Сборник греческих надписей христианских времен из Южной России. Спб., 1896.
Латышев В.В. Заметки к христианским надписям из Крыма // ЗООИД. 1897. Т. XX.
Латышев В.В. Заметки к христианским надписям из Крыма // ЗООИД. 1898. Т. 21.
Латышев В.В. Жития св. Епископов Херсонских // ЗИАН. Спб., 1900. Т. 8.
Латышев В.В. Эпиграфические новости из Южной России // ИАК. 1918. Вып. 65.
Лепер Р.Х. Археологические исследования в Мангупе в 1912 г. // ИАК. Спб., 1913. № 47.
Лепер Р.Х. Сведения о раскопках на Мангупе в 1913 г. // ИТУАК. 1914. № 51.
Лосицкий Ю.Г. Опыт реконструкции крестообразных храмов Херсонеса // Архитектурно-археологические исследования в Крыму. Киев, 1988.
Лызлов А. Скифская история. М., 1990.
Малицкий Н.В. Заметки по эпиграфике Мангупа // ИГАИМК. Л., 1932. Вып. 71.
Мальгин А.В., Мальгина М.Р. К вопросу об интерпретации фрески «Храма трех всадников» в Эски-Кермене // Известия КРКМ. Симферополь, 1993. № 2.
Маргос А. Средновековни скални манастиры по провадийското дефиле // ИНМВ. 1981. № 17(32).
Маргос А. Средновековни скални обители по р. Бели Лом // ИНМВ. 1987. № 23(38).
Маркевич А.И. Экскурсия на гору Бакла и деревню Мангуп // ИТУАК. 1889. № 8.
Марков Е.Л. Пещерные города Крыма // Вестник Европы. Спб., 1872. Кн. 6—7.
Марков Е.Л. Крым и его особенности // Живописная Россия. Спб., 1898. Т. 5. Ч. 2.
Марков Е.Л. Очерки Крыма. Спб.; М., 1902.
Мейендорф И.Ф. О византийском исихазме и его роли в культурном и историческом развитии Восточной Европы в XII в. // Вопросы истории русской средневековой литературы. Труды отдела древнерусской литературы. Л., 1974. Т. XXIX.
Могаричев Ю.М. Ранние пещерные сооружения Чуфут-Кале // МАИЭТ. Симферополь, 1991. Вып. 2.
Могаричев Ю.М. Пещерные сооружения средневековых городищ Юго-Западного Крыма // Проблемы истории «пещерных городов» в Крыму. Симферополь, 1992.
Могаричев Ю.М. К дискуссии о скальной архитектуре Крыма // История и археология Юго-Западного Крыма. Симферополь, 1993.
Могаричев Ю.М. Пещерные церкви в районе подъемной дороги Эски-Кермена // Проблемы истории и археологии Крыма. Симферополь, 1994.
Могаричев Ю.М. Пещерные церкви Качи-Кальена // Византия ц средневековый Крым. АДСВ. Симферополь, 1995. № 27.
Могаричев Ю.М., Пономорев Д.Ю. Новые пещерные церкви в Инкермане // Проблемы археологии древнего и средневекового Крыма. Симферополь, 1995.
Муравьев-Апостол И.М. Путешествие по Тавриде. Спб., 1823.
Мыц В.Л. Средневековые укрепления горного Крыма X—XV вв. Автореф. дис. канд. ист. наук. Киев, 1987.
Никольский Н.П. Мангуп-Кале // Записки крымского горного клуба. Одесса, 1893. Вып. 3.
Никольский Н.В. Бахчисарай и его окрестности. Симферополь, 1927.
Оболенский М. Сказание священника Иакова // ЗООИД. 1850. Т. 2. Отд. II—III.
Овчинникова Е.Г. Вновь открытый памятник станковой живописи из собрания Государственного исторического музея // ВВ. 1976. № 37.
Омелькова Л.А. Изучение сельских поселений в Бельбекской долине // АО 1979 г. М., 1980.
Омелькова Л.А. Исследование сельских поселений в долине р. Бельбек // АО 1980 г. М., 1981.
Омелькова Л.А. Исследование раннесредневековых комплексов в Бельбекской долине // АО 1984 г. М., 1986.
Отчет Инкерманской археологической экспедиции 1937 г. Архив ИИМК РАН. Ф. 2. Д. 227.
Отчет о работе Мангупского отряда Крымской экспедиции Института археологии АН УССР и Бахчисарайского историко-архитектурного музея в 1973 г. Архив БГИКЗ. Д. 26/1.
Паллас П. Путешествие по Крыму в 1793—1794 годах // ЗООИД. 1881. Т. 12.
Паллас П. Путешествие по Крыму в 1793—1794 годах // ЗООИД. 1883. Т. 13.
Паршина Е.А. Средневековая керамика Южной Таврики // Феодальная Таврика. Киев, 1974.
Паршина Е.А. Эски-Керменская базилика // Архитектурно-археологические исследования в Крыму. Киев, 1988.
Петровский В.А. Скальная часовня в районе Баклы // Проблемы истории и археологии Крыма. Симферополь, 1994.
Петровский В.А., Труфанов А.А. Средневековый христианский комплекс к западу от Баклы по материалам раскопок 1993—1994 гг. // Проблемы археологии древнего и средневекового Крыма. Симферополь, 1995.
Пещерный монастырь Чильтер. Архив БГИКЗ. Д. 15/28.
Полевой В.М. Искусство Греции. Средние Века. М., 1973.
Покровский Н.В. Церковная археология в связи с историей христианского искусства. Пд., 1916.
Попов А.И. Вторая учебная экскурсия Симферопольской мужской гимназии в Бахчисарай. Симферополь, 1888.
Православные русские обители. М., 1994.
Протасов Н.Д. Алтарные преграды в пещерных храмах Апулии // Светильник, 1915. № 9—12.
Протоколы заседаний ТУАК // ИТУАК. 1889 № 8.
Протоколы заседаний ТУАК// ИТУАК. 1912№ 47.
Протопопов М. Чуфут-Кале, Тепе-Кермен, монастырь св. Анастасии и Качи-Кальен близ Бахчисарая. Севастополь, 1905а.
Протопопов М. Инкерман близ Севастополя. Севастополь, 1905б.
Прохоров Г.М. Исихазм и общественная мысль в Восточной Европе в XIV в. // Литературные связи древних славян. Труды отдела древнерусской литературы. Л., 1968. Т. 23.
Равдоникас В.И. Пещерные горда Крыма и готская проблема в связи со стадиальным развитием Северного Причерноморья // ИГАИМК. Л., 1932. Т. 12. Вып. 1—8.
Репников Н.И. Эски-Кермен в свете археологических разведок 1928—1929 гг. // ИГАИМК. Л., 1932а. Т. 12. Вып. 1—8.
Репников Н.И. Остатки укреплений Эски-Кермена // ИГАИМК. Л., 19326. Т. 12. Вып. 1—8.
Репников Н.И. Раскопки Эски-Керменского могильника // ИГАИМК. Л., 1932в. Т. 12. Вып. 1—8.
Репников Н.И. Подъемная дорога Эски-Кермен // МЭКЭ. ИГАИМК. М.: Л., 1935а. Вып. 117.
Репников Н.И. Городище Качи-Кальен // МЭКЭ. ИГАИМК. М.: Л., 1935б. Вып. 117.
Репников Н.И. Материалы к археологической карте юго-западного нагорья Крыма // Архив ИИМК РАН. Ф. 10. Д. 1.
Репников Н.И., Рома А.Л. О датах базилик Крыма // Архив БГИКЗ. Д. 2/37.
Романчук А.И. Раскопки на Мангупе // АО 1973 г. М., 1974.
Романчук А.И. Херсонес XII—XIV вв.: историческая топография. Красноярск, 1986.
Романчук А.И. Западный загородный храм Херсонеса // ВВ. 1990. № 51.
Романчук А.И., Омелькова Л.А. Средневековое поселение на левом берегу реки Бельбек // Социальное развитие Византии. Свердловск, 1979.
Рудаков В.Е. Баклинский средневековый склеп с граффити // Античные традиции и византийские реалии. Свердловск, 1980.
Рудаков В.Е. Бакла — малый городской центр юго-западного Крыма // Античный и средневековый город. Свердловск, 1981.
Рудаков В.Е. Христианские памятники Баклы. Храмовый комплекс X—XIII вв. /Античная и средневековая идеология. Свердловск, 1984.
Савеля О.Я. Средневековое Загайтанское поселение в нижнем течении реки Черной в Крыму // Византия и народы Причерноморья и Средиземноморья в раннее средневековье: Тез. докл. Симферополь, 1994.
Сестренцевич-Богуш С. История о Таврии. Спб., 1806. Т. I.
Соколов И. Состояние монашества в византийской церкви с половины IX до начала XIII века. Казань, 1894.
Соломоник Э.И. Новые греческие лапидарные надписи средневекового Крыма // Византийская Таврика. Киев, 1991.
Соломоник Э.И. Несколько новых греческих надписей средневекового Крыма // ВВ. 1986. № 47.
Сосногорова М. Путеводитель по Крыму. Одесса, 1880.
Ставровский Я.Ф. Горный Крым и Керченский полуостров // Россия. Полное географическое описание. Спб., 1910. Т. 14.
Степаненко В.П. Легенда о Таврах и Херсонес в русской и советской историографии // Историография балканского средневековья. Тверь, 1990.
Струков Д.М. Древние памятники христианства в Тавриде. М., 1876.
Струков Д.М.О доисторических памятниках Тавриды. М., 1879.
Сумароков П. Путешествие по Крыму и Бессарабии. М., 1800.
Сумароков П. Досуги крымского судьи, или Второе путешествие в Тавриду. Спб., 1803. Ч. 1.
Сумароков П. Досуги крымского судьи, или Второе путешествие в Тавриду. Спб., 1805. Ч. 2.
Талис Д.Л. Некоторые проблемы истории раннесредневековой Таврики и литература последних лет // ВВ. 1961. № 19.
Талис Д.Л. Раскопки Баклинского городища в 1961—1965 гг. // КСИА АН СССР. 1969. № 129.
Талис Д.Л. Позднесредневековая керамика Тепе-Кермена // История и культура Восточной Европы по археологическим данным. М., 1971.
Талис Д.Л. Оборонительные сооружения юго-западной Таврики как исторический источник // Археологические исследования на юге Восточной Европы. М., 1974.
Талис Д.Л. Городище Тепе-Кермен // КСИААН СССР. 1977. № 148.
Талис Д.Л. Материалы по экономической и социальной истории юго-западного Крыма (цитадель Баклинского городища) // Античный и средневековый город. Свердловск, 1981.
Тиханова М.А. Базилика. МИА. М.: Л., 1953. № 34.
Толстой И., Кондаков Н. Русские древности в памятниках искусства. Спб., 1891. Вып. 4.
Тунманн. Крымское ханство. Симферополь, 1991.
Филиппенко В.Ф.К истории Инкерманского пещерного монастыря (первый этап существования) // История и археология юго-западного Крыма. Симферополь, 1993.
Удальцова З.В. Византийская культура. М., 1988.
Чанева-Дечевска Н. Цьрковната архитектура в България през XI—XIV век. София, 1988.
Чепелев В.Н. Пещерный храм в Инкермане // Труды этнографо-археологического музея 1 МГУ. М., 1927. Вып. 1.
Чореф М.Я. Отчет об археологических работах на Чуфут-Кале в 1972 г. // Архив БГИКЗ. Д. 18.
Шавшин В.Г. Балаклава. Симферополь, 1994.
Шишкина О. Заметки и воспоминания русской путешественницы по России в 1845 г. Спб., 1848.
Шмит Ф.И. Эски-Керменская базилика // ИГАИМК. Л., 1932. Т. 12. Вып. 1—8.
Эрнст Н.Л. Эски-Кермен и пещерные города Крыма // ИТОИАЭ. Симферополь, 1929. Т. 3.
Якобсон А.Л. Из истории средневековой архитектуры в Крыму. Мангупская базилика // СА. 1940. № VI.
Якобсон А.Л. Средневековый Херсонес // МИА. М.: Л., 1950. № 17.
Якобсон А.Л. Раннесредневековый Херсонес // МИА. М.: Л., 1959. № 63.
Якобсон А.Л. Средневековый Крым. М.: Л., 1964.
Якобсон А.Л. Раннесредневековые сельские поселения в юго-западной Таврики // МИА. М., 1970. № 168.
Якобсон А.Л. Закономерность в развитии раннесредневековой архитектуры. Л., 1983.
Якобсон А.Л. Византийское зодчество эпохи Палеологов // Культура Византии. XIII первая половина XV в. М., 1991.
Яшаева Т.Ю. Пещерный комплекс в округе Херсонеса // Проблемы истории и археологии Крыма. Симферополь, 1994а.
Яшаева Т.Ю. Раскопки пещерного комплекса у мыса Виноградный // Археологические исследования в Крыму. 1993 год. Симферополь, 1994б.
Яшаева Т.Ю. Раскопки позднесредневекового христианского скита на мысе Виноградный // Проблемы археологии древнего и средневекового Крыма. Симферополь, 1995.
Bryer A., Winfield D. The byzantine monuments and topography of the Pontos. Washington. 1985.
Chiriac C. Un monument inedit: complexul rupestru de la dumbravem Pontika. 1988—1989. № 20—22.
Delvoye C. L’architecturebyzatine au XIe siecle // Proceedings of the XlIIth international congress of Byzatine Studies. London: Oxford university press, 1967.
Dirimtekin T. Les monasteres et les Eglises Rupestres dans la region dincegiz // Turk arkeoloji dergisi. Ancara. Maarif Basimevi, 1957.
Dubois de Mоntpereux. Voyage autour du Caucasse, ches les Tcherkessus et les Abhases, en Colchida en Géorgie en Armenia et en Crimee. Paris. 1843. V. VI.
Garai-Olaun A. Argueologia cristiana de la Antiguedad Tardia en Alava Guipuzcoa y Vizcaya. Vitoria-Gasteiz. 1988.
Grégoire H. Rapport sur un voyage d exploration dans le Pont ei en Cappadoce//BCH. 1909, t. 33
Jerphanion G. Une nouvelle province de l’art byzantin. Les eglises rupestres de Cappadoce (2 vol. in 4 parts). Paris. 1925: 1932: 1936: 1942.
Jolivet Levy C Les Eglises Byzantines de Cappadoce. Paris, 1991.
Epstein A. The «iconoclast» churches of Cappadocia // Iconoclasm. Birmingham. 1977.
Epstein A. Tokali Kilise. Tenth-century metropolitan art in Byzantine Cappadocia. Washington: Dumbarton oaks. 1986.
Mercati S. Diegesis les poleos Theodoru versi di Matteo ieromonaho // Studi Byzantini. 1927. T. 2.
Millet G. Les iconoclastes et la croix. A propos d’une inscription de Cappadoce // BCH. 1910, t. 34.
Ozsait M., Sodini J-p. Sarcophages a colonnes et eglise byzantine dans la region de Neapolis de pisidie // Revue Arceologique. Paris, 1991.
Teteriatnikov N. Burial place Cappadocian churches //The Greek Orthodox Theological Review. 1984. V. 29. № 2.
Teteriatnikov N. The frescos of the chapel of St. Basil in Cappadocia //Cahiers Archéologique. 1992.
Thierry M., Thierry N. Nouvelles eglises rupestres de Cappadoce. Paris, 1963.
Thierry N. Du paganisme du christianisme // Dossiers histoire et archeologie. 1987. № 121.
Rodley L. Cave monasteries of Byzantine Cappadocia. London, 1985.
Vasiliev A. The Goths in the Crimea. Cambridge Mass., 1936.
Список сокращений
АДСН — Античная древность и средние века. Свердловск
АИСК — Археологические исследован ия средневекового Крыма
АО — Археологические открытия
АП — Археологічні пам’ятки України
БАН — Българската Академия на науките
БГИКЗ — Бахчисарайский государственный историко-культурный заповедник. До 1.01.1991 г. — Бахчисарайский историко-архитектурный музей
БИАМ — Бахчисарайский историко-архитектурный музей
ВВ — Византийский временник
ГИМ — Государственный исторический музей. Москва
ЖМНП Журнал министерства народного просвещения
ЖМПС — Журнал министерства путей сообщения
ЗКОЕЛП — Записки Крымского общества естество испытателей и любителей природы. Симферополь
ЗООИД — Записки Одесского общества истории и древностей
ИАИ — Известия на Археологический институт. София
ИАК — Известия Археологической комиссии
ИАСК — История и археология средневекового Крыма
ИБИД — Известия на българското историческо дружество. София
ИГАИМК — Известия Государственной академии истории материальной культуры
ИИМК — Институт истории материальной культуры Российской АН
ИРАИМК — Известия Российской Академии истории материальной культуры
ИНМВ — Известие на народния музей Варны
ИТОИАЭ — Известия Таврического общества истории, археологии и этнографии. Симферополь.
ИТУАК — Известия Таврической ученой архивной комиссии. Симферополь
ЗИАН — Записки Императорской Академии наук
КСИА — Краткие сообщения Института археологии АН СССР
КСИИМК — Краткие сообщения Института истории материальной культуры
КРКМ — Крымский республиканский краеведческий музей
ЛОИА — Ленинградское отделение Института археологии АН СССР. С 1991 г. Институт истории материальной культуры
МАИЭТ — Материалы по археологии истории и этнографии Таврии
МГУ — Московский государственный университет
МИА — Материалы и исследования по археологии СССР
ОАК — Отчет Археологической комиссии
ОАК ИА АН УССР — Отдел археологии Крыма Института археологии АН УССР
СА — Советская археология
САИ — Свод археологических источников
СГУ — Симферопольский государственный университет (им. М.В. Фрунзе)
УрГУ — Уральский госуниверситет.
BCH — Bulletin de Correspondans Hellenique.
Иллюстрации
(кликните на картинку для увеличения)
- Рис. 1. Карта-схема расположения «пещерных городов». 1. Бакла. 2. Чуфут-Кале. 3. Успенский монастырь. 4.Тепе-Кермен. 5. Кыз-Кермен. 6. Качи-Кальен. 7. Сюреньская крепость 8. Челтер-Коба. 9. Мангуп. 10. Шулдан. 11. Челтер-Мармара. 12. Эски-Кермен. 13. Инкерман
- Рис. 2. Монастырь св. Климента по Дюбуа де Монпере
- Рис. 3. Скит в Георгиевской балке по Дюбуа де Монпере
- Рис. 4. Пещерные церкви по Д. Струкову. 1—2. Часовня в монастыре св. Климента. 3—4. «Армянский» храм. 5. Церковь в углу Монастырской скалы. 6. Храм в Георгиевской балке. 7. Храм Евграфия 8. «Храм с крещальней». 9. Базилика св. Георгия
- Рис. 5. Пещерные церкви по Д. Струкову. 1. Тепе-Кермен, «храм с баптистерием». 2. Мангуп, «Гарнизонная церковь». 3. Шулдан, Главный храм
- Рис. 6. Монастырь св. Климента по А. Бертье-Делагарду
- Рис. 7. Монастырь св. Софии по А. Бертье-Делагарду
- Рис 8. Пещерные церкви по А. Бертье-Делагарду. 1. «Армянский храм». 2. Храм св. Евграфия
- Рис. 9. Пещерные церкви по А. Бертье-Делагарду. 1. «Храм с крещальней». 2. Предполагаемая церковь в комплексе «Анфилады»
- Рис. 10. Пещерные церкви по А. Бертье-Делагарду. 1. Комплекс в Троицкой балке. 2. Комплекс в Георгиевской балке
- Рис. 11. Пещерные церкви по А. Бертье-Делагарду. 1. Челтер-Мармара. «Большой храм». 2. Храм «Вознесения»
- Рис. 12. Пещерные церкви по А. Бертье-Делагарду. 1. Шулдан, Главный храм. 2. Челтер-Мармара церковь в 4-м ярусе
- Рис. 13. Пещерные церкви по А. Бертье-Делагарду. 1. Церковь у ст. Инкерман-I. 2. Шулдан, Малый храм
- Рис. 14. План Инкермана по материалам инкерманской экспедиции 1937 г.
- Рис. 15. Схема фасадов пещер по материалам Инкерманской экспедиции
- Рис. 16. Схема фасадов пещер по материалам Инкерманской экспедиции
- Рис. 17. Планы пещер Инкермана по материалам Инкерманской экспедиции
- Рис. 18. Храм «Вознесения» по материалам И нкерманской экспедиции
- Рис. 19. Инкерман. Монастырь св. Софии по материалам Инкерманской экспедиции
- Рис. 20. Инкерман. Храм св. Евграфия по материалам Инкерманской экспедиции
- Рис. 21. «Храм с крещальней» по материалам Инкерманской экспедиции
- Рис. 22. Инкерман. Монастырь св. Климента по материалам инкерманской экспедиции
- Рис. 23. Пещерные церкви по В. Филиппенко. 1. Монастырь св. Климента. 2. Монастырь св. Софии
- Рис. 24. Пещерные церкви по В. Филиппенко. Монастырь св. Климента. 1. Часовня. 2. Храм Мартина
- Рис. 25. Инкерман. Базилика св. Георгия по В Филиппенко
- Рис. 26. Пещерные церкви по В. Филиппенко. 1. Храм Евграфия. 2. Храм скрещальней
- Рис. 27. План-схема расположения пещерных церквей в Инкермане. 1. Скит в Георгиевской балке. 2. Скит у ст. Инкерман-I. 3. Монастырь св. Софии. 4. «Армянский храм». 5. Монастырь св. Климента. 6. «Жилище архимандрита». 7. «Храм с крещальней». 8. Предполагаемая церковь в комплексе «Анфилады». 9. Храм св. Евграфия. 10—11. Монастырь на юго-западном краю Загайтанской скалы. 12—14. Монастырь в восточной части Загайтанской скалы. 15. Церковь в крепостном рву Каламиты
- Рис 28. Вид на монастырь св. Климента
- Рис. 29. Инкерман. Базилика св. Георгия. Рельефный крест в конхе апсиды
- Рис. 30. Инкерман. «Жилище архимандрита»
- Рис. 31. Инкерман. «Жилище архимандрита». План
- Рис. 32. Инкерман. «Жилище архимандрита». Разрез I—I
- Рис. 33. Инкерман. «Жилище архимандрита». Разрез II—II
- Рис. 34. Инкерман. «Жилище архимандрита». Разрез III—III
- Рис. 35. Инкерман. Монастырская скала. Вид на «храм с крещальней»
- Рис. 36. Инкерман. Предполагаемая церковь в комплексе «Анфилады». План
- Рис. 37. Инкерман. Предполагаемая церковь в комплексе «Анфилады». Разрез I—I
- Рис. 38. Инкерман. Предполагаемая церковь в комплексе «Анфилады». Разрез II—II
- Рис. 39. Инкерман. Предполагаемая церковь в комплексе «Анфилады». Разрез III—III
- Рис. 40. Инкерман. «Армянский храм». Общий вид
- Рис. 41. Инкерман. «Армянский храм». План. Разрезы
- Рис. 42. Инкерман. «Церковь в Каламите». 1. План расположения. 2. Крест, вырубленный на простенке
- Рис. 43. Инкерман. «Церковь в Каламите». Общий вид
- Рис. 44. Инкерман. «Церковь в Каламите». План
- Рис. 45. Инкерман. «Церковь в Каламите». Разрез І-І
- Рис. 46. Инкерман. «Церковь в Каламите». Разрез II—II
- Рис. 47. Инкерман. «Церковь в Каламите». Разрез III—III
- Рис. 48. Инкерман. «Церковь в Каламите». Разрез IV—IV
- Рис. 49. Инкерман. Храм св. Евграфия по Вейзену (нач. XX в). Архив КРКМ. Д. 8776
- Рис. 50. Инкерман. План-схема расположения пещерных церквей на Загайтанской скале. № 1, 2… номера церквей
- Рис. 51. Инкерман. Загайтанская скала. Церковь № 2. План
- Рис. 52. Инкерман. Загайтанская скала. Церковь № 2. Разрез I—I
- Рис. 53. Инкерман. Загайтанская скала. Церковь № 2. Разрез II—II
- Рис. 54. Инкерман. Загайтанская скала. Церковь № 3. Общий вид
- Рис. 55. Инкерман. Загайтанская скала. Церковь № 3. План. Разрезы
- Рис. 56. Инкерман. Загайтанская скала. Церковь № 43. План
- Рис. 57. Инкерман. Загайтанская скала. Церковь № 4. Разрез I—I
- Рис. 58. Инкерман. Загайтанская скала. Церковь № 4. Разрез II—II
- Рис. 59. Инкерман. Загайтанская скала. Церковь № 4. Разрез III—III
- Рис. 60. Инкерман. Загайтанская скала. Церковь № 4. Алтарь
- Рис. 6l. Инкерман. Загайтанская скала. Церковь № 5. План
- Рис. 62. Инкерман. Загайтанская скала. Церковь № 5. Разрез I—I
- Рис. 63. Инкерман. Загайтанская скала. Церковь№ 5. Разрез II—II
- Рис. 64. Инкерман. Загайтанская скала. Церковь № 5. Разрезы III—III и IV—IV
- Рис. 65. Инкерман. Загайтанская скала. Церковь № 5. Разрезы V—V и VI—VI
- Рис. 66. Инкєрман. Загайтанская скала. Церковь № 5. Разрез VII—VII и VIII—VIII
- Рис. 67. Инкерман. Загайтанская скала. Церковь № 5. Разрез IX—IX
- Рис. 68. Инкерман. Загайтанская скала. Церковь № 5. Фрагменты креста и греческой надписи
- Рис. 69. Инкерман. Загайтанская скала. Церковь № 5. Общий вид
- Рис. 70. Инкерман. Загайтанская скала. Церковь № 5. Общий вид
- Рис. 71. Инкерман. Загайтанская скала. Церковь № 6. План
- Рис. 72. Инкерман. Загайтанская скала. Церковь № 6. Разрезы I—I
- Рис. 73. Инкерман. Загайтанская скала. Церковь № 6. Разрез II—II
- Рис. 74. Инкерман. Загайтанская скала. Церковь № 6. Разрез III—III
- Рис. 75. Инкерман. Загайтанская скала. Церковь № 6. Общий вид
- Рис. 76. Инкерман. Загайтанская скала. Церковь № 7. План
- Рис. 77. Инкерман. Загайтанская скала. Церковь № 7. Разрез I—I
- Рис. 78. Инкерман. Загайтанская скала. Церковь№ 7. Разрез II—II
- Рис. 79. Инкерман. Загайтанская скала. Церковь № 7. Разрез III—III. 3—6 — кресты настенах церкви
- Рис. 80. Инкерман. Загайтанская скала. Церковь № 7. Кресты, граффити
- Рис. 81. Инкерман. Загайтанская скала. Церковь № 8. План
- Рис. 82. Инкерман. Загайтанская скала. Церковь № 8. Разрезы I—I и II—II
- Рис. 83. Инкерман. Загайтанская скала. Церковь№ 8. Разрез III—III
- Рис. 84. Инкерман. Загайтанская скала. Церковь № 9. Общий вид
- Рис. 85. Инкерман. Загайтанская скала. Церковь № 9. План
- Рис. 86. Инкерман. Загайтанская скала. Церковь № 9. Разрез I—I
- Рис. 87. Инкерман. Загайтанская скала. Церковь № 9. Разрез II—II
- Рис. 88. Инкерман. Загайтанская скала. Церковь № 9. Разрез III—III
- Рис. 89. Инкерман. Загайтанская скала. Церковь№ 10. План
- Рис. 90. Инкерман. Загайтанская скала. Церковь № 10. Разрез I—I
- Рис. 91. Инкерман Загайтанская скала Церковь № 10. Разрез II—II
- Рис. 92. Инкерман. Загайтанская скала. Церковь № 11. План
- Рис. 93. Инкерман. Загайтанская скала. Церковь № 11. Разрез I—I
- Рис. 94. Инкерман. Загайтанская скала. Церковь№ 11. Разрез II—II
- Рис. 95. Инкерман. Загайтанская скала. Церковь № 11. Разрез III—III
- Рис. 96. Инкерман. Монастырь св. Софии. План церквей № 1—3
- Рис. 97. Инкерман. Монастырь св. Софии. Общий вид
- Рис. 98. Инкерман. Монастырь св. Софии. Церковь № 1. Разрез Q—R
- Рис. 99. Инкерман. Монастырь св. Софии. Церковь № 1. Разрез R—Q
- Рис. 100. Инкерман. Монастырь св. Софии. Церковь № 1. Разрезы
- Рис. 101. Инкерман. Монастырь св. Софии. Церковь № 1. Западная стена
- Рис. 102. Инкерман. Монастырь св. Софии. Церковь № 2. Разрезы M—N и N—M. Церковь № 3. Разрез F—E и E—F
- Рис. 103. Инкерман. Монастырь св. Софии. Церковь № 3. Разрезы
- Рис. 104. Инкерман. Монастырь св. Софии. Церковь № 3. Кресты-граффити
- Рис. 105. Инкерман. Монастырь св. Софии. Церковь № 3. Карниз
- Рис. 106. Инкерман. Монастырь св. Софии. Церковь № 4. План. Разрез I—I
- Рис. 107. Инкерман. Монастырь св. Софии. Церковь № 4. Разрезы
- Рис. 108. Инкерман. Монастырь св. Софии. Церковь № 4. Крест
- Рис. 109. Инкерман Церковь у станции Инкерман-І
- Рис. 110. Инкерман. Церковь у станции Инкерман-І. Разрез I—I
- Рис. 111. Инкерман. Церковь у станции Инкерман-I. Разрез II—II
- Рис. 112. Инкерман. Церковь у станции Инкерман-І. Разрез III—III
- Рис. 113. Инкерман. Остатки скита в Георгиевской балке
- Рис. 114. Челтер-Мармара. План расположения пещерных сооружении по Е. Веймарну
- Рис. 115. Челтер-Мармара. Главный храм по Е. Веймарну. План. Разрезы
- Рис. 116. Челтер-Мармара. Пещерные сооружения по Е. Веймарну
- Рис. 117. Челтер-Мармара. Пещерные сооружения по Е. Веймарну
- Рис. 118. Челтер-Мармара. Пещерная часовня в 5-м ярусе по Е. Веймарну
- Рис. 119. Челтер-Мармара. Пещерные сооружения по Е. Веймарну (Архив БГИКЗ. Д. 15/28)
- Рис. 120. Челтер-Мармара. Пещерные сооружения по Е. Веймарну
- Рис. 121. Челтер-Мармара. Пещерные сооружения по Е. Веймарну. (Архив БГИКЗ. Д. 15/28)
- Рис. 122. Челтер-Мармара. Пещерные сооружения по Е. Веймарну. (Архив БГИКЗ. Д. 15/28)
- Рис. 123. Челтер-Мармара. Общий вид
- Рис. 124. Челтер-Мармара. Большой храм. План
- Рис. 125. Челтер-Мармара. Большой храм. Разрезы Б—А и В—Г
- Рис. 126. Челтер-Мармара. Большой храм. Разрез А—Б
- Рис. 127. Челтер-Мармара. Большой храм. Вид на алтарную часть
- Рис. 128. Челтер-Мармара. Большой храм. Западная часть
- Рис. 129. Челтер-Мармара. Большой храм. Скамья и могилы у северной стены
- Рис. 130. Челтер-Мармара. Церковь № 2. План. Разрезы
- Рис. 131. Челтер-Мармара. Церковь № 2. Крест на внешней стороне южной стены
- Рис. 132. Челтер-Мармара. Церковь № 2. Юго-западная часть
- Рис. 133. Челтер-Мармара. Церковь № 2. Западная часть
- Рис. 134. Челтер-Мармара. Церковь № 3. План. Разрезы
- Рис. 135. Челтер-Мармара. Церковь № 3. Алтарная часть
- Рис. 136. Челтер-Мармара. Церковь № 3. Алтарная часть, ниша и фрагменты греческой надписи
- Рис. 137. Челтер-Мармара. Церковь № 4. План. Разрезы
- Рис. 138. Челтер-Мармара Церковь № 4. Алтарная часть
- Рис. 139. Шулдан. План и разрезы по В. Бабенчикову
- Рис. 140. Шулдан. Храм № 1. План
- Рис. 141. Шулдан. Храм № 1. Остатки первоначальной крещальни
- Рис. 142. Шулдан. Храм № 1. Разрезы
- Рис. 143. Шулдан. Храм № 1. Разрезы
- Рис. 144. Шулдан. Храм№ 1. Разрезы
- Рис. 145. Шулдан. Храм № 1. Алтарная часть
- Рис. 146. Шулдан. Храм № 1. Алтарная часть
- Рис. 147. Шулдан. Храм № 1. Западная стена
- Рис. 148. Шулдан. Храм № 1. Могилы на южной площадке
- Рис. 149. Шулдан. Храм № 1. Юго-западная часть
- Рис. 150. Шулдан. Храм № 1. Часовня
- Рис. 151. Шулдан. Храм № 1. Купель
- Рис. 152. Шулдан. Храм № 1. Крещальня. Юго-восточная часть
- Рис. 153. Шулдан. Храм№ 2. План. Разрезы
- Рис. 154. Шулдан. Храм № 2. Алтарная часть
- Рис. 155. Эски-Кермен. План городища
- Рис. 156. План округи Эски-Кермена
- Рис. 157. Эски-Кермен. План «Судилища» по Г. Караулову
- Рис. 158. Эски-Кермен, «Судилище». Рисунок северо-восточной части по Г. Караулову
- Рис. 159. Эски-Кермен. «Судилище». Рисунок алтарной части по Г. Караулову
- Рис. 160. Эски-Кермен. «Судилище». Рисунок часовни но Г. Караулову
- Рис. 161. Эски-Кермен. Планы пещерных церквей по Н. Эрнсту
- Рис. 162. Эски-Кермен. План подъемной дороги и главных ворот по Н. Репникову. 1, 2 — наземные часовни. 3. «Большой пещерный храм». 4. «Храм у городских ворот»
- Рис. 163. Эски-Кермен. «Большой пещерный храм». План. Разрезы
- Рис. 164. Эски-Кермен. «Большой пещерный храм». Общий вид
- Рис. 165. Эски-Кермен «Большой пещерный храм». Алтарная часть
- Рис. 166. Эски-Кермен. «Большой пещерный храм». Северо-восточная часть
- Рис. 167. Эски-Кермен. «Храм у городских ворог». План. Разрезы
- Рис. 168. Эски-Кермен. «Храм у городских ворот». Разрезы
- Рис. 169. Эски-Кермен. «Храм у городских ворот». Гравюра из неизданного альбома Л.С. Уварова
- Рис. 170. Эски-Кермен. «Храм у городских ворот». Алтарь
- Рис. 171. Эски-Кермен. «Храм у городских ворот». Южная часть
- Рис. 172. Эски-Кермен. Таблица сочетания циклов вещей из усыпальниц в районе подъемной дороги. Датировки А. Айбабина (1991. с. 46—17)
- Рис. 173. Эски-Кермен. «Судилище». План по А. Бертье-Делагарду (Архив КРКМ. Д. 8776)
- Рис. 174. Эски-Кермен. Усыпальницы под «Судилищем» по А. Бертье-Делагарду (Архив КРКМ. Д. 8776)
- Рис. 175. Эски-Кермен. «Судилище». План
- Рис. 176. Эски-Кермен. «Судилище». Разрезы
- Рис. 177. Эски-Кермен. «Судилище». Обший вид
- Рис. 178. Эски-Кермен. «Судилище». Гравюра и в неизданного альбома А.С. Уварова
- Рис. 179. Эски-Кермен. «Судилище». Алтарь
- Рис. 180. Эски-Кермен. «Судилище». Северная часть
- Рис. 181. Эски-Кермен. «Судилище». Баптистерий
- Рис. 182. Эски-Кермен. «Судилище». Могилы в полу северной части
- Рис. 183. Эски-Кермен. «Судилище». Южная часть
- Рис. 184. Эски-Кермен. «Судилище». Часовня
- Рис. 185. Эски-Кермен. Церковь «Успения». План. Разрезы
- Рис. 186. Эски-Кермен. Церковь «Успения». Алтарь
- Рис. 187. Эски-Кермен. Церковь «Успения». Тарапан
- Рис. 188. Эски-Кермен. Церковь «Успения». Фрагменты росписей по В. Чепелеву (1926 г.)
- Рис. 189. Эски-Кермен. Церковь «Успения». Фрагменты росписей по О. Домбровскому. 2. Композиция фрески Крещения (потолок)
- Рис. 189. Эски-Кермен. Церковь «Успения». Фрагменты росписей по О. Домбровскому. 1. Схема росписей северо-восточной стены 3. Композиция фрески успения
- Рис. 190. Эски-Кермен. Храм «Трех всадников». План
- Рис. 191. Эски-Кермен. Храм «Трех всадников». Разрез А—В
- Рис. 192. Эски-Кермен. Храм «Трех всадников». Разрезы С—Д и М—Н
- Рис. 193. Эски-Кермен. Храм «Трех всадников». Из неизданного альбома А.С. Уварова
- Рис. 194. Эски-Кермен. Храм «Трех всадников». Северная стена
- Рис. 195. Эски-Кермен. Храм «Трех всадников». Алтарь
- Рис. 196. Эски-Кермен. Храм «Трех всадников». Прорись фрески по О. Домбровскому
- Рис. 197. Эски-Кермен. Место расположения храма «Донаторов»
- Рис. 198. Эски-Кермен. Храм «Донаторов». План
- Рис. 199. Эски-Кермен. Храм «Донаторов». Разрез А-Б
- Рис. 200. Эски-Кермен. Храм «Донаторов». Разрез Г-В
- Рис. 201. Эски-Кермен. Храм «Донаторов». Разрез В-Г
- Рис. 202. Эски-Кермен. Храм «Донаторов». Алтарь
- Рис. 203. Эски-Кермен. Храм «Донаторов». Юго-восточная часть
- Рис. 204. Эски-Кермен. Храм «Донаторов». Северо-западная часть
- Рис. 205. Эски-Кермен. Храм «Донаторов». Росписи на северной стене
- Рис. 206. Эски-Кермен. Храм «Донаторов». Фрагменты росписей
- Рис. 207. Эски-Кермен. Храм «Донаторов». Вход
- Рис. 208. Эски-Кермен. Храм «Донаторов». Фрагменты росписей по О. Домбровскому. 1. Росписи алтаря. 2—3. Росписи стены и плафона
- Рис. 209. Эски-Кермен. Храм «Донаторов». Фрагменты росписей по О. Домбровскому
- Рис. 210. Мангуп. План. 1. Пещерный монастырь на оконечности мыса Тешкли-бурун. 2. «Гарнизонная» церковь. 3. Помещение в обрыве Тешкли-буруна. 4. Церковь на «площадке со склепами». 5. Юго-восточный монастырь. 6. Южный монастырь. 7. Алтарь в карстовой пещере. 8. Монастырь в Табан-Дере
- Рис. 211. Окрестности Мангупа. 1. Церковь в Кильсе-Дере
- Рис. 212. Мангуп. «Гарнизонная» церковь. Ситуационный план
- Рис. 213. Мангуп. «Гарнизонная» церковь. План
- Рис. 214. Мангуп. «Гарнизонная» церковь. Разрезы А-А и Г-Г
- Рис. 215. Мангуп. «Гарнизонная» церковь. Разрезы Б-Б и В-В
- Рис. 216. Мангуп. «Гарнизонная» церковь. Алтарная часть
- Рис. 217. Мангуп Монастырь на оконечности Тешкли-буруна по Дюбуа де Монпере. Вверху пещерный комплекс № 3. Внизу комплекс Барабан-Коба
- Рис. 218. Мангуп. Монастырь на оконечности Тешкли-буруна. Комплекс Барабан-Коба. План. Разрезы
- Рис. 219. Мангуп. Монастырь на оконечности Тешкли-буруна. Комплекс Барабан-Коба. Из неизданного альбома А.С. Уварова. 1853 г.
- Рис. 220. Мангуп. Монастырь на оконечности Тешкли-буруна. Комплекс Барабан-Коба. Келии
- Рис. 221. Мангуп. Монастырь на оконечности Тешкли-буруна. Пещерный комплекс № 2 по Е. Веймарну. Архив Бахчисарайского заповедника. Д. 15/16
- Рис. 222. Мангуп. Монастырь на оконечности Тешкли-буруна. Пещерный комплект № 2. Вход
- Рис. 223. Мангуп. Монастырь на оконечности Тешкли-буруна. Пещерный комплекс № 2. Западная стена
- Рис. 224. Мангуп. Монастырь на оконечности Тешкли-буруна. Пещерный комплекс № 3 по Е. Веймарну. Архив Бахчисарайского заповедника. Д. 15/16
- Рис. 225. Мангуп. Монастырь на оконечности Тешкли-буруна. Пещерный комплекс № 3. Центральное помещение
- Рис. 226. Мангуп. Пещерный монастырь на оконечности Тешкли-буруна. Пещерный комплекс № 3. Центральное помещение
- Рис. 227. Мангуп. Помещение в обрыве Тешкли-буруна. План. Разрезы
- Рис. 228. Мангуп. Церковь на площадке со склепами. План
- Рис. 229. Мангуп. Церковь на площадке со склепами. Разрезы
- Рис. 230. Мангуп. Церковь на площадке со склепами. Разрезы
- Рис. 231. Мангуп. Площадка со склепами
- Рис. 232. Мангуп. Церковь на площадке со склепами. Алтарь
- Рис. 233. Мангуп. Юго-восточный монастырь. План церкви
- Рис. 234. Мангуп. Юго-восточный монастырь. Церковь. Разрезы
- Рис. 235. Мангуп. Юго-восточный монастырь. Общий вид
- Рис. 236. Мангуп. Юго-восточный монастырь. Церковь. Алтарная часть
- Рис. 237. Мангуп. Юго-восточный монастырь Церковь. Апсида
- Рис. 238. Мангуп. Юго-восточный монастырь. Церковь. Западная стена
- Рис. 239. Мангуп. Алтарь в карстовой пещере. План
- Рис. 240. Мангуп. Южный монастырь по А. Бертье-Делагарду. Архив Крымского краеведческого музея. Д. 8770
- Рис. 241. Мангуп. Южный монастырь. План-схема
- Рис. 242. Мангуп. Южный монастырь. Церковь. План
- Рис. 243. Мангуп. Южный монастырь. Церковь. Разрез I—I
- Рис. 244. Мангуп. Южный монастырь. Церковь. Разрез II—II
- Рис. 245. Мангуп. Южный монастырь. Церковь. Разрез III—III
- Рис. 246. Мангуп. Южный монастырь. Церковь. Разрез IV—IV
- Рис. 247. Мангуп. Южный монастырь. Пещеры № 1,2. Планы, разрезы
- Рис. 248. Мангуп. Южный монастырь. Церковь. Лестница. Вход
- Рис. 249. Мангуп. Южный монастырь. Церковь. Общий вид
- Рис. 250. Мангуп. Южный монастырь. Церковь. Вид на апсиду
- Рис. 251. Мангуп. Южный монастырь. Церковь. Алтарная ниша и синтрон
- Рис. 252. Мангуп. Южный монастырь. Церковь. Западная стена
- Рис. 253. Мангуп. Южный монастырь. Церковь. Южная стена
- Рис. 254. Мангуп. Южный монастырь. Церковь. Южная стена. Карниз
- Рис. 255. Мангуп. Южный монастырь. Церковь. Детали росписей по О. Домбровскому (1966)
- Рис. 256. Мангуп. Южный монастырь. Западная часть. Вид на помещения № 1, 2
- Рис. 257. Мангуп. Южный монастырь. Разрушенные помещения № 3,4
- Рис. 258. Мангуп. Монастырь в Табана-Дере. По А. Бертье-Делагарду. Архив Крымского краеведческого музея. Д. 8770
- Рис. 259. Мангуп. Монастырь в Табана-Дере. План. Вверху — по первому ярусу. Внизу — по второму ярусу
- Рис. 260. Мангуп. Монастырь в Табана-Дере. Церковь. План
- Рис. 261. Мангуп. Монастырь в Табана-Дере. Церковь. Разрез I—I
- Рис. 262. Мангуп. Монастырь в Табана-Дере. Церковь. Разрез II—II
- Рис. 263. Мангуп. Монастырь в Табана-Дере. Церковь. Разрез III—III
- Рис. 264. Мангуп. Монастырь в Табана-Дере. Церковь. Разрез IV—IV
- Рис. 265. Мангуп. Монастырь в Табана-Дере. Надпись по Ю.С. Воронину
- Рис. 266. Мангуп. Монастырь в Табана-Дере. Помещения № 1,4. План. Разрезы
- Рис. 267. Мангуп. Мона стырь в Табана-Дере. Помещения№ 3, 5. План. Разрезы
- Рис. 268. Мангуп. Монастырь в Табана-Дере. Помещения № 2, 6. План. Разрезы
- Рис. 269. Мангуп. Монастырь в Табана-Дере. Церковь. Апсида
- Рис. 270. Мангуп. Монастырь в Табана-Дере. Апсида. Остатки алтарной преграды
- Рис. 271. Мангуп. Монастырь в Табана-Дере. Помещение № 1. Ниша
- Рис. 272. Мангуп. Монастырь в Табана-Дере. Помещение № 2. Ниша
- Рис. 273. Мангуп. Церковь в Кильсе-Дере. План. Разрезы
- Рис. 274. Мангуп. Церковь в Кильсе-Дере. Алтарная часть
- Рис. 275. Мангуп. Церковь в Кильсе-Дере. Западная часть
- Рис. 276. Мангуп. Церковь в Кильсе-Дере. Орнамент южной стены
- Рис. 277. Мангуп. Южный монастырь. Храм. С рис. Вебеля, середина XIX в.
- Рис. 278. Мангуп. Южный монастырь. Храм. Фрески. С рис. Вебеля, середина XIX в.
- Рис. 279. Мангуп. Участок обрыва Мангупского плато в районе расположения юго-восточного монастыря. 1. Руины мечети Баязида Святого. 2. «Площадка со склепами». 3. Пещеры в обрыве у края площадки. 4. Пещера в обрыве ниже края площадки. 5. Пещера — укрытие для дозорного. 6. Пещерная церковь под обрывом
- Рис. 280. Мангуп. Мыс Тешкли-бурун. 1. Барабан-Коба. 2. Пещерные комплексы № 2—3 по Е. Веймарну. 3. «Гарнизонная» церковь. 4. Церковь в оконечности мыса. 5. Дорога, огибающая мыс. 6. Напольная оборонительная линия цитадели. 7. «Площадка со склепами». 8. Церковь под обрывом
- Рис. 281. Челтер-Коба. Планы-схемы расположения
- Рис. 282. Челтер-Коба. План церкви по Е. Веймарну и Н. Репникову
- Рис. 283. Челтер-Коба. Схема расположения помещении по В. Даниленко
- Рис. 284. Челтер-Коба. Помещения монастыря по В. Даниленко
- Рис. 285. Челтер-Коба Помещения монастыря по В. Даниленко
- Рис. 286. Челтер-Коба. Помещения монастыря по В. Даниленко
- Рис. 287. Челтер-Коба. Помещения монастыря по В. Даниленко
- Рис. 288. Челтер-Коба. Помещения монастыря по В. Даниленко
- Рис. 289. Челтер-Коба. Помещения монастыря по В. Даниленко
- Рис. 290. Челтер-Коба. Церковь. План
- Рис. 291. Челтер-Коба. Церковь. Разрез I—I
- Рис. 292. Челтер-Коба. Церковь. Разрез II—II
- Рис. 293. Челтер-Коба. Церковь. Разрез III—III
- Рис. 294. Челтер-Коба. Церковь. Алтарь
- Рис. 295. Челтер-Коба. Церковь. Баптистерий
- Рис. 296. Челтер-Коба. Церковь. Баптистерий
- Рис. 297. Челтер-Коба. Церковь. Остатки скамьи
- Рис. 298. Челтер-Коба. Церковь. Западная часть
- Рис. 299. Челтер-Коба. Церковь. Помещения монастыря
- Рис. 300. Качи-Кальен. Планы церквей по Н. Репникову
- Рис. 301. Качи-Кальен. Церковь св. Софии. Внешний вид
- Рис. 302. Качи-Кальен. Церковь св. Софии. План. Разрезы
- Рис. 303. Качи-Кальен. Церковь св. Софии. Разрезы
- Рис. 304. Качи-Кальен. Церковь св. Софии. Алтарь
- Рис. 305. Качи-Кальен. Церковь св. Софии. Западная часть
- Рис. 306. Качи-Кальен. Храм № 2. План
- Рис. 307. Качи-Кальен. Храм № 2. Алтарь
- Рис. 308. Качи-Кальен. Храм № 2. Могилы
- Рис. 309. Качи-Кальен. Третий грот. План. Разрезы
- Рис. 310. Качи-Кальен. Третин грот. Разрез В-В. Западная часть
- Рис. 311. Качи-Кальен. Третий грот. Разрез В-В. Восточная часть
- Рис. 312. Качи-Кальен. Третий грот. Разрез Д-Д
- Рис. 313. Качи-Кальен. Третий грот. Разрез Д-Д
- Рис. 314. Качи-Кальен. Храм № 3
- Рис. 315. Качи-Кальен. Храм № 4
- Рис. 316. Качи-Кальен. Усыпальницы пол храмом № 4
- Рис. 317. Качак-Кальен. Ниша с рельефным процветшим крестом
- Рис. 318. Тепе-Кермен. План городища. 1. Предполагаемая церковь. 2. «Церковь с ризницей». 3. «Церковь с баптистерием»
- Рис. 319. Тепе-Кермен. «Церковь с баптистерием» по Дюбуа де Монпере
- Рис. 320. Тепе-Кермен. Планы церквей по Н. Боровко
- Рис. 321. Тепе-Кермен. «Церковь с баптистерием». План
- Рис. 322. Тепе-Кермен. «Церковь с баптистерием». Разрезы
- Рис. 323. Тепе-Кермен «Церковь с баптистерием». Разрезы
- Рис. 324. Тепе-Кермен. «Церковь с баптистерием». С гравюры XIX в.
- Рис. 325. Тепе-Кермен. «Церковь с баптистерием». Вид на алтарь и западную стену
- Рис. 326. Тепе-Кермен. «Церковь с баптистерием». Алтарь. Вид с запада
- Рис. 327. Тепе-Кермен. «Церковь с баптистерием». Вид на алтарь и крещальню
- Рис. 328. Тепе-Кермен. «Церковь с баптистерием». Горнее место
- Рис. 329. Тепе-Кермен. «Церковь с баптистерием». Капители
- Рис. 330. Тепе-Кермен. «Церковь с баптистерием». Южная стена
- Рис. 331. Тепе-Кермен. «Церковь с баптистерием». Крещальня
- Рис. 332. Тепе-Кермен. «Церковь с баптистерием». Фрагменты надписи на южной стене
- Рис. 333. Тепе-Кермен. «Церковь с баптистерием». Монограмма на восточной стене крещальни
- Рис. 334. Тепе-Кермен. «Церковь с баптистерием». Могилы у входа
- Рис. 335. Тепе-Кермен. «Церковь с ризницей». План. Разрезы
- Рис. 336. Тепе-Кермен. «Церковь с ризницей». Алтарь
- Рис. 337. Тепе-Кермен. «Церковь с ризницей». Западная стена
- Рис. 338. Тепе-Кермен. «Церковь с ризницей». Южная и западная стены
- Рис. 339. Тепе-Кермен. «Церковь с ризницей». Надпись в апсиде
- Рис. 340. Тепе-Кермен. «Церковь с ризницей». Изображение на северной стене
- Рис. 341. Тепе-Кермен. Предполагаемая церковь. Общий вид
- Рис. 342. Тепе-Кермен. Предполагаемая церковь. Общий вид
- Рис. 343. Тепе-Кермен. Предполагаемая церковь. Ниши
- Рис. 344. Тепе-Кермен. Предполагаемая церковь. Надпись
- Рис. 345. Тепе-Кермен. Предполагаемая церковь. Фрагменты надписи. Прорись
- Рис. 346. Чуфут-Кале. Монастырь у Южных ворот. С открытки начала XX в.
- Рис. 347. Чуфут-Кале. Предполагаемая церковь. «Алтарь»
- Рис. 348. Чуфут-Кале. Предполагаемая церковь. «Алтарь»
- Рис. 349. Чуфут-Кале. Предполагаемая церковь. Остатки скамьи у южной стены
- Рис. 350. Успенский монастырь. С открытки начала XX в.
- Рис. 351. Успенский монастырь. С гравюры конца XVIII в.
- Рис. 352. Успенский монастырь. План церкви
- Рис. 353. 1. План расположения Баклы. 2. Ситуационный план расположения объектов в районе часовни по В. Петровскому
- Рис. 354. Бакла. Часовня. План и разрезы по В. Петровскому
- Рис. 354. Бакла. Часовня. План и разрезы по В. Петровскому
- Рис. 356. Георгиевский монастырь. Полупещерная церковь по Д. Струкову и А. Бертье-Делагарду







































































































































































































































































































































































